TOP
|
特許
|
意匠
|
商標
特許ウォッチ
Twitter
他の特許を見る
10個以上の画像は省略されています。
公開番号
2025139958
公報種別
公開特許公報(A)
公開日
2025-09-29
出願番号
2024039068
出願日
2024-03-13
発明の名称
静電チャック
出願人
TOTO株式会社
代理人
個人
,
個人
,
個人
,
個人
主分類
H01L
21/683 20060101AFI20250919BHJP(基本的電気素子)
要約
【課題】バイパス部と給電端子との間の短絡を防止することのできる静電チャック、を提供する。
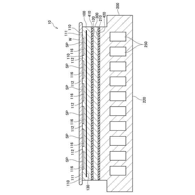
【解決手段】静電チャック10は、誘電体基板100と、誘電体基板100を加熱するヒーター300と、を備える。ヒーター300は、線状に引き回された導体であって、外部から電力の供給を受けて発熱する発熱部351と、発熱部351とは異なる高さ位置に設けられたバイパス層370と、バイパス層370に接合された給電端子390と、を有する。上面視において、発熱部351は、給電端子390と重なる領域D1を通らない経路に沿って引き回されている。
【選択図】図8
特許請求の範囲
【請求項1】
被吸着物が載置される載置面を有する誘電体基板と、
前記誘電体基板を加熱するヒーターと、を備え、
前記ヒーターは、
線状に引き回された導体であって、外部から電力の供給を受けて発熱する発熱部と、
前記発熱部とは異なる高さ位置に設けられたバイパス部と、
前記バイパス部に接合された給電端子と、を有し、
前記載置面に対し垂直な方向から見た場合において、
前記発熱部は、前記給電端子と重なる領域を通らない経路に沿って引き回されていることを特徴とする静電チャック。
続きを表示(約 670 文字)
【請求項2】
前記発熱部と前記バイパス部との間が電気的に接続されていることを特徴とする、請求項1に記載の静電チャック。
【請求項3】
前記発熱部は、
第1発熱部と、
前記第1発熱部とは異なる高さ位置に設けられた第2発熱部と、を含み、
前記バイパス部は、
前記第1発熱部に対し電気的に接続された第1バイパス部と、
前記第2発熱部に対し電気的に接続された第2バイパス部と、を含み、
前記給電端子は、
前記第1バイパス部に接合された第1給電端子と、
前記第2バイパス部に接合された第2給電端子と、を含み、
前記載置面に対し垂直な方向から見た場合において、
前記第1発熱部は、前記第2給電端子と重なる領域、を通らない経路に沿って引き回されていることを特徴とする、請求項1に記載の静電チャック。
【請求項4】
前記載置面に対し垂直な方向から見た場合において、
前記第2発熱部は、前記第1給電端子と重なる領域、を通らない経路に沿って引き回されていることを特徴とする、請求項3に記載の静電チャック。
【請求項5】
前記ヒーターは、
前記第1バイパス部と前記第1発熱部との間を電気的に接続する接続部、を更に有し、
前記載置面に対し垂直な方向から見た場合において、
前記第2発熱部は、前記接続部と重なる領域を通らない経路に沿って引き回されていることを特徴とする、請求項3に記載の静電チャック。
発明の詳細な説明
【技術分野】
【0001】
本発明は静電チャックに関する。
続きを表示(約 1,400 文字)
【背景技術】
【0002】
例えばエッチング装置等の半導体製造装置には、処理の対象となるシリコンウェハ等の基板を吸着し保持するための装置として、静電チャックが設けられる。静電チャックは、吸着電極が設けられた誘電体基板を有する。吸着電極に電圧が印加されると静電力が生じ、誘電体基板上に載置された基板が吸着され保持される。
【0003】
半導体製造装置において基板の処理が行われているときには、基板の面内温度分布が可能な限り均等となるよう温度調整を行う必要がある。高い精度での温度調整を可能とするために、近年ではヒーターを備えた静電チャックも開発され、既に実用化されている。下記特許文献1には、誘電体基板とベースプレートの間にヒーターを配置した構成の静電チャックが記載されている。
【先行技術文献】
【特許文献】
【0004】
特開2021-197485号公報
【発明の概要】
【発明が解決しようとする課題】
【0005】
本発明者らは、静電チャックに用いられるヒーターをユニット化することについて検討を進めてきた。ヒーターをユニット化するにあたっては、線状に引き回された導体である発熱部に加えて、バイパス部を設けておくことが好ましい。バイパス部は、外部から電力の供給を受ける給電端子が接合される部分である。バイパス部を設けることで、ヒーターにおける給電端子の配置の自由度を高めること等が可能となる。
【0006】
バイパス部と給電端子との間を、例えば抵抗スポット溶接等より接合する場合には、給電端子及びその近傍部分には熱が加えられる。このとき、給電端子の直上の領域を通る経路に沿って発熱部が引き回されていた場合には、発熱部とバイパス部との間に介在していた絶縁層が熱により破損し、両者の間が短絡してしまう可能性がある。その結果、予期せぬ経路に沿って電流が流れてしまい、誘電体基板の温度調整が適切には行われなくなってしまう可能性がある。
【0007】
本発明はこのような課題に鑑みてなされたものであり、その目的は、バイパス部と給電端子との間の短絡を防止することのできる静電チャック、を提供することにある。
【課題を解決するための手段】
【0008】
上記課題を解決するために、本発明に係る静電チャックは、被吸着物が載置される載置面を有する誘電体基板と、誘電体基板を加熱するヒーターと、を備える。ヒーターは、線状に引き回された導体であって、外部から電力の供給を受けて発熱する発熱部と、発熱部とは異なる高さ位置に設けられたバイパス部と、バイパス部に接合された給電端子と、を有する。載置面に対し垂直な方向から見た場合において、発熱部は、給電端子と重なる領域を通らない経路に沿って引き回されている。
【0009】
上記構成の静電チャックでは、ヒーターの発熱部が、上面視において給電端子と重なる領域、すなわち、給電端子の接合時において熱が加えられる領域、を通らない経路に沿って引き回されている。このため、バイパス部と給電端子との間で、接合時の熱による短絡が生じてしまうことが防止される。
【発明の効果】
【0010】
本発明によれば、バイパス部と給電端子との間の短絡を防止することのできる静電チャック、を提供することができる。
【図面の簡単な説明】
(【0011】以降は省略されています)
この特許をJ-PlatPat(特許庁公式サイト)で参照する
関連特許
TOTO株式会社
洗面器
28日前
TOTO株式会社
洗面器
28日前
TOTO株式会社
構造部材
22日前
TOTO株式会社
吐水装置
22日前
TOTO株式会社
吐水装置
22日前
TOTO株式会社
吐水装置
22日前
TOTO株式会社
水栓装置
1か月前
TOTO株式会社
水栓装置
1か月前
TOTO株式会社
水栓装置
1か月前
TOTO株式会社
水栓装置
1か月前
TOTO株式会社
水栓装置
1か月前
TOTO株式会社
水栓装置
1か月前
TOTO株式会社
水栓装置
1か月前
TOTO株式会社
水栓装置
1か月前
TOTO株式会社
水栓装置
1か月前
TOTO株式会社
構造部材
17日前
TOTO株式会社
構造部材
17日前
TOTO株式会社
複合材料
1か月前
TOTO株式会社
便器装置
1か月前
TOTO株式会社
構造部材
22日前
TOTO株式会社
トイレ装置
28日前
TOTO株式会社
トイレ装置
24日前
TOTO株式会社
水洗大便器
1か月前
TOTO株式会社
水洗大便器
21日前
TOTO株式会社
水洗大便器
21日前
TOTO株式会社
水洗大便器
21日前
TOTO株式会社
水洗大便器
21日前
TOTO株式会社
浴室システム
2日前
TOTO株式会社
静電チャック
1か月前
TOTO株式会社
浴室システム
1か月前
TOTO株式会社
浴室システム
1か月前
TOTO株式会社
静電チャック
1か月前
TOTO株式会社
静電チャック
1か月前
TOTO株式会社
静電チャック
1か月前
TOTO株式会社
静電チャック
1か月前
TOTO株式会社
静電チャック
1か月前
続きを見る
他の特許を見る