TOP
|
特許
|
意匠
|
商標
特許ウォッチ
Twitter
他の特許を見る
10個以上の画像は省略されています。
公開番号
2025146206
公報種別
公開特許公報(A)
公開日
2025-10-03
出願番号
2024046860
出願日
2024-03-22
発明の名称
トイレ装置
出願人
TOTO株式会社
代理人
弁理士法人iX
主分類
A47K
13/10 20060101AFI20250926BHJP(家具;家庭用品または家庭用設備;コーヒーひき;香辛料ひき;真空掃除機一般)
要約
【課題】電線の破損を抑制可能なトイレ装置を提供することを目的とする。
【解決手段】回路部を収容するケーシングと、便座又は便蓋である回動部と、回動部を電動で開閉する電動開閉機構と、回動部の回動を付勢する開閉補助機構と、回動部と開閉補助機構とを連結する連結部と、を備え、回路部は、回動部に設けられた電気部品と電線によって接続され、連結部は、電線が連結部内から第1開口を通って回動部側へ延び連結部内から第2開口を通ってケーシング側へ延びるように、電線を挿通可能な第1開口と第2開口とを有し、連結部は、回動部の回動とともに回転軸を中心に回転し、連結部の回転方向における第2開口の両端の間の、回転軸を中心とした角度は、全閉位置から全開位置までに回動部が回動する最大回動角度よりも大きいトイレ装置が提供される。
【選択図】図4
特許請求の範囲
【請求項1】
内部に回路部を収容するケーシングと、
前記ケーシングに対して回動して開閉する便座又は便蓋である回動部と、
前記ケーシングに設けられ、前記回動部を電動で開閉する電動開閉機構と、
前記ケーシングに設けられ、ばねによって前記回動部の回動を付勢する開閉補助機構と、
前記回動部と前記開閉補助機構とを連結する連結部と、
を備え、
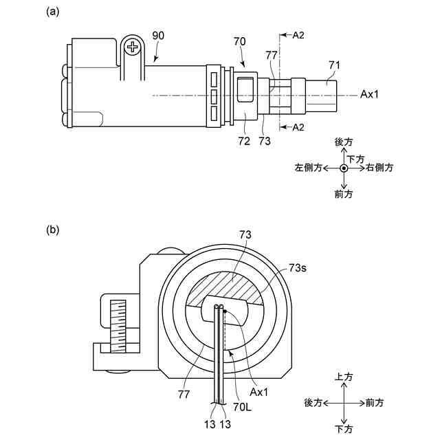
前記回路部は、前記回動部に設けられた電気部品と電線によって電気的に接続され、
前記連結部は、前記電線が前記連結部内から第1開口を通って前記回動部側へ延び前記連結部内から第2開口を通って前記ケーシング側へ延びるように、前記電線を挿通可能な前記第1開口と前記第2開口とを有し、
前記回動部は、前記連結部と連結して前記連結部の周りを全閉位置から全開位置まで回動可能であり、
前記連結部は、前記回動部の回動とともに回転軸を中心に回転し、
前記連結部の回転方向における前記第2開口の両端の間の、前記回転軸を中心とした角度は、前記全閉位置から前記全開位置までに前記回動部が回動する最大回動角度よりも大きいことを特徴とするトイレ装置。
続きを表示(約 290 文字)
【請求項2】
前記回動部が前記全閉位置と前記全開位置との間を回動するときに、前記第2開口は、常に鉛直下方に向けて開口することを特徴とする請求項1に記載のトイレ装置。
【請求項3】
前記連結部は、前記第2開口の内部に設けられ前記電線を係止するための整線部を有することを特徴とする請求項2に記載のトイレ装置。
【請求項4】
前記連結部は、前記回動部と連結する第1端部と、前記開閉補助機構と連結する第2端部と、を有し、
前記第2端部の外径は、前記第1端部の外径よりも大きいことを特徴とする請求項1~3のいずれか1つに記載のトイレ装置。
発明の詳細な説明
【技術分野】
【0001】
本発明の態様は、一般的に、トイレ装置に関する。
続きを表示(約 1,500 文字)
【背景技術】
【0002】
トイレ装置においては、例えば、ケーシングに対して回動可能に軸支された便座及び/又は便蓋が設けられる。ケーシングには、例えば電動開閉機構などの機構を設けることが知られている。電動開閉機構は、便座又は便蓋の回転軸を電動で駆動し、便座又は便蓋を自動で回動させる。
【0003】
一方、便座又は便蓋には、電気部品が設けられることがある。この電気部品は、ケーシング内に収容された制御基板などの回路部と、ハーネスなどの電線によって電気的に接続される。例えば、便座は、便座を温めるヒータなどの電気部品を内蔵する。ケーシング内の制御基板は、ハーネスによってヒータと接続され、ヒータの動作を制御する。
【0004】
ハーネスなどの電線は、ケーシング内部から、便座又は便蓋を軸支する部分を通って、電気部品と接続される。このような場合、電動開閉機構などの機構と電線とが干渉することがある。便座又は便蓋の開閉に伴い、電線が破損する可能性がある。
【先行技術文献】
【特許文献】
【0005】
中国実用新案第206491741号明細書
【発明の概要】
【発明が解決しようとする課題】
【0006】
本発明は、かかる課題の認識に基づいてなされたものであり、電線の破損を抑制可能なトイレ装置を提供することを目的とする。
【課題を解決するための手段】
【0007】
第1の発明は、内部に回路部を収容するケーシングと、前記ケーシングに対して回動して開閉する便座又は便蓋である回動部と、前記ケーシングに設けられ、前記回動部を電動で開閉する電動開閉機構と、前記ケーシングに設けられ、ばねによって前記回動部の回動を付勢する開閉補助機構と、前記回動部と前記開閉補助機構とを連結する連結部と、を備え、前記回路部は、前記回動部に設けられた電気部品と電線によって電気的に接続され、前記連結部は、前記電線が前記連結部内から第1開口を通って前記回動部側へ延び前記連結部内から第2開口を通って前記ケーシング側へ延びるように、前記電線を挿通可能な前記第1開口と前記第2開口とを有し、前記回動部は、前記連結部と連結して前記連結部の周りを全閉位置から全開位置まで回動可能であり、前記連結部は、前記回動部の回動とともに回転軸を中心に回転し、前記連結部の回転方向における前記第2開口の両端の間の、前記回転軸を中心とした角度は、前記全閉位置から前記全開位置までに前記回動部が回動する最大回動角度よりも大きいことを特徴とするトイレ装置である。
【0008】
このトイレ装置によれば、電線を挿通可能な連結部を設けることにより、ケーシングや便座又は便蓋の外部に電線が露出することを抑制しつつ電気部品と回路部とを接続することができる。また、第2開口の回転方向における幅が比較的大きいため、回動部が開閉し連結部が回転する際に、連結部が電線に干渉することを抑制できる。これにより電線の破損を抑制することができる。
【0009】
第2の発明は、第1の発明において、前記回動部が前記全閉位置と前記全開位置との間を回動するときに、前記第2開口は、常に鉛直下方に向けて開口することを特徴とするトイレ装置である。
【0010】
このトイレ装置によれば、回動部の開閉時において、第2開口から下方に延びる電線と、連結部との干渉をより抑制することができる。電線の破損をより抑制することができる。
(【0011】以降は省略されています)
この特許をJ-PlatPat(特許庁公式サイト)で参照する
関連特許
TOTO株式会社
洗面器
1か月前
TOTO株式会社
洗面器
1か月前
TOTO株式会社
吐水装置
26日前
TOTO株式会社
吐水装置
26日前
TOTO株式会社
吐水装置
26日前
TOTO株式会社
構造部材
26日前
TOTO株式会社
構造部材
26日前
TOTO株式会社
構造部材
21日前
TOTO株式会社
構造部材
21日前
TOTO株式会社
水洗大便器
25日前
TOTO株式会社
水洗大便器
25日前
TOTO株式会社
トイレ装置
28日前
TOTO株式会社
トイレ装置
1か月前
TOTO株式会社
水洗大便器
25日前
TOTO株式会社
水洗大便器
25日前
TOTO株式会社
静電チャック
1か月前
TOTO株式会社
静電チャック
1か月前
TOTO株式会社
静電チャック
1か月前
TOTO株式会社
水まわり部材
26日前
TOTO株式会社
水まわり部材
26日前
TOTO株式会社
静電チャック
1か月前
TOTO株式会社
浴室システム
1か月前
TOTO株式会社
浴室システム
1か月前
TOTO株式会社
浴室システム
6日前
TOTO株式会社
排水システム
26日前
TOTO株式会社
静電チャック
1か月前
TOTO株式会社
静電チャック
1か月前
TOTO株式会社
静電チャック
1か月前
TOTO株式会社
静電チャック
1か月前
TOTO株式会社
静電チャック
1か月前
TOTO株式会社
排水システム
26日前
TOTO株式会社
静電チャック
1か月前
TOTO株式会社
ミスト発生装置
26日前
TOTO株式会社
水洗大便器装置
25日前
TOTO株式会社
水洗大便器装置
25日前
TOTO株式会社
水洗大便器装置
25日前
続きを見る
他の特許を見る