TOP
|
特許
|
意匠
|
商標
特許ウォッチ
Twitter
他の特許を見る
公開番号
2025140170
公報種別
公開特許公報(A)
公開日
2025-09-29
出願番号
2024039370
出願日
2024-03-13
発明の名称
浴室システム
出願人
TOTO株式会社
代理人
弁理士法人酒井国際特許事務所
主分類
A47K
4/00 20060101AFI20250919BHJP(家具;家庭用品または家庭用設備;コーヒーひき;香辛料ひき;真空掃除機一般)
要約
【課題】バスルームの利用者の心身の状態を適切に推定すること。
【解決手段】実施形態に係る浴室システムは、バスルーム内に設置されると共に前記バスルームの利用者が入浴中に行う呼吸の状態を検知する検知手段と、前記検知手段の検知結果に基づいて、前記バスルームの利用者の心身の状態を推定する推定手段と、を備える。
【選択図】図13
特許請求の範囲
【請求項1】
バスルーム内に設置されると共に前記バスルームの利用者が入浴中に行う呼吸の状態を検知する検知手段と、
前記検知手段の検知結果に基づいて、前記バスルームの利用者の心身の状態を推定する推定手段と、
を備えたことを特徴とする浴室システム。
続きを表示(約 980 文字)
【請求項2】
前記検知手段の検知結果に基づいて、前記バスルームを構成する機器の駆動状態を制御する制御手段、
を備えたことを特徴とする請求項1に記載の浴室システム。
【請求項3】
前記制御手段は、前記バスルームの利用者が行う呼吸のリズムの検知に基づいて、前記呼吸のリズムを所定のリズムに誘導するように前記バスルームを構成する機器の駆動状態を制御する
ことを特徴とする請求項2に記載の浴室システム。
【請求項4】
前記バスルームを構成する機器の駆動状態は、浴槽内のお湯の温度、水流、水量の少なくとも1つを含む
ことを特徴とする請求項3に記載の浴室システム。
【請求項5】
前記バスルームを構成する機器の駆動状態は、前記バスルーム内に設置された照明装置の照明状態を含む
ことを特徴とする請求項3に記載の浴室システム。
【請求項6】
前記検知手段の検知結果に基づいて、前記バスルームの利用者に対して所定のリコメンド通知を行う通知手段、
を備えたことを特徴とする請求項1に記載の浴室システム。
【請求項7】
前記通知手段は、前記バスルームの利用者が行った呼吸の状態に基づいて所定の呼吸方法に関する情報を含めて前記所定のリコメンド通知を行う
ことを特徴とする請求項6に記載の浴室システム。
【請求項8】
前記バスルームに設置されると共に前記バスルーム内での利用者の状態を検出する状態検出手段、
を備え、
前記検知手段は、前記状態検出手段の検出結果に基づいて、前記利用者の呼吸の検知を開始または終了する
ことを特徴とする請求項1に記載の浴室システム。
【請求項9】
電波センサの出力データに基づいて、前記バスルーム内の状態変化を推定する状態推定手段、
を備え、
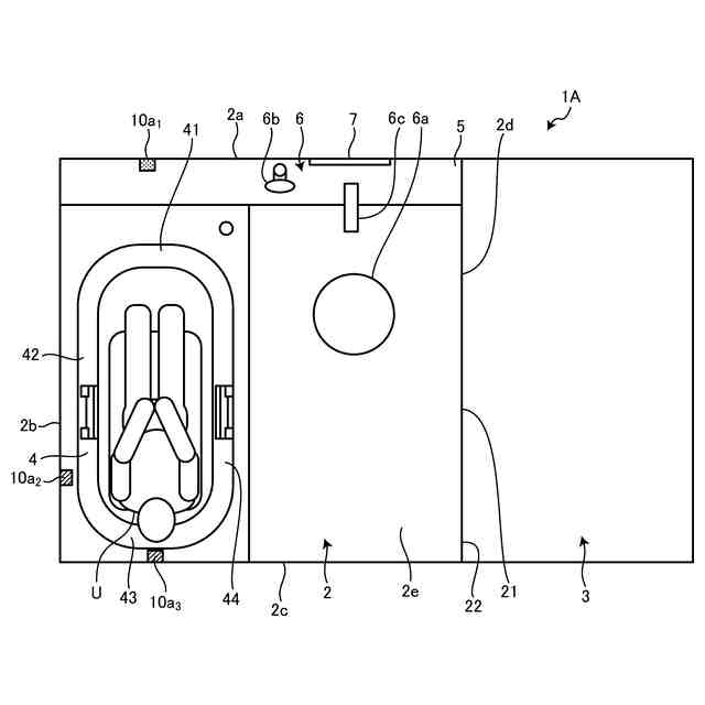
前記検知手段は、複数のパネルにより形成される前記バスルームに設置され、前記バスルーム内の状態変化を検知する前記電波センサを有し、
前記状態推定手段は、前記パネルの表面を含む電波反射領域を除外して前記バスルーム内の空間における状態変化を推定する
ことを特徴とする請求項1に記載の浴室システム。
発明の詳細な説明
【技術分野】
【0001】
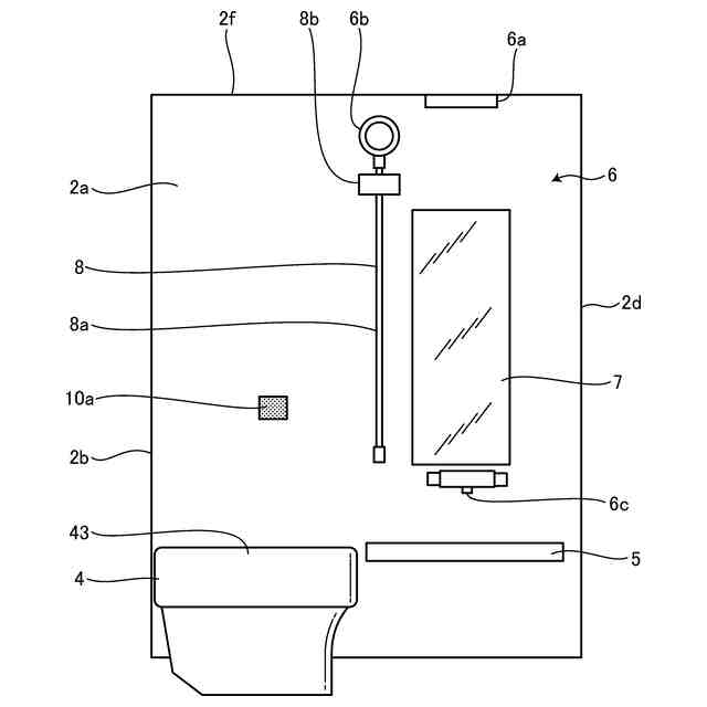
開示の実施形態は、浴室システムに関する。
続きを表示(約 1,400 文字)
【背景技術】
【0002】
近年、センシング等により様々な対象の状態を推定するための技術が提供されている。例えば、浴室(バスルーム)において利用者の状態を検出する方法として、電波式レーダを設け、利用者の姿勢などを推定し、転倒などの異常があれば、表示、通知、鳴動などで報知する技術が知られている(例えば、特許文献1)。
【先行技術文献】
【特許文献】
【0003】
特開2019-158862号公報
【発明の概要】
【発明が解決しようとする課題】
【0004】
上述の従来技術のバスルームおける利用者の状態検出等、バスルーム内の状態を検出(検知)する技術は、異常に限らず様々な用途に有効利用することができる可能性が有り、バスルーム内の状態検知に基づいて、異常報知以外の利用者にとって有用なサービスを提供することが望まれている。例えば、バスルームの利用者がリラックスしているか等の利用者の心身の状態を推定するサービスを提供可能にすることが望まれている。
【0005】
上記のような点を鑑みて、バスルームの利用者の心身の状態を適切に推定することが課題となる。
【0006】
開示の実施形態は、バスルームの利用者の心身の状態を適切に推定することができる浴室システムを提供することを目的とする。
【課題を解決するための手段】
【0007】
実施形態の一態様に係る浴室システムは、バスルーム内に設置されると共に前記バスルームの利用者が入浴中に行う呼吸の状態を検知する検知手段と、前記検知手段の検知結果に基づいて、前記バスルームの利用者の心身の状態を推定する推定手段と、を備えることを特徴とする。
【0008】
実施形態の一態様に係る浴室システムによれば、バスルーム(「浴室」ともいう)の利用者が入浴中に行う呼吸の状態を検知し、そのバスルームの利用者の心身の状態を推定する。例えば、浴室システムは、呼吸の間隔、速度、大きさ(深さ)などを計測し、リラックス度等の利用者の心身の状態を推定することにより、利用者の心身の状態の気づきを与えることができ、生活習慣の改善などを促すことができるようになる。これにより、浴室システムは、バスルームの利用者の心身の状態を適切に推定することができる。例えば、浴室システムにおいては、呼吸の大きさ(深さ)、速さ、整うまでの時間に加え、入浴時間、湯温などを考慮して、リラックス度等の利用者の心身の状態を推定することにより、心身の状態把握に役立つことができる。
【0009】
実施形態の一態様に係る浴室システムは、前記検知手段の検知結果に基づいて、前記バスルームを構成する機器の駆動状態を制御する制御手段、を備える。
【0010】
実施形態の一態様に係る浴室システムによれば、呼吸のリズム等を見てリラックス度等の利用者の心身の状態を推定し、照明の明暗や色、浴槽循環水の量や温度、室内空調の風量や温度を変えることで、リラックス度等の利用者の心身の状態をより適切に変更することができる。例えば、浴室システムにおいては、推定結果に基づいて、照明、浴槽湯温、循環湯の量や温度、空調の風量や温度などを調整することで、利用者にリラックスを促すことができる。
(【0011】以降は省略されています)
この特許をJ-PlatPat(特許庁公式サイト)で参照する
関連特許
TOTO株式会社
洗面器
1か月前
TOTO株式会社
洗面器
1か月前
TOTO株式会社
構造部材
1か月前
TOTO株式会社
吐水装置
1か月前
TOTO株式会社
吐水装置
1か月前
TOTO株式会社
吐水装置
1か月前
TOTO株式会社
構造部材
1か月前
TOTO株式会社
構造部材
1か月前
TOTO株式会社
水栓装置
1日前
TOTO株式会社
構造部材
1か月前
TOTO株式会社
トイレ装置
1か月前
TOTO株式会社
トイレ装置
1か月前
TOTO株式会社
水洗大便器
1か月前
TOTO株式会社
水洗大便器
1か月前
TOTO株式会社
水洗大便器
1か月前
TOTO株式会社
水洗大便器
1か月前
TOTO株式会社
静電チャック
1か月前
TOTO株式会社
排水システム
1か月前
TOTO株式会社
静電チャック
1か月前
TOTO株式会社
水まわり部材
1か月前
TOTO株式会社
水まわり部材
1か月前
TOTO株式会社
静電チャック
1か月前
TOTO株式会社
浴室システム
1か月前
TOTO株式会社
排水システム
1か月前
TOTO株式会社
静電チャック
1か月前
TOTO株式会社
浴室システム
1か月前
TOTO株式会社
浴室システム
23日前
TOTO株式会社
浴室システム
16日前
TOTO株式会社
浴室システム
16日前
TOTO株式会社
静電チャック
1か月前
TOTO株式会社
トイレシステム
1か月前
TOTO株式会社
水洗大便器装置
1か月前
TOTO株式会社
水洗大便器装置
1か月前
TOTO株式会社
水洗大便器装置
1か月前
TOTO株式会社
水洗大便器装置
1か月前
TOTO株式会社
水洗大便器装置
1か月前
続きを見る
他の特許を見る