TOP
|
特許
|
意匠
|
商標
特許ウォッチ
Twitter
他の特許を見る
公開番号
2025151139
公報種別
公開特許公報(A)
公開日
2025-10-09
出願番号
2024052406
出願日
2024-03-27
発明の名称
吐水装置
出願人
TOTO株式会社
代理人
個人
主分類
A47K
3/20 20060101AFI20251002BHJP(家具;家庭用品または家庭用設備;コーヒーひき;香辛料ひき;真空掃除機一般)
要約
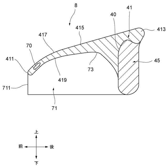
【課題】入浴者の頭が沈み込むことを抑制し、吐水部が入浴者の首又は肩に正確に吐水する。
【解決手段】吐水装置は、入浴者の頭の荷重を支えるための支持部45と、支持部45の上方に設けられ、入浴者の頭を載置可能に構成される頭載置部41と、頭載置部41の下方に設置され、入浴者に向けて水を吐水する吐水口を有する吐水部とを備え、頭載置部41の硬さは、支持部45の硬さ以上である。
【選択図】図7
特許請求の範囲
【請求項1】
入浴者の頭の荷重を支えるための支持部と、前記支持部の上方に設けられ、前記入浴者の頭を載置可能に構成される頭載置部とを有する枕部と、
前記頭載置部の下方に設置され、前記入浴者に向けて水を吐水する吐水口を有する吐水部とを備え、
前記頭載置部の硬さは前記支持部の硬さ以上である、吐水装置。
続きを表示(約 550 文字)
【請求項2】
前記頭載置部の硬さは、前記支持部の硬さより大きい、
請求項1に記載の吐水装置。
【請求項3】
前記頭載置部は前記支持部を上方から覆いかぶさるように配置されている、
請求項1に記載の吐水装置。
【請求項4】
前記頭載置部は、前記水の吐水方向に沿って、前記吐水口に近い順に先端部と、後端部とを有し、
前記先端部の硬さは、前記後端部の硬さより大きい、
請求項1乃至3の何れか1項に記載の吐水装置。
【請求項5】
前記頭載置部の下面は、上に向かって凸になるように湾曲している、
請求項1乃至3の何れか1項に記載の吐水装置。
【請求項6】
前記頭載置部は、前記水の吐水方向に沿って、前記吐水口に近い順に先端部と、中央部と、後端部とを有し、
前記中央部の厚さは、前記先端部の厚さよりも厚い、
請求項1乃至3の何れか1項に記載の吐水装置。
【請求項7】
前記頭載置部は、前記水の吐水方向に沿って、前記吐水口に近い順に先端部と、後端部とを有し、
前記頭載置部の前記先端部の内部に空洞が設けられる、
請求項1乃至3の何れか1項に記載の吐水装置。
発明の詳細な説明
【技術分野】
【0001】
本発明は、吐水装置に関する。
続きを表示(約 910 文字)
【背景技術】
【0002】
従来から、枕部と、吐水部とを備え、枕部に頭を置いた入浴者に向けて吐水部が水(湯を含む)を吐水する吐水装置が知られていた。
【0003】
例えば、特許文献1には、枕部に頭を置いた入浴者に向けて、吐水部が入浴者の首又は肩に吐水する吐水装置が記載されている。
【先行技術文献】
【特許文献】
【0004】
特開2022-45782号公報
【発明の概要】
【発明が解決しようとする課題】
【0005】
しかしながら、特許文献1に記載の技術では、入浴者の頭の重量で枕部が沈み込んでしまうと、吐水部が入浴者の首又は肩に正確に吐水することができない。
【0006】
上記課題に鑑み、本発明は、入浴者の頭が沈み込むことを抑制し、吐水部が入浴者の首又は肩に正確に吐水することができる吐水装置を提供することを目的とする。
【課題を解決するための手段】
【0007】
上記課題を解決するために、本発明の第1態様によれば、以下の吐水装置が提供される。この吐水装置は、入浴者の頭の荷重を支えるための支持部と、前記支持部の上方に設けられ、前記入浴者の頭を載置可能に構成される頭載置部とを有する枕部と、前記頭載置部の下方に設置され、前記入浴者に向けて水を吐水する吐水口を有する吐水部とを備え、前記頭載置部の硬さは、前記支持部の硬さ以上である。
【0008】
この構成によれば、頭載置部の硬さが支持部の硬さ以下である場合と比較して、入浴者の頭が沈み込むことを抑制し、吐水部が入浴者の首又は肩に正確に吐水することができる。
【0009】
また、本発明の第2態様に係る吐水装置では、前記頭載置部の硬さは、前記支持部の硬さより大きい。
【0010】
この構成によれば、頭載置部の硬さが支持部の硬さより柔らかい場合と比較して、入浴者の頭が沈み込むことを抑制し、吐水部が入浴者の首又は肩に正確に吐水することができる。
(【0011】以降は省略されています)
この特許をJ-PlatPat(特許庁公式サイト)で参照する
関連特許
TOTO株式会社
洗面器
1か月前
TOTO株式会社
洗面器
1か月前
TOTO株式会社
吐水装置
1か月前
TOTO株式会社
吐水装置
1か月前
TOTO株式会社
吐水装置
1か月前
TOTO株式会社
構造部材
1か月前
TOTO株式会社
構造部材
1か月前
TOTO株式会社
水栓装置
10日前
TOTO株式会社
構造部材
1か月前
TOTO株式会社
構造部材
1か月前
TOTO株式会社
トイレ装置
1か月前
TOTO株式会社
トイレ装置
1か月前
TOTO株式会社
水洗大便器
1か月前
TOTO株式会社
水洗大便器
1か月前
TOTO株式会社
水洗大便器
1か月前
TOTO株式会社
水洗大便器
1か月前
TOTO株式会社
排水システム
1か月前
TOTO株式会社
浴室システム
1か月前
TOTO株式会社
浴室システム
25日前
TOTO株式会社
浴室システム
25日前
TOTO株式会社
水まわり部材
1か月前
TOTO株式会社
静電チャック
1か月前
TOTO株式会社
水まわり部材
1か月前
TOTO株式会社
静電チャック
1か月前
TOTO株式会社
排水システム
1か月前
TOTO株式会社
水洗大便器装置
1か月前
TOTO株式会社
水洗大便器装置
1か月前
TOTO株式会社
水洗大便器装置
1か月前
TOTO株式会社
水洗大便器装置
1か月前
TOTO株式会社
水洗大便器装置
1か月前
TOTO株式会社
トイレシステム
1か月前
TOTO株式会社
ミスト発生装置
1か月前
TOTO株式会社
姿勢評価システム
1か月前
TOTO株式会社
衛生評価システム
1か月前
TOTO株式会社
健康管理システム
1か月前
TOTO株式会社
健康管理システム
1か月前
続きを見る
他の特許を見る