TOP
|
特許
|
意匠
|
商標
特許ウォッチ
Twitter
他の特許を見る
10個以上の画像は省略されています。
公開番号
2025152245
公報種別
公開特許公報(A)
公開日
2025-10-09
出願番号
2024054055
出願日
2024-03-28
発明の名称
姿勢評価システム
出願人
TOTO株式会社
代理人
個人
主分類
G06Q
50/10 20120101AFI20251002BHJP(計算;計数)
要約
【課題】利用者に対する評価の精度を向上する。
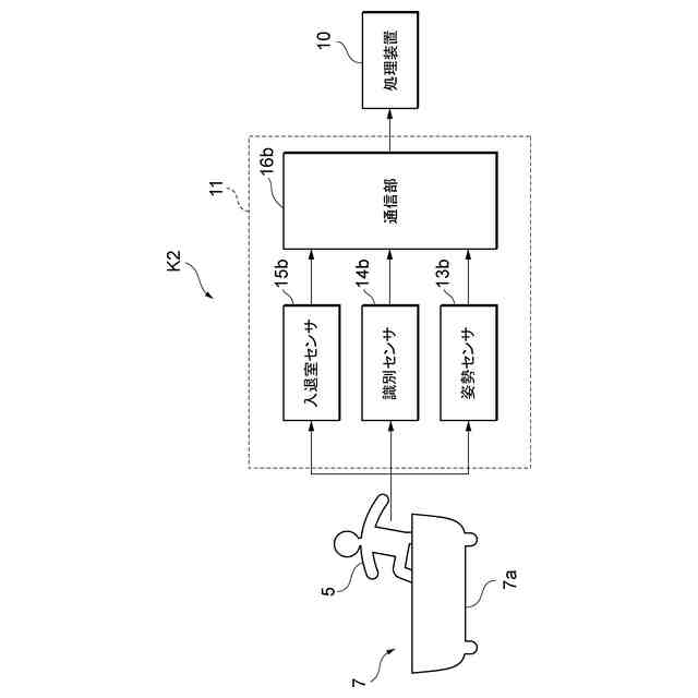
【解決手段】トイレ6、浴室7、洗面8、及びキッチン9の少なくとも何れか一つの水回り部を有する水回り空間であるトイレ空間K1、浴室空間K2、洗面空間K3、キッチン空間K4における利用者5を評価する姿勢評価システム2であって、水回り部を有する水回り空間に設けられ、水回り部を利用する利用者5を検知する姿勢センサと、姿勢センサによる検知結果に基づいて、利用者5の姿勢に対して評価を行う評価部を有する処理装置10と、を備える。
【選択図】図1
特許請求の範囲
【請求項1】
トイレ、浴室、洗面、及びキッチンの少なくとも何れか一つの水回り部を有する空間における利用者を評価する姿勢評価システムであって、
前記水回り部を有する前記空間に設けられ、前記水回り部を利用する前記利用者を検知する検知装置と、
前記検知装置による検知結果に基づいて、前記利用者の姿勢に対して評価を行う評価部を有する処理装置と、
を備える姿勢評価システム。
続きを表示(約 1,200 文字)
【請求項2】
前記水回り部を有する前記空間に設けられ、前記水回り部を利用する複数の前記利用者のそれぞれを識別する識別装置、
を更に備え、
前記評価部は、識別された前記利用者を個別に評価する、
請求項1に記載の姿勢評価システム。
【請求項3】
前記検知装置は、異なる種類の前記水回り部を有する複数の前記空間のそれぞれに設けられ、
前記識別装置は、前記複数の前記空間のそれぞれに設けられ、
前記評価部は、識別された前記利用者のそれぞれに対応して、複数の前記検知装置のそれぞれの検知結果により前記利用者の姿勢を総合的に評価する、
請求項2に記載の姿勢評価システム。
【請求項4】
前記空間に対する前記利用者の入室を検知する入室検知装置、
を更に備え、
前記識別装置は、前記空間への前記利用者の入室が検知された場合に、前記利用者のそれぞれを識別する、
請求項2又は3に記載の姿勢評価システム。
【請求項5】
前記水回り部は、前記トイレ及び前記浴室であり、
前記評価部は、前記検知装置による前記トイレを利用する前記利用者の検知結果と、前記検知装置による前記浴室を利用する前記利用者の検知結果とを用いて、前記利用者の姿勢に対する評価を行う、
請求項1から3の何れか1項に記載の姿勢評価システム。
【請求項6】
前記評価部は、前記トイレを利用する前記利用者の着座姿勢、又は着座前後の姿勢の変化に基づいて前記利用者の姿勢に対する評価を行う、
請求項5に記載の姿勢評価システム。
【請求項7】
前記評価部は、前記浴室を利用する前記利用者の重心の変化、又は姿勢の変化に基づいて前記利用者の姿勢に対する評価を行う、
請求項5に記載の姿勢評価システム。
【請求項8】
前記評価部は、前記利用者の身体能力、バランス能力、身体の歪み、足腰の強さ、運動能力の少なくとも何れか一つに対応して評価を行う、
請求項1から3の何れか1項に記載の姿勢評価システム。
【請求項9】
前記処理装置は、
前記評価部の評価結果を用い、前記利用者に対する運動又は姿勢に関する提案であるリコメンド情報を生成する生成部と、
前記リコメンド情報を通知する通知部と、
を更に備える、
請求項1から3の何れか1項に記載の姿勢評価システム。
【請求項10】
前記処理装置は、
前記評価部における最新の評価結果を含む所定期間内の評価結果を用い、前記利用者に対する運動又は姿勢に関する提案であるリコメンド情報を生成する生成部、
を更に備える、
請求項1から3の何れか1項に記載の姿勢評価システム。
(【請求項11】以降は省略されています)
発明の詳細な説明
【技術分野】
【0001】
本開示は、姿勢評価システムに関する。
続きを表示(約 1,000 文字)
【背景技術】
【0002】
人々の健康をサポートするためのシステムが様々考案されている。
【0003】
例えば特許文献1においては、手すりに設置した荷重センサや玄関の開閉センサ等、居住空間に様々なセンサを設け、居住者の歩行速度や握力等を示す情報を提供情報として生成することが開示されている。
【先行技術文献】
【特許文献】
【0004】
特開2021-18760号公報
【発明の概要】
【発明が解決しようとする課題】
【0005】
しかしながら、特許文献1による方法は人の日常動作に対する検知を行っているが、日常生活において行う動作は多岐に及び各動作にばらつきが発生し易い。各動作にばらつきが生じると、検知情報に基づく評価の精度が低下する可能性がある。
【0006】
上記課題に鑑み、本開示は、利用者に対する評価の精度を向上することができる姿勢評価システムを提供することを目的とする。
【課題を解決するための手段】
【0007】
上記課題を解決するために、本開示の第一態様に係る姿勢評価システムは、トイレ、浴室、洗面、及びキッチンの少なくとも何れか一つの水回り部を有する空間における利用者を評価する姿勢評価システムであって、前記水回り部を有する前記空間に設けられ、前記水回り部を利用する前記利用者を検知する検知装置と、前記検知装置による検知結果に基づいて、前記利用者の姿勢に対して評価を行う評価部を有する処理装置と、を備える。
【0008】
この構成によれば、水回り空間において利用者は同じ行動を行い易い(ばらつきが少ない)傾向にあるため、水回り空間における利用者の姿勢を評価することで、高精度に評価を行うことが可能となる。また、利用者の姿勢に対して評価を行うことで、姿勢は利用者の健康状態等に関連しているため、効果的に利用者の健康のサポートが可能となる。
【0009】
また、本開示の第二態様に係る姿勢評価システムでは、前記水回り部を有する前記空間に設けられ、前記水回り部を利用する複数の前記利用者のそれぞれを識別する識別装置、を更に備え、前記評価部は、識別された前記利用者を個別に評価する。
【0010】
この構成によれば、水回り部を利用する各利用者を区別して評価を行うことができる。このため、利用者を個別に評価して管理することができる。
(【0011】以降は省略されています)
この特許をJ-PlatPat(特許庁公式サイト)で参照する
関連特許
TOTO株式会社
洗面器
1か月前
TOTO株式会社
洗面器
1か月前
TOTO株式会社
構造部材
26日前
TOTO株式会社
吐水装置
26日前
TOTO株式会社
吐水装置
26日前
TOTO株式会社
吐水装置
26日前
TOTO株式会社
構造部材
26日前
TOTO株式会社
構造部材
21日前
TOTO株式会社
構造部材
21日前
TOTO株式会社
水洗大便器
25日前
TOTO株式会社
水洗大便器
25日前
TOTO株式会社
水洗大便器
25日前
TOTO株式会社
トイレ装置
1か月前
TOTO株式会社
トイレ装置
28日前
TOTO株式会社
水洗大便器
25日前
TOTO株式会社
排水システム
26日前
TOTO株式会社
静電チャック
1か月前
TOTO株式会社
水まわり部材
26日前
TOTO株式会社
水まわり部材
26日前
TOTO株式会社
静電チャック
1か月前
TOTO株式会社
浴室システム
1か月前
TOTO株式会社
浴室システム
6日前
TOTO株式会社
排水システム
26日前
TOTO株式会社
浴室システム
1か月前
TOTO株式会社
水洗大便器装置
25日前
TOTO株式会社
トイレシステム
25日前
TOTO株式会社
水洗大便器装置
25日前
TOTO株式会社
ミスト発生装置
26日前
TOTO株式会社
水洗大便器装置
25日前
TOTO株式会社
水洗大便器装置
25日前
TOTO株式会社
水洗大便器装置
25日前
TOTO株式会社
姿勢評価システム
26日前
TOTO株式会社
衛生評価システム
26日前
TOTO株式会社
健康管理システム
21日前
TOTO株式会社
健康管理システム
26日前
TOTO株式会社
支援装置及び支援プログラム
26日前
続きを見る
他の特許を見る