TOP
|
特許
|
意匠
|
商標
特許ウォッチ
Twitter
他の特許を見る
公開番号
2025153651
公報種別
公開特許公報(A)
公開日
2025-10-10
出願番号
2024056236
出願日
2024-03-29
発明の名称
水洗大便器装置
出願人
TOTO株式会社
代理人
個人
,
個人
,
個人
,
個人
,
個人
,
個人
,
個人
主分類
E03D
11/18 20060101AFI20251002BHJP(上水;下水)
要約
【課題】洗浄水タンクに貯留された洗浄水を有効に活用して、十分な洗浄性能を確保しながら、節水化も実現することができる水洗大便器装置を提供する。
【解決手段】本発明は、水洗大便器装置(1)であって、ボウル部(2a)、リム吐水口(2c)、排水トラップ管路(2b)、及びジェット吐水口(2d)を備えた水洗大便器本体(2)と、洗浄水タンク本体(4)と、リム用排水弁(8)と、ジェット用排水弁(10)と、ジェット導水路の上流側に形成された空気層の空気を排出するための排気経路(15)と、を有し、リム吐水用排水口及びジェット吐水用排水口は、何れも、リム吐水口の下端よりも高い位置に設けられ、洗浄開始後、ジェット用排水弁が開弁される前に、ジェット導水路内に洗浄水が供給されることを特徴としている。
【選択図】図1
特許請求の範囲
【請求項1】
洗浄水タンクに貯留された洗浄水により洗浄を行う水洗大便器装置であって、
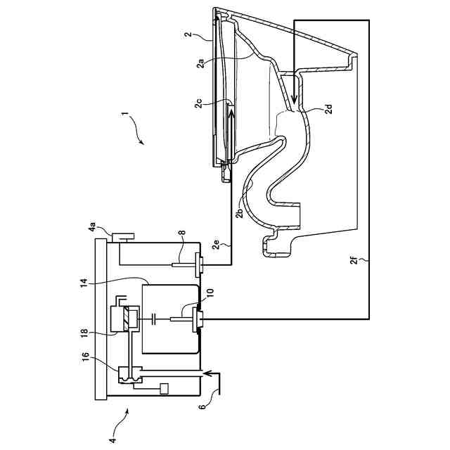
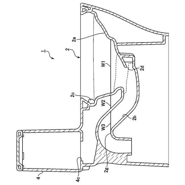
ボウル部、このボウル部の上部に設けられたリム吐水口、上記ボウル部の下部から延びる排水トラップ管路、及びこの排水トラップ管路の入口に対向するように設けられたジェット吐水口を備えた水洗大便器本体と、
この水洗大便器本体の上記ボウル部を洗浄するための洗浄水を貯留する洗浄水タンク本体と、
この洗浄水タンク本体に形成されたリム吐水用排水口に設けられ、上記水洗大便器本体に設けられたリム導水路を介して上記リム吐水口から洗浄水を吐出、又は停止させるリム用排水弁と、
上記洗浄水タンク本体に形成されたジェット吐水用排水口に設けられ、上記水洗大便器本体に設けられたジェット導水路を介して上記ジェット吐水口から洗浄水を吐出、又は停止させるジェット用排水弁と、
上記ジェット導水路の上流側に形成された空気層の空気を排出するための排気経路と、
を有し、
上記リム吐水用排水口及び上記ジェット吐水用排水口は、何れも、上記リム吐水口の下端よりも高い位置に設けられ、
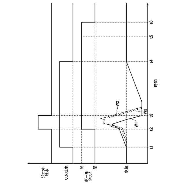
洗浄開始後、上記ジェット用排水弁が開弁される前に、上記ジェット導水路内に洗浄水が供給されることを特徴とする水洗大便器装置。
続きを表示(約 870 文字)
【請求項2】
上記ジェット導水路内への洗浄水の供給は、洗浄開始後、上記ジェット用排水弁が開弁される前に、上記リム用排水弁を開弁させることにより上記リム吐水口から洗浄水を吐出させ、これにより、上記ジェット吐水口から洗浄水を流入させることにより行われる請求項1記載の水洗大便器装置。
【請求項3】
上記ジェット導水路内への洗浄水の供給により、上記ジェット導水路内の水位が上昇すると共に、上記ジェット用排水弁が開弁される時点において、上記排水トラップ管路内の水位は、上記ジェット導水路内の水位よりも高く上昇する請求項2記載の水洗大便器装置。
【請求項4】
上記ジェット吐水口の断面積は、上記リム吐水口の断面積よりも大きい請求項1記載の水洗大便器装置。
【請求項5】
上記リム吐水口からの洗浄水の吐水により、上記ボウル部の内壁面に旋回流が形成され、この旋回流は上記ボウル部の中を1周以上旋回する請求項4記載の水洗大便器装置。
【請求項6】
上記ジェット用排水弁は、上記ジェット導水路内の水位が最も高く上昇したとき、又はそれ以降に開弁される請求項1記載の水洗大便器装置。
【請求項7】
上記ジェット導水路の内に連通する上記排気経路の一端は、上記ジェット導水路内への洗浄水の供給により上昇した上記ジェット導水路内の水面よりも高い位置に開口している請求項1記載の水洗大便器装置。
【請求項8】
上記排気経路の一端は、上記ジェット導水路の天井面に、上方に向けて開口している請求項7記載の水洗大便器装置。
【請求項9】
上記排気経路は、上記ジェット導水路の内部と、外気を連通させるように構成されている請求項1記載の水洗大便器装置。
【請求項10】
上記排気経路は、上記ジェット導水路の内部と、上記洗浄水タンク本体内の空気層との間を連通させるように構成されている請求項9記載の水洗大便器装置。
(【請求項11】以降は省略されています)
発明の詳細な説明
【技術分野】
【0001】
本発明は、水洗大便器装置に関し、特に、洗浄水タンクに貯留された洗浄水により洗浄を行う水洗大便器装置に関する。
続きを表示(約 2,100 文字)
【背景技術】
【0002】
特開2015-168994号公報(特許文献1)には、水洗大便器が記載されている。この水洗大便器においては、貯水タンク装置に備えられた排水弁を開弁させることにより、水洗大便器に設けられた2つのリム吐水口と、ゼット吐水口から洗浄水を吐出させ、ボウル部が洗浄される。また、この水洗大便器においては、貯水タンク装置から排出された洗浄水が、まず単一の導水路に流入し、この導水路が分岐されて、2つのリム吐水口及びゼット吐水口から洗浄水が吐出される。
【先行技術文献】
【特許文献】
【0003】
特開2015-168994号公報
【発明の概要】
【発明が解決しようとする課題】
【0004】
しかしながら、特許文献1記載の水洗大便器では、貯水タンク装置から排出された洗浄水が、まず単一の導水路に流入し、この導水路が分岐されて、洗浄水がリム吐水口及びゼット吐水口から吐出される。そして、排水弁が開弁される前の状態では、洗浄水が流入する導水路内に比較的大きな空気層が存在する。このため、特許文献1記載の水洗大便器では、排水弁が開弁された後、導水路内に存在した空気層が洗浄水で満たされ、その後、リム吐水口及びゼット吐水口から洗浄水が吐出される。従って、リム吐水口及びゼット吐水口からの洗浄水の吐水開始時機を正確に設定することが困難である。この結果、洗浄水を効果的に活用して、洗浄水量を抑制しながら、高い洗浄効果を得ることが難しくなる。
【0005】
従って、本発明は、洗浄水タンクに貯留された洗浄水を有効に活用して、十分な洗浄性能を確保しながら、節水化も実現することができる水洗大便器装置を提供することを目的としている。
【課題を解決するための手段】
【0006】
上述した課題を解決するために、本発明は、洗浄水タンクに貯留された洗浄水により洗浄を行う水洗大便器装置であって、ボウル部、このボウル部の上部に設けられたリム吐水口、ボウル部の下部から延びる排水トラップ管路、及びこの排水トラップ管路の入口に対向するように設けられたジェット吐水口を備えた水洗大便器本体と、この水洗大便器本体のボウル部を洗浄するための洗浄水を貯留する洗浄水タンク本体と、この洗浄水タンク本体に形成されたリム吐水用排水口に設けられ、水洗大便器本体に設けられたリム導水路を介してリム吐水口から洗浄水を吐出、又は停止させるリム用排水弁と、洗浄水タンク本体に形成されたジェット吐水用排水口に設けられ、水洗大便器本体に設けられたジェット導水路を介してジェット吐水口から洗浄水を吐出、又は停止させるジェット用排水弁と、ジェット導水路の上流側に形成された空気層の空気を排出するための排気経路と、を有し、リム吐水用排水口及びジェット吐水用排水口は、何れも、リム吐水口の下端よりも高い位置に設けられ、洗浄開始後、ジェット用排水弁が開弁される前に、ジェット導水路内に洗浄水が供給されることを特徴としている。
【0007】
このように構成された本発明によれば、リム吐水口から洗浄水を吐出、又は停止させるリム用排水弁、及びジェット吐水口から洗浄水を吐出、又は停止させるジェット用排水弁を備えているので、各吐水口から洗浄水を吐出させるタイミングを正確に設定することができ、洗浄水を効果的に活用することができる。また、上記のように構成された本発明によれば、ジェット導水路内の空気層の空気を排出するための排気経路を備え、洗浄開始後、ジェット用排水弁が開弁される前に、ジェット導水路内に洗浄水が供給されるので、ジェット導水路内の空気が排出され、ジェット導水路内の水位が上昇する。この結果、ジェット用排水弁が開弁された後、早期にジェット吐水口から洗浄水を吐出させることができる。これにより、洗浄水タンクに貯留された洗浄水を有効に活用して、十分な洗浄性能を確保しながら、節水化も実現することができる。
【0008】
本発明において、好ましくは、ジェット導水路内への洗浄水の供給は、洗浄開始後、ジェット用排水弁が開弁される前に、リム用排水弁を開弁させることによりリム吐水口から洗浄水を吐出させ、これにより、ジェット吐水口から洗浄水を流入させることにより行われる。
【0009】
このように構成された本発明によれば、ジェット用排水弁が開弁される前に、リム用排水弁を開弁させてリム吐水口から洗浄水を吐出させることにより、ジェット導水路内に洗浄水が供給されるので、ジェット導水路内に洗浄水を供給する特別な構成を備えることなくジェット導水路内の水位を上昇させることができる。
【0010】
本発明において、好ましくは、ジェット導水路内への洗浄水の供給により、ジェット導水路内の水位が上昇すると共に、ジェット用排水弁が開弁される時点において、排水トラップ管路内の水位は、ジェット導水路内の水位よりも高く上昇する。
(【0011】以降は省略されています)
この特許をJ-PlatPat(特許庁公式サイト)で参照する
関連特許
TOTO株式会社
洗面器
12日前
TOTO株式会社
洗面器
12日前
TOTO株式会社
吐水装置
6日前
TOTO株式会社
構造部材
6日前
TOTO株式会社
構造部材
6日前
TOTO株式会社
構造部材
1日前
TOTO株式会社
吐水装置
6日前
TOTO株式会社
吐水装置
6日前
TOTO株式会社
構造部材
1日前
TOTO株式会社
水洗大便器
5日前
TOTO株式会社
トイレ装置
12日前
TOTO株式会社
水洗大便器
5日前
TOTO株式会社
水洗大便器
5日前
TOTO株式会社
水洗大便器
5日前
TOTO株式会社
トイレ装置
8日前
TOTO株式会社
静電チャック
12日前
TOTO株式会社
静電チャック
12日前
TOTO株式会社
静電チャック
16日前
TOTO株式会社
静電チャック
16日前
TOTO株式会社
水まわり部材
6日前
TOTO株式会社
水まわり部材
6日前
TOTO株式会社
静電チャック
16日前
TOTO株式会社
静電チャック
16日前
TOTO株式会社
静電チャック
16日前
TOTO株式会社
静電チャック
16日前
TOTO株式会社
浴室システム
16日前
TOTO株式会社
静電チャック
16日前
TOTO株式会社
浴室システム
16日前
TOTO株式会社
排水システム
6日前
TOTO株式会社
排水システム
6日前
TOTO株式会社
静電チャック
16日前
TOTO株式会社
水洗大便器装置
5日前
TOTO株式会社
水洗大便器装置
5日前
TOTO株式会社
水洗大便器装置
5日前
TOTO株式会社
水洗大便器装置
5日前
TOTO株式会社
水洗大便器装置
5日前
続きを見る
他の特許を見る