TOP
|
特許
|
意匠
|
商標
特許ウォッチ
Twitter
他の特許を見る
公開番号
2025161417
公報種別
公開特許公報(A)
公開日
2025-10-24
出願番号
2024064587
出願日
2024-04-12
発明の名称
光合波器、光合波部材、光変調機能付き光合波部材、可視光光源モジュール、光学エンジン及びXRグラス
出願人
TDK株式会社
代理人
個人
,
個人
,
個人
主分類
G02B
6/12 20060101AFI20251017BHJP(光学)
要約
【課題】従来より小型化可能で光損失が低減された光合波器を提供することである。
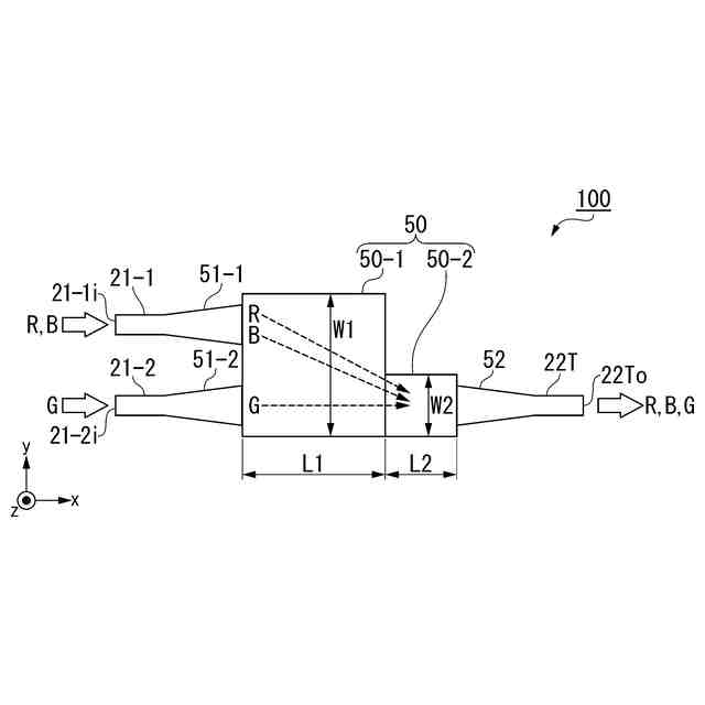
【解決手段】図1に示す光合波器100は、第1MMI型光合波部50-1と第1MMI型光合波部50-1の幅よりも狭い幅を有する第2MMI型光合波部50-2とが結合されてなるMMI結合型光合波部50と、第1MMI型光合波部50-1に接続する2本の光入力側光導波路21-1、21-2と、第2MMI型光合波部50-2に接続する1本の光出力側光導波路22と、を備え、一方の光入力側光導波路は異なる波長の2つのレーザー光からなる合波レーザー光が伝搬する2色伝搬用光入力側光導波路21-1であり、他方の光入力側光導波路は異なる2つのレーザー光とは異なる波長の1つのレーザー光を伝搬する1色伝搬用光入力側光導波路21-2であり、第2MMI型光合波部50-2は1色伝搬用光入力側光導波路21-2の延長線上に配置する。
【選択図】図1
特許請求の範囲
【請求項1】
複数の異なる波長のレーザー光を合波する光合波器であって、
入力側から、第1MMI型光合波部と前記第1MMI型光合波部の幅よりも狭い幅を有する第2MMI型光合波部とが結合されてなるMMI結合型光合波部と、
前記第1MMI型光合波部に接続する2本の光入力側光導波路と、
前記第2MMI型光合波部に接続する1本の光出力側光導波路と、を備え、
2つの光入力側光導波路のうち、一方の光入力側光導波路は異なる波長の2つのレーザー光からなる合波レーザー光が伝搬するための2色伝搬用光入力側光導波路であり、他方の光入力側光導波路は2つのレーザー光とは異なる波長の1つのレーザー光を伝搬するための1色伝搬用光入力側光導波路であり、
前記第2MMI型光合波部は前記1色伝搬用光入力側光導波路の延長線上に配置する、光合波器。
続きを表示(約 930 文字)
【請求項2】
前記第2MMI型光合波部の幅は前記第1MMI型光合波部の幅の1/3以上、2/3以下である、請求項1に記載の光合波器。
【請求項3】
前記第2MMI型光合波部の長さは10μm以上である、請求項1に記載の光合波器。
【請求項4】
2つの光入力側光導波路および1つの光出力側光導波路はいずれも、前記MMI結合型光合波部に近づくほど連続的に幅が広くなるテーパ部を有する、請求項1に記載の光合波器。
【請求項5】
前記MMI結合型光合波部よりも入力側に配置するプレMMI型光合波部と、
前記プレMMI型光合波部に接続する2本のプレ入力側光導波路と、
前記プレMMI型光合波部に接続する1本のプレ出力側光導波路と、を備え、
前記プレ出力側光導波路は前記2色伝搬用光入力側光導波路に接続されている、請求項1に記載の光合波器。
【請求項6】
前記複数の異なる波長がすべて可視光波長である、請求項1に記載の光合波器。
【請求項7】
ニオブ酸リチウムとは異なる材料からなる基板と、
前記基板の主面に形成されたニオブ酸リチウム膜と、を備え、
請求項1~6のいずれか一項に記載の光合波器が前記ニオブ酸リチウム膜に形成されている、光合波部材。
【請求項8】
請求項7に記載の光合波部材と、前記光合波部材で合波する可視光を出射する複数の可視光レーザー光源とを備える、可視光光源モジュール。
【請求項9】
請求項7に記載の光合波部材と、前記光合波部材に接続され、複数の可視光レーザー光源から出射された複数の可視光を前記光合波器に導波するマッハツェンダー型光変調器と、を備える、光変調機能付き光合波部材。
【請求項10】
請求項9に記載の光変調機能付き光合波部材と、前記光変調機能付き光合波器で合波する可視光を出射する複数の可視光レーザー光源とを備え、前記複数の可視光レーザー光源は、赤色光、緑色光、青色光の可視光レーザー光源である、可視光光源モジュール。
(【請求項11】以降は省略されています)
発明の詳細な説明
【技術分野】
【0001】
本発明は、光合波器、光合波部材、光変調機能付き光合波部材、可視光光源モジュール、光学エンジン及びXRグラスに関する。
続きを表示(約 1,400 文字)
【背景技術】
【0002】
現在、VRやARにおいて眼鏡型端末が検討されている。特に近年では、二次元的に走査された光をユーザの網膜に結像することで、使用者に画像を視認させる網膜走査ディスプレイが注目されている。網膜走査ディスプレイにおいては、一般的に、R(赤色)、G(緑色)、B(青色)の各色に対応するLED(Light Emitting Diode)やLD(Laser Diode)などの光源から出射される3色の可視光が、1つの光軸上に合波される。合波された3色の可視光は、画像表示部に伝送される。画像表示部は、伝送された光を二次元的に走査して、使用者の瞳孔に入射する。この入射光が使用者の網膜上に結像することで、使用者は画像を視認する。
【0003】
例えば、特許文献1には、マッハツェンダー型光変調器を用いた網膜投影型ディスプレイの構成が開示されている。
【先行技術文献】
【特許文献】
【0004】
特許第6728596号公報
特許第6787397号公報
特許第6572377号公報
特開2012-48071号公報
特開2020-27170号公報
【発明の概要】
【発明が解決しようとする課題】
【0005】
特許文献1に開示されている網膜投影型ディスプレイでは、出射部において複数の光導波路が近接されているが、合波はされていないため、波長毎の光軸が異なり、出射光の制御が複雑となる。
【0006】
また、可視光変調器と接続可能あるいは集積可能で、RGBのカラーバランスを調整可能な光合波器が求められているが、現状では全く検討されていない。
【0007】
しかし、特許文献1では、出射部においては近接されているだけで合波はされていない。そのため波長毎の光軸が異なるため出射光の制御が複雑となる。
【0008】
また、特許文献2には、ニオブ酸リチウム膜を用いた可視光の変調器が開示されている。ニオブ酸リチウム膜を用いた可視光変調器と接続可能あるいは集積可能なRGB光合波器が求められているが、未だ検討されていない。
【0009】
可視光の合波については、一般的には方向性結合器が検討されている(例えば、特許文献3参照)。これらはガラス系材料で構成されており安定性に優れているが、Δnの大きなニオブ酸リチウム基板を用いる場合、結合長が長くなり小型化ができない。
【0010】
特許文献4や特許文献5では、MMI(マルチモード干渉計)を用いたRGB合波器の構成が開示されているが、いずれもガラス系の材料であり、ニオブ酸リチウム膜を用いた構成については全く開示されていない。
MMI型光合波器は、光入力側に複数の導波路ポートを用いて複数の入力信号を入力し、光出力側では、出力信号に対して単一の導波路ポートが用いられ、全ての入力信号が合波されて出力信号として出力される。
MMI型光合波器は、各波長ごとに、幅が広い光合波器内で発生する多数のモードが干渉し合い、特定の位置で結像(収束する)するという特性を利用した光合波器である。
(【0011】以降は省略されています)
この特許をJ-PlatPat(特許庁公式サイト)で参照する
関連特許
TDK株式会社
電子部品
20日前
TDK株式会社
接合構造
12日前
TDK株式会社
電子部品
7日前
TDK株式会社
電子部品
1か月前
TDK株式会社
電子部品
2か月前
TDK株式会社
熱処理容器
1か月前
TDK株式会社
電力変換装置
20日前
TDK株式会社
アンテナモジュール
1か月前
TDK株式会社
配線体、及び表示装置
2か月前
TDK株式会社
コモンモードフィルタ
13日前
TDK株式会社
磁気センサおよびその製造方法
20日前
TDK株式会社
入力装置及び入力装置の制御方法
26日前
TDK株式会社
入力装置及び入力装置の制御方法
1か月前
TDK株式会社
電子部品及び電子部品の製造方法
2か月前
TDK株式会社
物理レザバー素子及び物理レザバー
1か月前
TDK株式会社
非可逆回路素子及び量子コンピュータ
1か月前
TDK株式会社
磁気センサおよび磁気センサの製造方法
12日前
TDK株式会社
インダクタおよびDC-DCコンバータ
2か月前
TDK株式会社
軟磁性粉末、磁性体コア、および磁性部品
1か月前
TDK株式会社
磁性シート及びこれを備えるコイルモジュール
1か月前
TDK株式会社
圧電薄膜、圧電薄膜素子、及び圧電トランスデューサ
2か月前
TDK株式会社
軟磁性合金粒子、軟磁性粉末、圧粉磁芯および電子部品
1か月前
TDK株式会社
固体電解コンデンサ及び固体電解コンデンサの製造方法
1か月前
TDK株式会社
接合構造
5日前
TDK株式会社
コイル部品
26日前
TDK株式会社
振動デバイス
1か月前
TDK株式会社
MEMSデバイス
1か月前
TDK株式会社
磁気センサ、磁場検出装置、位置検出装置、レンズモジュール、および撮像装置
1か月前
TDK株式会社
物理レザバー素子及び物理レザバー
1か月前
TDK株式会社
磁気センサ、磁場検出装置、位置検出装置、レンズモジュール、撮像装置、および磁気センサの製造方法
1か月前
TDK株式会社
光合波器、光合波部材、光変調機能付き光合波部材、可視光光源モジュール、光学エンジン及びXRグラス
1か月前
TDK株式会社
光変調器、光源モジュール、光学エンジン、XRグラス、光通信用送信装置で、光通信システム、光変調器の制御方法
1か月前
TDK株式会社
光変調器、光源モジュール、光学エンジン、画像表示装置、XRグラス、光通信用送信装置、光通信システム、光変調器の制御方法
1か月前
株式会社プロテリアル
フェライト磁心、並びにそれを用いたコイル部品及び電子部品
1か月前
株式会社シグマ
結像光学系
1か月前
株式会社シグマ
結像光学系
1か月前
続きを見る
他の特許を見る