TOP
|
特許
|
意匠
|
商標
特許ウォッチ
Twitter
他の特許を見る
10個以上の画像は省略されています。
公開番号
2025161616
公報種別
公開特許公報(A)
公開日
2025-10-24
出願番号
2024064958
出願日
2024-04-12
発明の名称
光変調器、光源モジュール、光学エンジン、XRグラス、光通信用送信装置で、光通信システム、光変調器の制御方法
出願人
TDK株式会社
代理人
個人
,
個人
,
個人
主分類
G02F
1/035 20060101AFI20251017BHJP(光学)
要約
【課題】常時、DCドリフトが抑制されている光変調器を提供することである。
【解決手段】本発明の光変調器は、マッハツェンダ型のニオブ酸リチウムのリッジ型光導波路と、前記リッジ型光導波路に電気信号を印加するための電極と、前記リッジ型光導波路からの出力光をスイッチングする光スイッチと、前記電気信号を生成する電気信号源と、前記電気信号源と前記光スイッチを制御する制御回路と、を備え、前記制御回路は前記電気信号が時間軸で正値と負値が交互に入れ替わるように前記電気信号源を制御させ、正値あるいは負値の前記電気信号を印加した時の出力光のみ抽出するように前記光スイッチを制御させる。
【選択図】図4
特許請求の範囲
【請求項1】
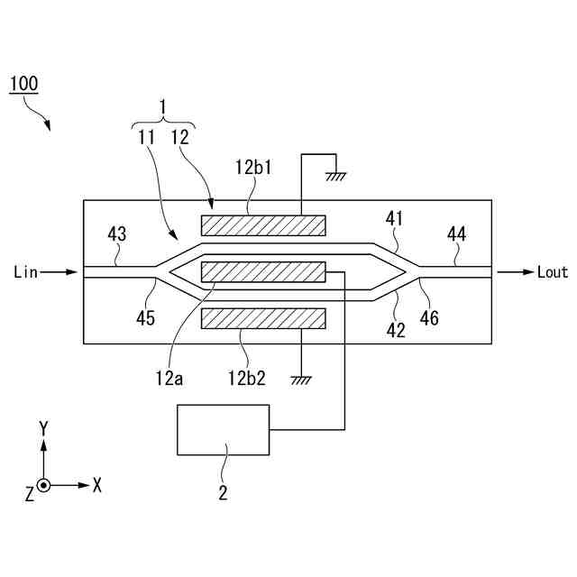
マッハツェンダ型のニオブ酸リチウムのリッジ型光導波路と、
前記リッジ型光導波路に電気信号を印加するための電極と、
前記リッジ型光導波路からの出力光をスイッチングする光スイッチと、
前記電気信号を生成する電気信号源と、
前記電気信号源と前記光スイッチを制御する制御回路と、を備え、
前記制御回路は前記電気信号が時間軸で正値と負値が交互に入れ替わるように前記電気信号源を制御させ、正値あるいは負値の前記電気信号を印加した時の出力光のみ抽出するように前記光スイッチを制御させる、光変調器。
続きを表示(約 690 文字)
【請求項2】
前記リッジ型光導波路は、基板上に形成されたニオブ酸リチウム膜により形成され、
前記ニオブ酸リチウムのC軸は前記基板の主面に対して垂直方向に配向している、請求項1に記載の光変調器。
【請求項3】
前記リッジ型光導波路は、基板上に貼り付けられたバルクのニオブ酸リチウムにより形成され、
前記ニオブ酸リチウムのC軸は前記基板の主面に対して平行方向である、請求項1の光変調器。
【請求項4】
前記電気信号は矩形波の電圧信号である、請求項1の光変調器。
【請求項5】
前記電気信号は、平均電圧を0Vであるようにデューティー比が設定されている、請求項4に記載の光変調器。
【請求項6】
前記電気信号の周波数は、1MHz以上である、請求項1に記載の光変調器。
【請求項7】
前記電気信号源は、変調信号源とバイアス信号源を含む、請求項1の光変調器。
【請求項8】
請求項1~7のいずれか一項に記載の光変調器と、前記光変調器が光合波部を有し、前記光合波部で合波する可視光を出射する複数の可視光レーザー光源とを備える、可視光光源モジュール。
【請求項9】
請求項8に記載の可視光光源モジュールと、
前記可視光光源モジュールから出射された光を、画像表示するように角度を変えて反射する光走査ミラーと、を備える光学エンジン。
【請求項10】
請求項9に記載の光学エンジンが搭載されている、XRグラス。
(【請求項11】以降は省略されています)
発明の詳細な説明
【技術分野】
【0001】
本発明は、光変調器、光源モジュール、光学エンジン、XRグラス、光通信用送信装置で、光通信システム、光変調器の制御方法に関する。
続きを表示(約 1,300 文字)
【背景技術】
【0002】
ニオブ酸リチウムは大きな電気光学定数を有し、光変調器、光導波路、光スイッチ、光フィルタなどを形成でき、光通信デバイス、可視光デバイスなどへ応用されている。
【0003】
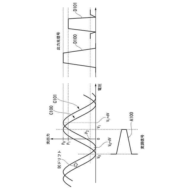
ニオブ酸リチウムを用いて作製されたマッハツェンダ型光変調器では、DCドリフトと呼ばれるバイアス電圧・光出力特性がバイアス電圧方向に経時的にシフトする現象が生じることが知られている。そのため、マッハツェンダ型光変調器に対して一定のバイアス電圧を印加しても、DCドリフトによって光出力は経時的に変化してしまい、一定の光出力を長期的に得ることが難しいという課題があった。
【0004】
特許文献1には、出力される光の平均強度をもとにバイアス電圧にフィードバック制御を行うことで、DCドリフトによる動作点電圧に変化に追従する発明が開示されている。
この発明は、動作点電圧の変化に追従できる範囲は変調器やICの耐圧などに制限され、これによる製品寿命の制限を解決する手段である。また、DCドリフトの方向が印加する電圧の極性と相関性を有する性質を利用し、動作点電圧の範囲を超えた場合に逆極性の電圧にバイアス電圧を変化させることで、動作点電圧を規定の範囲にとどめながらDCドリフトの制御を実現する手段である。
【先行技術文献】
【特許文献】
【0005】
特許第2518138号公報
【発明の概要】
【発明が解決しようとする課題】
【0006】
しかしながら、特許文献1に開示された発明では、最大光出力の半分となる電圧である動作点電圧を検出する動作点電圧検出手段が必要である。また、動作点を計算するためのリファレンス電圧2系統の入力と比較が必要であり、制御・実装が複雑となる。
【0007】
本開示は上記課題に鑑みてなされたものであり、常時、DCドリフトが抑制されている、光変調器、光源モジュール、光学エンジン、XRグラス、光通信用送信装置で、光通信システム、光変調器の制御方法を提供することを目的とする。
【課題を解決するための手段】
【0008】
本開示は、上記課題を解決するために、以下の手段を提供する。
【0009】
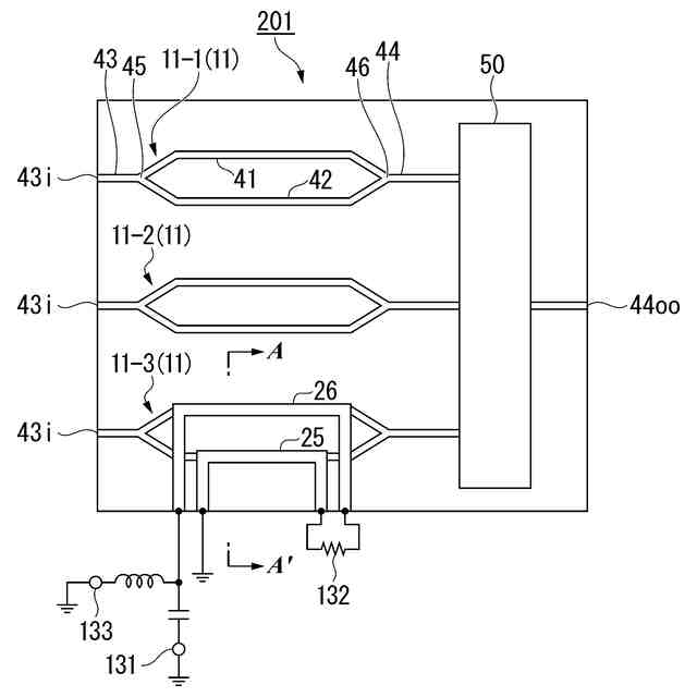
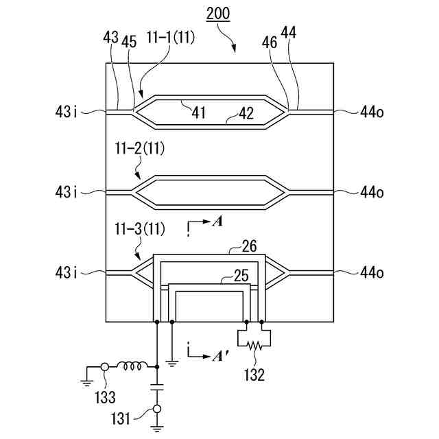
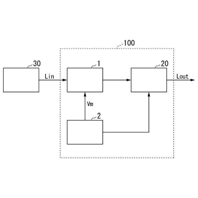
本開示の態様1は、マッハツェンダ型のニオブ酸リチウムのリッジ型光導波路と、前記リッジ型光導波路に電気信号を印加するための電極と、前記リッジ型光導波路からの出力光をスイッチングする光スイッチと、前記電気信号を生成する電気信号源と、前記電気信号源と前記光スイッチを制御する制御回路と、を備え、前記制御回路は前記電気信号が時間軸で正値と負値が交互に入れ替わるように前記電気信号源を制御させ、正値あるいは負値の前記電気信号を印加した時の出力光のみ抽出するように前記光スイッチを制御させる、光変調器である。
【0010】
本開示の態様2は、態様1の光変調器において、前記リッジ型光導波路は、基板上に形成されたニオブ酸リチウム膜により形成され、前記ニオブ酸リチウムのC軸は前記基板の主面に対して垂直方向に配向している。
(【0011】以降は省略されています)
この特許をJ-PlatPat(特許庁公式サイト)で参照する
関連特許
TDK株式会社
電子部品
20日前
TDK株式会社
接合構造
12日前
TDK株式会社
電子部品
1か月前
TDK株式会社
電子部品
7日前
TDK株式会社
熱処理容器
1か月前
TDK株式会社
電力変換装置
20日前
TDK株式会社
アンテナモジュール
1か月前
TDK株式会社
配線体、及び表示装置
2か月前
TDK株式会社
コモンモードフィルタ
13日前
TDK株式会社
磁気センサおよびその製造方法
20日前
TDK株式会社
入力装置及び入力装置の制御方法
26日前
TDK株式会社
入力装置及び入力装置の制御方法
1か月前
TDK株式会社
物理レザバー素子及び物理レザバー
1か月前
TDK株式会社
非可逆回路素子及び量子コンピュータ
1か月前
TDK株式会社
磁気センサおよび磁気センサの製造方法
12日前
TDK株式会社
軟磁性粉末、磁性体コア、および磁性部品
1か月前
TDK株式会社
磁性シート及びこれを備えるコイルモジュール
1か月前
TDK株式会社
軟磁性合金粒子、軟磁性粉末、圧粉磁芯および電子部品
1か月前
TDK株式会社
固体電解コンデンサ及び固体電解コンデンサの製造方法
1か月前
TDK株式会社
接合構造
5日前
TDK株式会社
コイル部品
26日前
TDK株式会社
振動デバイス
1か月前
TDK株式会社
MEMSデバイス
1か月前
TDK株式会社
磁気センサ、磁場検出装置、位置検出装置、レンズモジュール、および撮像装置
1か月前
TDK株式会社
物理レザバー素子及び物理レザバー
1か月前
TDK株式会社
磁気センサ、磁場検出装置、位置検出装置、レンズモジュール、撮像装置、および磁気センサの製造方法
1か月前
TDK株式会社
光合波器、光合波部材、光変調機能付き光合波部材、可視光光源モジュール、光学エンジン及びXRグラス
1か月前
TDK株式会社
光変調器、光源モジュール、光学エンジン、XRグラス、光通信用送信装置で、光通信システム、光変調器の制御方法
1か月前
TDK株式会社
光変調器、光源モジュール、光学エンジン、画像表示装置、XRグラス、光通信用送信装置、光通信システム、光変調器の制御方法
1か月前
株式会社プロテリアル
フェライト磁心、並びにそれを用いたコイル部品及び電子部品
1か月前
株式会社シグマ
結像光学系
1か月前
東京応化工業株式会社
光学製品
今日
アイカ工業株式会社
反射防止フィルム
7日前
豊田合成株式会社
調光装置
20日前
日東電工株式会社
導光部材
1か月前
株式会社コシナ
投射ズームレンズ
26日前
続きを見る
他の特許を見る