TOP
|
特許
|
意匠
|
商標
特許ウォッチ
Twitter
他の特許を見る
公開番号
2025161000
公報種別
公開特許公報(A)
公開日
2025-10-24
出願番号
2024063811
出願日
2024-04-11
発明の名称
入力装置及び入力装置の制御方法
出願人
TDK株式会社
代理人
個人
,
個人
,
個人
主分類
H10N
30/30 20230101AFI20251017BHJP()
要約
【課題】操作ユニットが複数の圧電体を含む入力装置であって、操作面における操作された部位に対応する圧電体を適切に決定する入力装置を提供する。
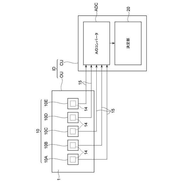
【解決手段】入力装置IDは、操作ユニットOUと、制御ユニットCUとを含む。操作ユニットOUは、操作体によって操作される操作面と、操作面の裏面側に配置されている複数の圧電体14と、を含むと共に、複数の圧電体14のそれぞれにおいて圧電体14に発生する電荷に応じた信号を出力する。制御ユニットCUは、操作ユニットOUから出力される信号に基づいて、複数の圧電体14のうち、操作面における操作された部位に対応する圧電体14を決定する。制御ユニットCUは、信号に基づく値が上昇閾値より小さい状態から上昇閾値以上の状態に移るタイミングに関する情報に基づいて、操作面における操作された部位に対応する圧電体14を決定する。
【選択図】図3
特許請求の範囲
【請求項1】
操作体によって操作される操作面と、前記操作面の裏面側に配置されている複数の圧電体と、を含むと共に、前記複数の圧電体のそれぞれにおいて前記圧電体に発生する電荷に応じた信号を出力する操作ユニットと、
前記操作ユニットから出力される前記信号に基づいて、前記複数の圧電体のうち、前記操作面における操作された部位に対応する圧電体を決定する制御ユニットと、を備え、
前記制御ユニットは、前記信号に基づく値が上昇閾値より小さい状態から前記上昇閾値以上の状態に移るタイミングに関する情報に基づいて、前記操作面における操作された前記部位に対応する前記圧電体を決定する、入力装置。
続きを表示(約 1,400 文字)
【請求項2】
前記制御ユニットは、
前記複数の圧電体のうち、前記値が最も早く前記上昇閾値以上となる信号に対応する圧電体に、前記値が最も早く前記上昇閾値以上となるタイミングに基づいて、フラグを設定し、当該フラグの状態を、前記情報として取得し、
前記フラグが設定された前記圧電体を、前記操作面における操作された前記部位に対応する前記圧電体に決定する、請求項1に記載の入力装置。
【請求項3】
前記制御ユニットは、前記値が前記上昇閾値以上となる前記タイミングから所定の期間が経過したタイミングで、前記フラグを設定する、請求項2に記載の入力装置。
【請求項4】
前記制御ユニットは、前記操作面における操作された前記部位に対応する前記圧電体を決定してから所定の期間が経過するまで、前記操作ユニットから出力される前記信号に基づく処理を停止する、請求項2に記載の入力装置。
【請求項5】
前記操作ユニットは、複数の圧電素子を含み、
前記複数の圧電素子のそれぞれは、前記複数の圧電体のうち対応する圧電体を含む、請求項1~4のいずれか一項に記載の入力装置。
【請求項6】
前記操作ユニットは、前記操作面を含む第一主面と、前記第一主面に対向する第二主面とを含むパネルを含み、
前記複数の圧電素子は、前記第二主面に配置されている、請求項5に記載の入力装置。
【請求項7】
入力装置の制御方法であって、
前記入力装置は、操作体によって操作される操作面と、前記操作面の裏面に配置されている複数の圧電体と、を含む操作ユニットであって、前記複数の圧電体のそれぞれにおいて前記圧電体に発生する電荷に基づく信号を出力する操作ユニットを備え、
前記操作ユニットから出力される前記信号を取得することと、
取得した前記信号に基づく値が上昇閾値より小さい状態から前記上昇閾値以上の状態に移るタイミングに関する情報を取得することと、
取得した前記情報に基づいて、前記複数の圧電体のうち、前記操作面における操作された部位に対応する圧電体を決定することと、を含む、入力装置の制御方法。
【請求項8】
前記情報を取得することは、前記複数の圧電体のうち、前記値が最も早く前記上昇閾値以上となる信号に対応する圧電体に、前記値が最も早く前記上昇閾値以上となるタイミングに基づいて、フラグを設定し、当該フラグの状態を、前記情報として取得することを含み、
前記圧電体を決定することは、前記フラグが設定された前記圧電体を、前記操作面における操作された前記部位に対応する前記圧電体に決定することを含む、請求項7に記載の入力装置の制御方法。
【請求項9】
前記フラグを設定することは、前記値が前記上昇閾値以上となる前記タイミングから所定の期間が経過した後に、前記フラグを設定することを含む、請求項8に記載の入力装置の制御方法。
【請求項10】
前記操作面における操作された前記部位に対応する前記圧電体を決定してから所定の期間が経過するまで、前記操作ユニットから出力される前記信号に基づく処理を停止することを更に含む、請求項8又は9に記載の入力装置の制御方法。
発明の詳細な説明
【技術分野】
【0001】
本発明は、入力装置又は入力装置の制御方法に関する。
続きを表示(約 2,400 文字)
【背景技術】
【0002】
知られている入力装置は、操作体によって操作される操作面と、操作面の裏面側に配置されている圧電体と、を含む操作ユニットを含む。操作体が操作面を操作する場合、操作面に加えられる外力に応じて、圧電体が変位する。圧電体が変位すると、電荷が圧電体に発生する。操作ユニットは、圧電体に発生する電荷に応じた信号を出力する。
【先行技術文献】
【特許文献】
【0003】
特開2023-059607号公報
【発明の概要】
【発明が解決しようとする課題】
【0004】
操作ユニットが複数の圧電体を含む構成では、以下のような問題点が生じるおそれがある。
たとえば、操作体が操作面を操作する場合、操作面における操作された部位に対応する圧電体だけでなく、当該圧電体以外の圧電体にも外力が加わるおそれがある。操作面における操作された部位に対応する圧電体は、「対応の圧電体」と称されることがあり、操作面における操作された部位に対応する圧電体以外の圧電体は、「対応外の圧電体」と称されることがある。
外力が対応外の圧電体に伝わると、対応外の圧電体が変位し、対応外の圧電体にも電荷が発生する。操作ユニットは、対応の圧電体に発生する電荷に応じた信号だけでなく、対応外の圧電体に発生する電荷に応じた信号も出力する。対応外の圧電体に発生する電荷に応じた信号が操作ユニットから出力される場合、入力装置は、複数の圧電体のうち、いずれの圧電体が対応の圧電体であるかを適切に決定しがたい。
【0005】
本発明の一つの態様は、操作ユニットが複数の圧電体を含む構成であっても、操作面における操作された部位に対応する圧電体を適切に決定する入力装置を提供することを目的とする。
本発明の別の態様は、複数の圧電体を含む操作ユニットを備える入力装置の制御方法であって、操作面における操作された部位に対応する圧電体を適切に決定する制御方法を提供することを目的とする。
【課題を解決するための手段】
【0006】
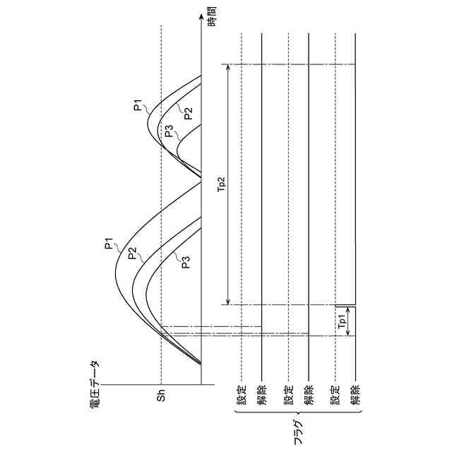
一つの態様に係る入力装置は、操作ユニットと、制御ユニットとを含む。操作ユニットは、操作体によって操作される操作面と、操作面の裏面側に配置されている複数の圧電体と、を含むと共に、複数の圧電体のそれぞれにおいて圧電体に発生する電荷に応じた信号を出力する。制御ユニットは、操作ユニットから出力される信号に基づいて、複数の圧電体のうち、操作面における操作された部位に対応する圧電体を決定する。制御ユニットは、信号に基づく値が上昇閾値より小さい状態から上昇閾値以上の状態に移るタイミングに関する情報に基づいて、操作面における操作された部位に対応する圧電体を決定する。
【0007】
上記一つの態様では、制御ユニットが、圧電体に発生する電荷に応じた信号に基づく値が上昇閾値より小さい状態から上昇閾値以上の状態に移るタイミングに関する情報に基づいて、操作面における操作された部位に対応する圧電体を決定する。したがって、上記一つの態様は、操作ユニットが複数の圧電体を含む構成であっても、操作面における操作された部位に対応する圧電体を適切に決定する。
【0008】
制御ユニットは、複数の圧電体のうち、値が最も早く上昇閾値以上となる信号に対応する圧電体に、値が最も早く上昇閾値以上となるタイミングに基づいて、フラグを設定し、当該フラグの状態を、情報として取得してもよく、フラグが設定された圧電体を、操作面における操作された部位に対応する圧電体に決定してもよい。
制御ユニットが、上述したように、フラグが設定された圧電体を、操作面における操作された部位に対応する圧電体に決定する構成は、操作面における操作された部位に対応する圧電体を適切かつ確実に決定する。
【0009】
制御ユニットは、値が上昇閾値以上となるタイミングから所定の期間が経過したタイミングで、フラグを設定してもよい。
制御ユニットが、値が上昇閾値以上となるタイミングにて、フラグを設定する構成では、以下の問題点が生じるおそれがある。
外乱による外力が、複数の圧電体に加わる場合にも、電荷が圧電体に発生し、操作ユニットは、圧電体に発生する電荷に応じた信号を出力する。操作ユニットから出力される信号に基づく値が上昇閾値より大きい場合には、制御ユニットは、フラグを設定する。このため、外乱による外力が、複数の圧電体に加わったにもかかわらず、制御ユニットは、操作面における操作された部位に対応する圧電体を決定してしまう。外乱は、たとえば、操作面への意図しない瞬間的な接触、又は、外部から伝わる機械的振動を含む。
制御ユニットが、値が上昇閾値以上となるタイミングから所定の期間が経過したタイミングで、フラグを設定する構成は、外乱による外力が、複数の圧電体に伝わる場合に、フラグを設定しがたい。したがって、この構成は、操作面における操作された部位に対応する圧電体をより一層適切に決定する。
【0010】
制御ユニットは、操作面における操作された部位に対応する圧電体を決定してから所定の期間が経過するまで、操作ユニットから出力される信号に基づく処理を停止してもよい。
制御ユニットが、上述したように、操作ユニットから出力される信号に基づく処理を停止する構成は、操作面における操作された部位に対応する圧電体を決定してから所定の期間が経過するまで、操作面における操作された部位に対応する圧電体をあらためて決定することがない。したがって、この構成は、操作面における操作された部位に対応する圧電体をより一層適切に決定する。
(【0011】以降は省略されています)
この特許をJ-PlatPat(特許庁公式サイト)で参照する
関連特許
TDK株式会社
電子部品
1か月前
TDK株式会社
圧電素子
2か月前
TDK株式会社
接合構造
10日前
TDK株式会社
電子部品
1か月前
TDK株式会社
電子部品
1か月前
TDK株式会社
電子部品
18日前
TDK株式会社
電子部品
5日前
TDK株式会社
フィルタ
2か月前
TDK株式会社
電子部品
2か月前
TDK株式会社
電子部品
2か月前
TDK株式会社
コイル装置
1か月前
TDK株式会社
コイル装置
1か月前
TDK株式会社
コイル部品
2か月前
TDK株式会社
磁気センサ
2か月前
TDK株式会社
熱処理容器
1か月前
TDK株式会社
コイル装置
1か月前
TDK株式会社
コイル部品
1か月前
TDK株式会社
ガスセンサ
2か月前
TDK株式会社
コイル部品
1か月前
TDK株式会社
コイル装置
1か月前
TDK株式会社
電子デバイス
1か月前
TDK株式会社
積層型分波器
2か月前
TDK株式会社
電力変換装置
18日前
TDK株式会社
電磁波センサ
2か月前
TDK株式会社
電子デバイス
1か月前
TDK株式会社
積層型電子部品
2か月前
TDK株式会社
積層コイル部品
2か月前
TDK株式会社
積層コイル部品
1か月前
TDK株式会社
フェライト焼結磁石
1か月前
TDK株式会社
アンテナモジュール
1か月前
TDK株式会社
積層型フィルタ装置
2か月前
TDK株式会社
配線体、及び表示装置
1か月前
TDK株式会社
配線体、及び表示装置
1か月前
TDK株式会社
圧力センサ用金属部材
1か月前
TDK株式会社
メタサーフェスレンズ
1か月前
TDK株式会社
配線体、及び表示装置
1か月前
続きを見る
他の特許を見る