TOP
|
特許
|
意匠
|
商標
特許ウォッチ
Twitter
他の特許を見る
10個以上の画像は省略されています。
公開番号
2025154706
公報種別
公開特許公報(A)
公開日
2025-10-10
出願番号
2024057852
出願日
2024-03-29
発明の名称
配線体、及び表示装置
出願人
TDK株式会社
代理人
個人
,
個人
,
個人
主分類
B32B
7/025 20190101AFI20251002BHJP(積層体)
要約
【課題】配線体の平坦性を向上しつつ、シート抵抗を低下させることができる配線体、及び表示装置を提供する。
【解決手段】配線体200によれば、光透過性基材1上に設けられるメッシュ状の導体層5が、第1樹脂層7及び第2樹脂層8による多層の樹脂層9によって覆われる。このため、導体層5によって配線体200の表面に生じ得る段差を樹脂層9で吸収することができる。従って、配線体200の表面の平坦性を向上することができる。実施形態では、第2樹脂層8の上面8aが配線体200の表面となる。また、導体層5は、光透過性基材1側の第1樹脂層7を貫通している。そのため、導体層5の導電線50の線幅の太さを抑制しつつ、導体のボリュームを確保することができる。従って、配線体200のシート抵抗を低くすることができる。以上より、配線体200の平坦性を向上しつつ、シート抵抗を低下させることができる。
【選択図】図6
特許請求の範囲
【請求項1】
基材と、
前記基材上に設けられるメッシュ状の導体層と、
前記導体層を覆う樹脂層と、を備え、
前記樹脂層は、前記基材側から順に第1樹脂層と、第2樹脂層と、を有し、
前記導体層は、前記第1樹脂層を貫通している、配線体。
続きを表示(約 510 文字)
【請求項2】
前記第2樹脂層の厚みは、前記第1樹脂層の厚みより薄い、請求項1に記載の配線体。
【請求項3】
前記第1樹脂層と前記第2樹脂層とは、同じ樹脂材料で構成される、請求項1に記載の配線体。
【請求項4】
前記導体層を構成する導電線の高さ寸法を幅寸法で割ったアスペクト比は1より大きい、請求項1に記載の配線体。
【請求項5】
前記第1樹脂層は、前記導体層を構成する導電線の側面、及び上面の一部を覆い、
前記第2樹脂層は、前記第1樹脂層、及び前記導電線の前記上面の他の一部を覆う、請求項1に記載の配線体。
【請求項6】
前記第1樹脂層が前記導電線の前記上面を覆う面積より、前記第2樹脂層が前記導電線の前記上面を覆う面積が大きい、請求項5に記載の配線体。
【請求項7】
前記第2樹脂層の厚みをX、前記樹脂層の樹脂屈折率をYとした場合、式(1)を満たす、請求項1に記載の配線体。
X≦-5.43 ×Y+11.664 …(1)
【請求項8】
請求項1~7の何れか一項に記載の配線体を備える、表示装置。
発明の詳細な説明
【技術分野】
【0001】
本開示は、配線体、及び表示装置に関する。
続きを表示(約 1,000 文字)
【背景技術】
【0002】
従来、基材と、基材上に設けられたメッシュ状の導体パターンと、基材上に設けられた樹脂層と、を備える配線体が知られている(例えば、特許文献1)。樹脂層にはトレンチが形成されており、当該トレンチ内に導体パターンの導電線が形成されている。導電線の下面が基材の主面から離間した位置に配置されている。
【先行技術文献】
【特許文献】
【0003】
特開2021-163571号公報
【発明の概要】
【発明が解決しようとする課題】
【0004】
ここで、上述の配線体では、樹脂層の表面に導電線が露出していることで、配線体の表面の平坦性を向上することが求められていた。また、配線体の導体層のシート抵抗を低くすることが求められていた。
【0005】
そこで、本開示は、配線体の平坦性を向上しつつ、シート抵抗を低下させることができる配線体、及び表示装置を提供することを目的とする。
【課題を解決するための手段】
【0006】
本開示の一側面に係る配線体は、基材と、基材上に設けられるメッシュ状の導体層と、導体層を覆う樹脂層と、を備え、樹脂層は、基材側から順に第1樹脂層と、第2樹脂層と、を有し、導体層は、第1樹脂層を貫通している。
【0007】
本開示の一側面に係る表示装置は、上述の配線体を備える。
【発明の効果】
【0008】
本開示の一側面によれば、配線体の平坦性を向上しつつ、シート抵抗を低下させることができる配線体、及び表示装置を提供することができる。
【図面の簡単な説明】
【0009】
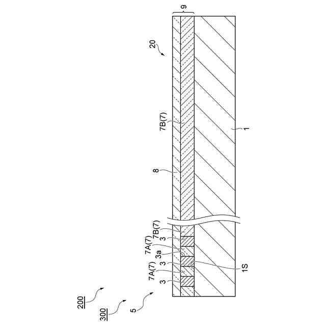
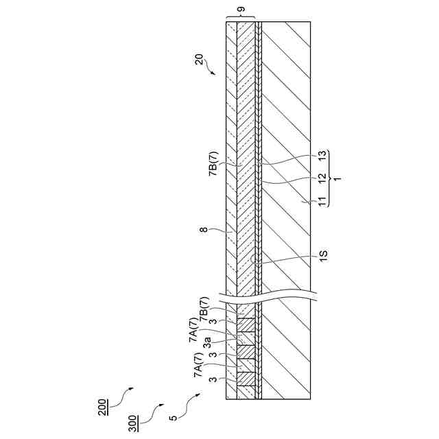
配線体を備える導電性フィルムの一実施形態を示す平面図である。
図1のII-II線に沿う断面図である。
変形例に係る導電性フィルムを示す断面図である。
表示装置の一実施形態を示す断面図である。
配線体を備えるアンテナの平面図である。
配線体の断面図である。
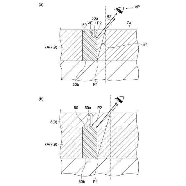
図6に示す導電線の付近の構造を示す拡大断面図である。
式(1)の導き方を説明するための図である。
式(1)の導き方を説明するためのグラフである。
【発明を実施するための形態】
【0010】
以下、本開示のいくつかの実施形態について詳細に説明する。ただし、本開示は以下の実施形態に限定されるものではない。
(【0011】以降は省略されています)
この特許をJ-PlatPat(特許庁公式サイト)で参照する
関連特許
TDK株式会社
接合構造
今日
TDK株式会社
電子部品
8日前
TDK株式会社
電力変換装置
8日前
TDK株式会社
アンテナモジュール
29日前
TDK株式会社
コモンモードフィルタ
1日前
TDK株式会社
磁気センサおよびその製造方法
8日前
TDK株式会社
入力装置及び入力装置の制御方法
14日前
TDK株式会社
磁気センサおよび磁気センサの製造方法
今日
TDK株式会社
軟磁性粉末、磁性体コア、および磁性部品
21日前
TDK株式会社
磁性シート及びこれを備えるコイルモジュール
21日前
TDK株式会社
軟磁性合金粒子、軟磁性粉末、圧粉磁芯および電子部品
21日前
TDK株式会社
コイル部品
14日前
東レ株式会社
積層体
5か月前
東レ株式会社
積層体
10か月前
東レ株式会社
積層構造体
10か月前
ユニチカ株式会社
積層体
3か月前
個人
箔転写シート
6か月前
ユニチカ株式会社
積層体
9か月前
個人
鋼材の塗膜構造
3か月前
東レ株式会社
強化繊維基材
5か月前
東レ株式会社
強化繊維基材
5か月前
東レ株式会社
積層フィルム
9か月前
東レ株式会社
積層フィルム
8か月前
東レ株式会社
積層フィルム
4か月前
東レ株式会社
積層フィルム
2か月前
東レ株式会社
無配向フィルム
1か月前
東レ株式会社
加飾用フィルム
1か月前
東ソー株式会社
多層フィルム
8か月前
ユニチカ株式会社
透明シート
3か月前
積水樹脂株式会社
磁性シート
8か月前
東洋紡株式会社
積層包装材料
3か月前
東ソー株式会社
多層フィルム
6か月前
東レ株式会社
光透過性表皮材
1か月前
エスケー化研株式会社
積層体
9か月前
アイカ工業株式会社
光学積層体
7か月前
大倉工業株式会社
多層フィルム
9か月前
続きを見る
他の特許を見る