TOP
|
特許
|
意匠
|
商標
特許ウォッチ
Twitter
他の特許を見る
10個以上の画像は省略されています。
公開番号
2025154703
公報種別
公開特許公報(A)
公開日
2025-10-10
出願番号
2024057848
出願日
2024-03-29
発明の名称
電子部品及び電子部品の製造方法
出願人
TDK株式会社
代理人
個人
,
個人
,
個人
主分類
H01F
27/29 20060101AFI20251002BHJP(基本的電気素子)
要約
【課題】素体と端子電極との接合強度の向上が図れる電子部品及び電子部品の製造方法を提供する。
【解決手段】電子部品1は、互いに対向している一対の主面2a,2bと、一対の主面2a,2bを連結している四つの側面2c,2d,2e,2fと、を有する素体2と、側面2e,2fにおいて、素体2に埋設して配置されている第一端子電極4、第二端子電極5、第三端子電極6、第四端子電極7、第五端子電極8及び第六端子電極9と、を備え、第一端子電極4、第二端子電極5、第三端子電極6、第四端子電極7、第五端子電極8及び第六端子電極9は、複数の端子導体40,50,60,70,80,90を含んで構成されており、複数の端子導体40,50,60,70,80,90の少なくとも一つの端子導体40,50,60,70,80,90は、第一方向D1に対して傾斜するテーパー面を有している。
【選択図】図1
特許請求の範囲
【請求項1】
互いに対向している一対の主面と、一対の前記主面を連結している四つの側面と、を有する素体と、
四つの前記側面のうちの少なくとも一つの側面において、前記素体に埋設して配置されている端子電極と、を備え、
前記端子電極は、複数の端子導体を含んで構成されており、
複数の前記端子導体の少なくとも一つの前記端子導体は、一対の前記主面の対向方向に対して傾斜するテーパー面を有している、電子部品。
続きを表示(約 990 文字)
【請求項2】
前記端子電極は、一対の前記主面及び前記側面のそれぞれに露出しており、
前記端子電極の表面は、一対の前記主面及び前記側面から突出していない、請求項1に記載の電子部品。
【請求項3】
複数の前記端子導体は、前記側面に直交する方向から見て、当該側面において、前記対向方向に直交する方向において連結して並んで配置されている、請求項1又は2に記載の電子部品。
【請求項4】
前記端子電極は、一対の前記主面のそれぞれに露出しており、
一方の前記主面に露出する前記端子電極の形状と、他方の前記主面に露出する前記端子電極の形状とが異なる、請求項3に記載の電子部品。
【請求項5】
前記端子導体の前記テーパー面は、前記対向方向から見て、湾曲形状を呈している、請求項1又は2に記載の電子部品。
【請求項6】
前記端子電極は、一対の前記主面のそれぞれに露出しており、
一方の前記主面に露出する前記端子電極の面積と、他方の前記主面に露出する前記端子電極の面積とが異なる、請求項1又は2に記載の電子部品。
【請求項7】
互いに対向している一対の主面と、一対の前記主面を連結している四つの側面と、を有する素体と、
四つの前記側面のうちの少なくとも一つの側面において、前記素体に埋設して配置されている端子電極と、を備え、
前記端子電極は、複数の端子導体を含んで構成されており、一対の前記主面の対向方向において凹凸を有している、電子部品。
【請求項8】
前記端子電極は、一対の前記主面及び前記側面のそれぞれに露出しており、
前記端子電極の表面は、一対の前記主面及び前記側面から突出していない、請求項7に記載の電子部品。
【請求項9】
複数の前記端子導体は、前記側面に直交する方向から見て、当該側面において、前記対向方向に直交する方向において連結して並んで配置されている、請求項1又は2に記載の電子部品。
【請求項10】
前記端子導体は、一対の前記主面の対向方向に対して傾斜するテーパー面を有しており、前記対向方向から見て、湾曲形状を呈している、請求項7又は8に記載の電子部品。
(【請求項11】以降は省略されています)
発明の詳細な説明
【技術分野】
【0001】
本発明は、電子部品及び電子部品の製造方法に関する。
続きを表示(約 1,300 文字)
【背景技術】
【0002】
電子部品として、互いに対向している一対の主面と、一対の主面を連結している四つの側面と、を有する素体と、四つの側面のそれぞれに配置されている複数の端子電極と、を備えるものが知られている(たとえば、特許文献1参照)。
【先行技術文献】
【特許文献】
【0003】
特開2006-135139号公報
【発明の概要】
【発明が解決しようとする課題】
【0004】
本発明の一側面は、素体と端子電極との接合強度の向上が図れる電子部品及び電子部品の製造方法を提供することを目的とする。
【課題を解決するための手段】
【0005】
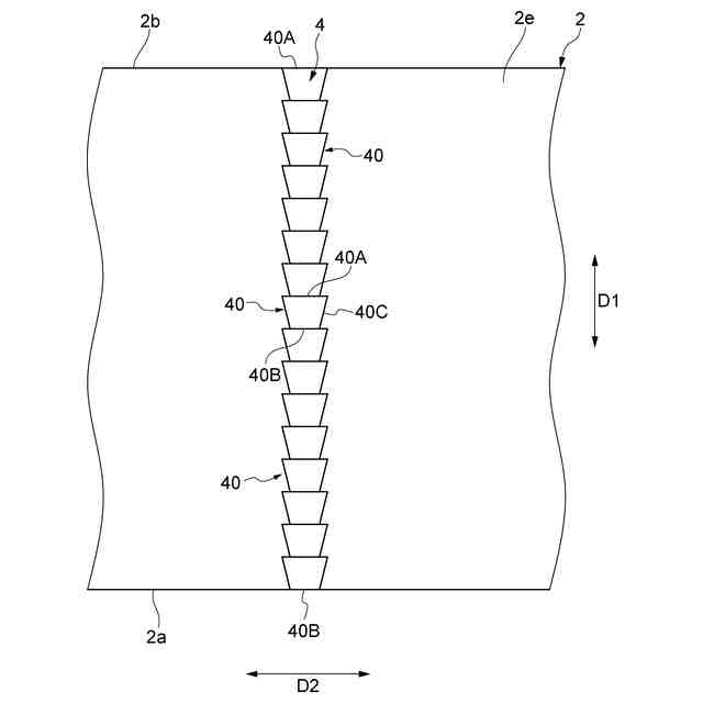
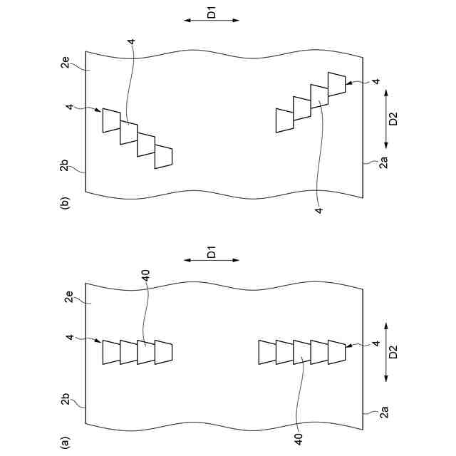
(1)本発明の一側面に係る電子部品は、互いに対向している一対の主面と、一対の主面を連結している四つの側面と、を有する素体と、四つの側面のうちの少なくとも一つの側面において、素体に埋設して配置されている端子電極と、を備え、端子電極は、複数の端子導体を含んで構成されており、複数の端子導体の少なくとも一つの端子導体は、一対の主面の対向方向に対して傾斜するテーパー面を有している。
【0006】
本発明の一側面に係る電子部品では、複数の端子導体の少なくとも一つの端子導体は、一対の主面の対向方向に対して傾斜するテーパー面を有している。これにより、電子部品では、端子電極において、テーパー面の部分に素体が入り込む。そのため、電子部品では、アンカー効果によって、素体と端子電極との密着性を高めることができる。したがって、電子部品では、素体と端子電極との接合強度の向上が図れる。
【0007】
(2)上記(1)の電子部品において、端子電極は、一対の主面及び側面のそれぞれに露出しており、端子電極の表面は、一対の主面及び側面から突出していなくてもよい。この構成では、端子電極が一対の主面のそれぞれから突出しないため、電子部品において、一対の主面を平坦にすることができる。
【0008】
(3)上記(1)又は(2)の電子部品において、複数の端子導体は、側面に直交する方向から見て、当該側面において、対向方向に直交する方向において連結して並んで配置されていてもよい。この構成では、素体の側面において、上記対向方向に直交する方向に延在する(幅広な)端子電極を形成できる。
【0009】
(4)上記(3)の電子部品において、端子電極は、一対の主面のそれぞれに露出しており、一方の主面に露出する端子電極の形状と、他方の主面に露出する前記端子電極の形状とが異なっていてもよい。この構成では、電子部品の方向(実装方向)を一見して認識することができる。
【0010】
(5)上記(1)~(4)のいずれかひとつの電子部品において、端子導体のテーパー面は、対向方向から見て、湾曲形状を呈していてもよい。この構成では、端子導体の全周がテーパー面となるため、アンカー効果をより効果的に得ることができる。したがって、電子部品では、素体と端子電極との密着性をより一層高めることができる。
(【0011】以降は省略されています)
この特許をJ-PlatPat(特許庁公式サイト)で参照する
関連特許
日機装株式会社
加圧装置
3日前
日新イオン機器株式会社
イオン源
3日前
マクセル株式会社
電源装置
1か月前
株式会社東芝
端子台
1か月前
株式会社GSユアサ
蓄電装置
1か月前
株式会社GSユアサ
蓄電装置
1か月前
株式会社GSユアサ
蓄電装置
1か月前
三菱電機株式会社
回路遮断器
26日前
株式会社GSユアサ
蓄電装置
18日前
富士電機株式会社
電磁接触器
18日前
個人
電源ボックス及び電子機器
3日前
日本特殊陶業株式会社
保持装置
1か月前
株式会社東芝
電子源
3日前
大電株式会社
電線又はケーブル
10日前
トヨタ自動車株式会社
蓄電装置
10日前
トヨタ自動車株式会社
蓄電装置
1か月前
ホシデン株式会社
複合コネクタ
12日前
株式会社トクミ
ケーブル
4日前
株式会社レゾナック
冷却器
26日前
ローム株式会社
半導体モジュール
19日前
住友電装株式会社
コネクタ
18日前
矢崎総業株式会社
コネクタ
18日前
甲神電機株式会社
変流器及び零相変流器
1か月前
日本無線株式会社
レーダアンテナ
1か月前
ヒロセ電機株式会社
電気コネクタ
18日前
日本特殊陶業株式会社
アンテナ装置
5日前
トヨタ自動車株式会社
蓄電装置構造
4日前
富士電機株式会社
半導体モジュール
1か月前
日本特殊陶業株式会社
アンテナ装置
5日前
矢崎総業株式会社
端子
10日前
株式会社デンソー
熱交換部材
1か月前
株式会社パロマ
監視システム
10日前
日本航空電子工業株式会社
コネクタ
3日前
株式会社デンソー
半導体装置
18日前
三菱電機株式会社
半導体装置
3日前
日本特殊陶業株式会社
アンテナ装置
5日前
続きを見る
他の特許を見る