TOP
|
特許
|
意匠
|
商標
特許ウォッチ
Twitter
他の特許を見る
10個以上の画像は省略されています。
公開番号
2025154630
公報種別
公開特許公報(A)
公開日
2025-10-10
出願番号
2024057740
出願日
2024-03-29
発明の名称
積層セラミック電子部品
出願人
TDK株式会社
代理人
前田・鈴木国際特許弁理士法人
主分類
H01G
4/30 20060101AFI20251002BHJP(基本的電気素子)
要約
【課題】温度特性を良好に維持しつつサーマルクラックの発生を抑制した積層セラミック電子部品を提供すること。
【解決手段】誘電体層と内部電極層とが積層されてなる積層セラミック電子部品である。内部電極層のうち積層方向に沿って最も外側にある内部電極層を第1内部電極層とする。第1内部電極層におけるMn濃度が他の内部電極層におけるMn濃度よりも高い。
【選択図】図4
特許請求の範囲
【請求項1】
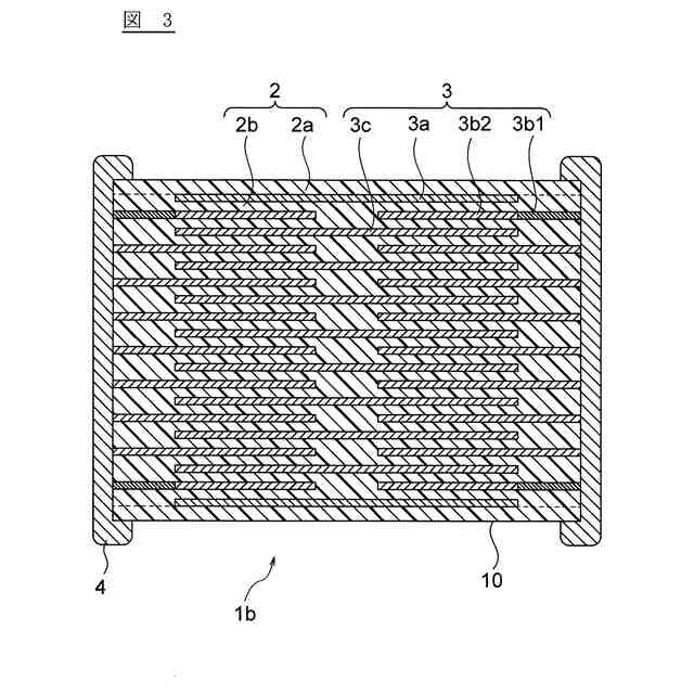
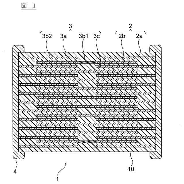
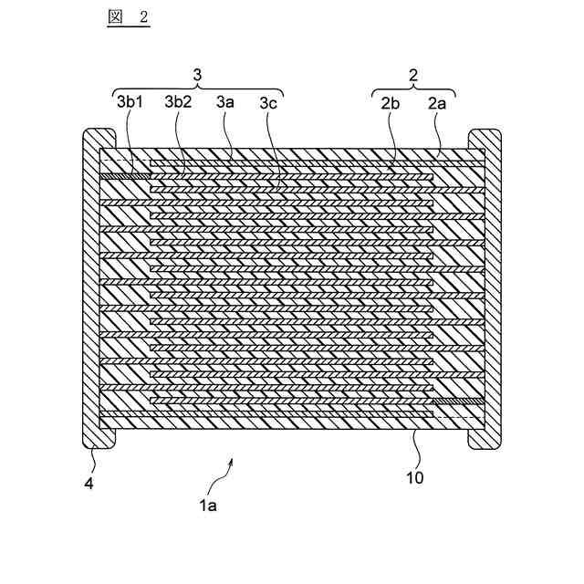
誘電体層と内部電極層とが積層されてなる積層セラミック電子部品であって、
前記内部電極層のうち積層方向に沿って最も外側にある内部電極層を第1内部電極層として、前記第1内部電極層におけるMn濃度が他の内部電極層におけるMn濃度よりも高い積層セラミック電子部品。
続きを表示(約 700 文字)
【請求項2】
前記内部電極層のうち、前記第1内部電極層よりも内側にありギャップ対応部を有する内部電極層を第2内部電極層とし、
前記第2内部電極層よりも内側にありギャップ対応部を有さない内部電極層を第3内部電極層とし、
前記第1内部電極層におけるMn濃度をC1、前記第2内部電極層の前記ギャップ部におけるMn濃度をC2A、前記第3内部電極層におけるMn濃度をC3として、
C3<C2A<C1を満たす請求項1に記載の積層セラミック電子部品。
【請求項3】
C1/C3が2.5以上4.0である請求項2に記載の積層セラミック電子部品。
【請求項4】
前記第2内部電極層の前記ギャップ対応部以外の部分におけるMn濃度をC2Bとして、C2A/C2Bが1.5以上3.0以下である請求項2に記載の積層セラミック電子部品。
【請求項5】
C1/C2Aが1.2以上2.0以下である請求項2に記載の積層セラミック電子部品。
【請求項6】
前記誘電体層のうち前記積層方向に沿って前記第1内部電極層より内側にある誘電体層を内部誘電体層として、前記内部誘電体層の厚みが3.0um以上15um以下である請求項1~5のいずれかに記載の積層セラミック電子部品。
【請求項7】
前記内部電極層の積層数が50以上300以下である請求項1~5のいずれかに記載の積層セラミック電子部品。
【請求項8】
前記誘電体層がCa、Sr、Zr、TiおよびOを含む請求項1~5のいずれかに記載の積層セラミック電子部品。
発明の詳細な説明
【技術分野】
【0001】
本発明は、積層セラミック電子部品に関する。
続きを表示(約 1,000 文字)
【背景技術】
【0002】
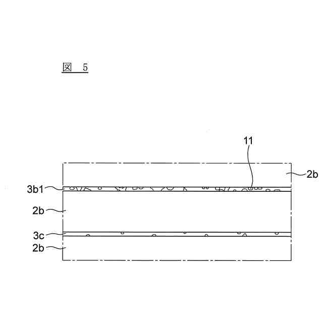
特許文献1には、積層セラミックコンデンサに関する発明が記載されている。具体的には、最外層内部電極と、その外側に位置する最外誘電体セラミック層と、の境界にMgとMnとを含有する境界層が形成されることでセラミック積層体への水分の侵入を抑制、防止できることが記載されている。
が記載されている。
【先行技術文献】
【特許文献】
【0003】
特開2014-232896号公報
【発明の概要】
【発明が解決しようとする課題】
【0004】
本発明は、温度特性を良好に維持しつつサーマルクラックの発生を抑制した積層セラミック電子部品を提供することを目的とする。
【課題を解決するための手段】
【0005】
上記の目的を達成するために、本発明に係る積層セラミック電子部品は、
誘電体層と内部電極層とが積層されてなる積層セラミック電子部品であって、
前記内部電極層のうち積層方向に沿って最も外側にある内部電極層を第1内部電極層として、前記第1内部電極層におけるMn濃度が他の内部電極層におけるMn濃度よりも高い積層セラミック電子部品である。
【0006】
前記内部電極層のうち、前記第1内部電極層よりも内側にありギャップ対応部を有する内部電極層を第2内部電極層とし、
前記第2内部電極層よりも内側にありギャップ対応部を有さない内部電極層を第3内部電極層とし、
前記第1内部電極層におけるMn濃度をC1、前記第2内部電極層の前記ギャップ部におけるMn濃度をC2A、前記第3内部電極層におけるMn濃度をC3として、
C3<C2A<C1を満たしてもよい。
【0007】
C1/C3が2.5以上4.0であってもよい。
【0008】
前記第2内部電極層の前記ギャップ対応部以外の部分におけるMn濃度をC2Bとして、C2A/C2Bが1.5以上3.0以下であってもよい。
【0009】
C1/C2Aが1.2以上2.0以下であってもよい。
【0010】
前記誘電体層のうち前記積層方向に沿って前記第1内部電極層より内側にある誘電体層を内部誘電体層として、前記内部誘電体層の厚みが3.0um以上15um以下であってもよい。
(【0011】以降は省略されています)
この特許をJ-PlatPat(特許庁公式サイト)で参照する
関連特許
TDK株式会社
電子部品
3日前
TDK株式会社
接合構造
8日前
TDK株式会社
電子部品
16日前
TDK株式会社
電力変換装置
16日前
TDK株式会社
アンテナモジュール
1か月前
TDK株式会社
コモンモードフィルタ
9日前
TDK株式会社
磁気センサおよびその製造方法
16日前
TDK株式会社
入力装置及び入力装置の制御方法
22日前
TDK株式会社
磁気センサおよび磁気センサの製造方法
8日前
TDK株式会社
軟磁性粉末、磁性体コア、および磁性部品
29日前
TDK株式会社
磁性シート及びこれを備えるコイルモジュール
29日前
TDK株式会社
軟磁性合金粒子、軟磁性粉末、圧粉磁芯および電子部品
29日前
TDK株式会社
接合構造
1日前
TDK株式会社
コイル部品
22日前
APB株式会社
蓄電セル
1か月前
東ソー株式会社
絶縁電線
1か月前
日機装株式会社
加圧装置
1日前
日新イオン機器株式会社
イオン源
1日前
マクセル株式会社
電源装置
1か月前
株式会社東芝
端子台
1か月前
ローム株式会社
半導体装置
1か月前
株式会社GSユアサ
蓄電装置
16日前
株式会社ホロン
冷陰極電子源
1か月前
株式会社GSユアサ
蓄電装置
1か月前
富士電機株式会社
電磁接触器
16日前
三菱電機株式会社
回路遮断器
24日前
株式会社GSユアサ
蓄電装置
1か月前
株式会社GSユアサ
蓄電装置
1か月前
トヨタ自動車株式会社
蓄電装置
8日前
トヨタ自動車株式会社
バッテリ
1か月前
株式会社トクミ
ケーブル
2日前
個人
電源ボックス及び電子機器
1日前
大電株式会社
電線又はケーブル
8日前
ホシデン株式会社
複合コネクタ
10日前
北道電設株式会社
配電具カバー
1か月前
日本特殊陶業株式会社
保持装置
29日前
続きを見る
他の特許を見る