TOP
|
特許
|
意匠
|
商標
特許ウォッチ
Twitter
他の特許を見る
公開番号
2025153432
公報種別
公開特許公報(A)
公開日
2025-10-10
出願番号
2024055914
出願日
2024-03-29
発明の名称
超音波風速計
出願人
ミツミ電機株式会社
代理人
個人
,
個人
主分類
G01P
5/24 20060101AFI20251002BHJP(測定;試験)
要約
【課題】測定結果に対する雨滴の影響を抑制する。
【解決手段】超音波風速計100は、超音波送受信機30の底面30bが露出するように超音波送受信機30を搭載する上部躯体10と、上部躯体10に対して第1方向(Z軸方向)に所定の距離離れて配置された下部躯体20と、を備え、上部躯体10の外縁には、第1方向に見て第1方向に交差する第2方向(X軸方向)に広がる傾斜部45が形成されている。
【選択図】図3
特許請求の範囲
【請求項1】
超音波送受信機の底面が露出するように前記超音波送受信機を搭載する上部躯体と、
前記上部躯体に対して第1方向に所定の距離離れて配置された下部躯体と、を備え、
前記上部躯体の外縁には、前記第1方向に見て前記第1方向に交差する第2方向に広がる傾斜部が形成されている超音波風速計。
続きを表示(約 1,000 文字)
【請求項2】
前記第2方向において前記傾斜部と前記超音波送受信機との間には空洞部が形成されている請求項1に記載の超音波風速計。
【請求項3】
前記上部躯体の底面は、前記第2方向及び前記第2方向と交差する第3方向に沿う第1平面を含み、
前記傾斜部の底部は、前記第2方向において前記上部躯体の中心に近い方よりも、前記上部躯体の中心から遠い方が、前記第1方向において前記下部躯体に近い位置に配置されるように傾斜する請求項1又は2に記載の超音波風速計。
【請求項4】
前記上部躯体の底部は、前記第2方向において、前記傾斜部よりも内側に配置された角部を有し、
前記第2方向において、前記角部と前記傾斜部との間に空洞部が形成され、
前記上部躯体の底部に形成された前記角部は、丸みを帯びている請求項1に記載の超音波風速計。
【請求項5】
前記上部躯体の底部には、前記上部躯体の中心に対して、前記超音波送受信機よりも外側であり、前記第2方向において前記空洞部と前記超音波送受信機との間に窪みが形成されている請求項2又は4に記載の超音波風速計。
【請求項6】
前記第2方向に対する前記傾斜部の外面の傾斜角度は、
前記傾斜部において落下する雨滴の運動エネルギが、前記傾斜部の外面に付着した雨滴の表面張力のエネルギよりも大きくなるように設定された角度である請求項1に記載の超音波風速計。
【請求項7】
前記上部躯体は、
前記超音波送受信機を搭載する第1部分と、
前記第2方向において前記第1部分の外側に配置され、前記傾斜部を有する第2部分と、を備え、
前記第2部分は、前記第1部分に対して着脱可能である請求項1に記載の超音波風速計。
【請求項8】
前記傾斜部の先端部から前記第1方向に延びる仮想の第1直線と、前記傾斜部の先端部と前記下部躯体の上面の端部とを結ぶ仮想の第2直線との第1角度は、
前記上部躯体の下面に付着した雨滴が風で飛ばない場合の最大風速において、前記傾斜部の先端部から落下する雨滴が前記下部躯体の上面に届かないように設定された角度である請求項1に記載の超音波風速計。
【請求項9】
前記第1角度は33度以上である請求項8に記載の超音波風速計。
発明の詳細な説明
【技術分野】
【0001】
本開示は、超音波風速計に関する。
続きを表示(約 1,600 文字)
【背景技術】
【0002】
例えば気象要素を観測する複数のセンサを装備した気象計が知られている(例えば特許文献1参照)。特許文献1に記載の気象計は、第1ユニット、第2ユニット、第3ユニット、及び第4ユニットを備える。第1ユニットの屋根部には雨滴センサ及び日照センサが設けられている。第2ユニットは第1ユニットの下方に支柱を介して取り付けられている。第2ユニットの上面には超音波風向風速センサが設けられ、第2ユニットの内部には気圧センサが配置されている。第3ユニットは第2ユニットの下方に配置され、温度センサ及び気圧センサを収容する。第4ユニットは、第3ユニットを取り囲むように配置された通風筒を有する。
【先行技術文献】
【特許文献】
【0003】
特開2015-210132号公報
【発明の概要】
【発明が解決しようとする課題】
【0004】
従来技術では雨滴による影響について改善の余地があった。
【0005】
本開示は、測定結果に対する雨滴の影響を抑制することが可能な超音波風速計を提供する。
【課題を解決するための手段】
【0006】
本開示に係る超音波風速計は、超音波送受信機の底面が露出するように超音波送受信機を搭載する上部躯体と、上部躯体に対して第1方向に所定の距離離れて配置された下部躯体と、を備え、上部躯体の外縁には、第1方向に見て第1方向に交差する第2方向に広がる傾斜部が形成されている。
【発明の効果】
【0007】
本開示は、測定結果に対する雨滴の影響を抑制することが可能な超音波風速計を提供することができる。
【図面の簡単な説明】
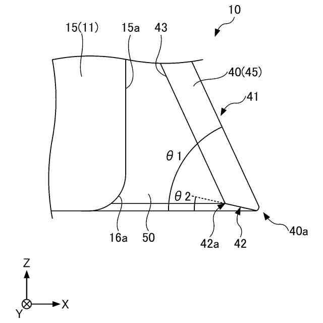
【0008】
第1実施形態に係る超音波風速計を例示する概略斜視図である。
第1実施形態に係る超音波風速計を例示する概略平面図である。
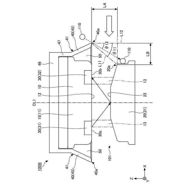
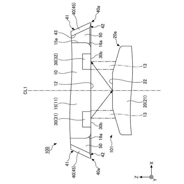
第1実施形態に係る超音波風速計を例示する概略断面図であり、図2中のIII-III線に沿った概略断面図である。
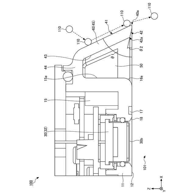
傘部の要部を拡大して例示する部分拡大断面図である。
本体部の角部、空洞部、及び傘部の底部を拡大して例示する部分拡大断面図である。
第2実施形態に係る超音波風速計を例示する概略断面図である。
【発明を実施するための形態】
【0009】
以下、実施形態に係る超音波風速計について、添付の図面を参照しながら説明する。尚、本明細書及び図面において、実質的に同一の構成要素については、同一の符号を付することにより重複した説明を省く場合がある。また、本明細書において、「上」及び「下」との用語を使用する場合がある。これは、図1及び図3に示されている状態における「上」及び「下」であり、Z軸方向において、上部躯体10が配置されている方を「上」とし、下部躯体20が配置されている方を「下」とする。
【0010】
[第1実施形態に係る超音波風速計100]
図1は、第1実施形態に係る超音波風速計100を例示する概略斜視図である。図2は第1実施形態に係る超音波風速計100を例示する概略平面図である。図3は、第1実施形態に係る超音波風速計100を例示する概略断面図であり、図2中のIII-III線に沿った概略断面図である。図4は、傘部40の要部を拡大して例示する部分拡大断面図である。なお、各図において、互いに直交するX軸方向、Y軸方向、及びZ軸方向を図示する場合がある。X軸方向、Y軸方向、及びZ軸方向は、直交していなくてもよい。X軸方向、Y軸方向、及びZ軸方向は任意の方向でもよい。Z軸方向は、第1方向の一例である。X軸方向は、第1方向と交差する第2方向の一例である。Y軸方向は、第1方向及び第2方向に交差する第3方向の一例である。X軸方向及びY軸方向は逆でもよい。
(【0011】以降は省略されています)
この特許をJ-PlatPat(特許庁公式サイト)で参照する
関連特許
ミツミ電機株式会社
圧力検出素子及び圧力センサ
10日前
個人
視触覚センサ
2日前
日本精機株式会社
検出装置
1か月前
個人
採尿及び採便具
1か月前
個人
計量機能付き容器
27日前
株式会社ミツトヨ
測定器
1か月前
甲神電機株式会社
電流検出装置
1か月前
株式会社カクマル
境界杭
17日前
日本精機株式会社
発光表示装置
10日前
ユニパルス株式会社
トルク変換器
2日前
ユニパルス株式会社
トルク変換器
2日前
株式会社トプコン
測量装置
9日前
ユニパルス株式会社
トルク変換器
2日前
アズビル株式会社
電磁流量計
1か月前
大成建設株式会社
風洞実験装置
27日前
個人
非接触による電磁パルスの測定方法
1か月前
個人
計量具及び計量機能付き容器
27日前
大和製衡株式会社
組合せ計量装置
1か月前
日本特殊陶業株式会社
ガスセンサ
9日前
日本特殊陶業株式会社
ガスセンサ
2日前
日本信号株式会社
距離画像センサ
1か月前
双庸電子株式会社
誤配線検査装置
1か月前
日本特殊陶業株式会社
ガスセンサ
3日前
個人
システム、装置及び実験方法
1か月前
愛知電機株式会社
軸部材の外観検査装置
1か月前
愛知時計電機株式会社
ガスメータ
1か月前
日本特殊陶業株式会社
ガスセンサ
25日前
大和製衡株式会社
組合せ計量装置
1か月前
日本特殊陶業株式会社
センサ
11日前
日置電機株式会社
絶縁抵抗測定装置
2日前
日東精工株式会社
振動波形検査装置
1か月前
株式会社不二越
X線測定装置
1か月前
キーコム株式会社
画像作成システム
17日前
株式会社タイガーカワシマ
揚穀装置
9日前
日本特殊陶業株式会社
センサ
1か月前
個人
液位検視及び品質監視システム
25日前
続きを見る
他の特許を見る