TOP
|
特許
|
意匠
|
商標
特許ウォッチ
Twitter
他の特許を見る
10個以上の画像は省略されています。
公開番号
2025154192
公報種別
公開特許公報(A)
公開日
2025-10-10
出願番号
2024057064
出願日
2024-03-29
発明の名称
測定装置
出願人
株式会社トプコン
代理人
個人
,
個人
,
個人
主分類
G01C
15/00 20060101AFI20251002BHJP(測定;試験)
要約
【課題】レーザ光が所定方向に出射される場合に測定精度が低下することを抑えることができる測定装置を提供すること。
【解決手段】測定装置1は、水平整準を行う整準機構部4と、整準機構部4に搭載された測定装置本体2と、を備える。測定装置本体2は、水平回転軸33を有し水平方向に回転可能に設けられた托架部10と、垂直回転軸16に接続されて垂直方向に回転可能に托架部10に支持され、照射対象物に向けてレーザ光を出射するレーザ出射部50と、演算制御部と、を有する。レーザ出射部50がレーザ光を所定方向に出射する場合、演算制御部は、整準機構部4を整準状態から所定角度だけ傾斜させ、整準機構部4の傾斜の方向を打ち消す方向に垂直回転軸16を回転させる制御を実行する。
【選択図】図1
特許請求の範囲
【請求項1】
水平整準を行う整準機構部と、
前記整準機構部に搭載された測定装置本体と、
を備え、
前記測定装置本体は、
水平回転軸を有し水平方向に回転可能に設けられた托架部と、
垂直回転軸に接続されて垂直方向に回転可能に前記托架部に支持され、照射対象物に向けてレーザ光を出射するレーザ出射部と、
演算制御部と、
を有し、
前記レーザ出射部が前記レーザ光を所定方向に出射する場合、前記演算制御部は、前記整準機構部を整準状態から所定角度だけ傾斜させ、前記整準機構部の傾斜の方向を打ち消す方向に前記垂直回転軸を回転させる制御を実行することを特徴とする測定装置。
続きを表示(約 530 文字)
【請求項2】
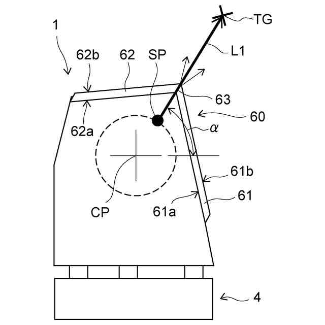
前記測定装置本体は、前記レーザ出射部から出射された前記レーザ光が外部に出射される際に透過する複数の透過窓をさらに有し、
前記複数の透過窓は、互いに角度が異なって、かつ、前記レーザ出射部の回転方向に連続して配置され、
隣接する前記複数の透過窓の端面どうしは、接合面において接合されており、
前記所定方向は、前記レーザ出射部から前記接合面に向かう方向であることを特徴とする請求項1に記載の測定装置。
【請求項3】
前記測定装置本体は、記憶部をさらに有し、
前記レーザ出射部から前記接合面に向かう方向は、前記記憶部に記憶されており、
前記所定角度は、補正値として前記記憶部に記憶されていることを特徴とする請求項2に記載の測定装置。
【請求項4】
前記所定方向は、天頂方向であることを特徴とする請求項1に記載の測定装置。
【請求項5】
前記測定装置本体は、記憶部をさらに有し、
前記所定角度は、前記水平回転軸に直交する方向と前記垂直回転軸の方向との間の機械誤差角度であり、補正値として前記記憶部に記憶されていることを特徴とする請求項4に記載の測定装置。
発明の詳細な説明
【技術分野】
【0001】
本発明は、自動整準機能を有する測定装置に関する。
続きを表示(約 2,100 文字)
【背景技術】
【0002】
従来から、レーザ光を利用した測定装置が知られており、出射したレーザ光の反射光を受光して対象物の空間位置情報を取得したり、レーザ光を対象物に当てて土木建築の基準面や基準線を定めたりする等、様々な場面で測定装置が利用されている。測定装置については、測定範囲を広げるため、例えばレーザ光を出射するレーザ出射部を鉛直回転させると共に、レーザ出射部を支持する土台部分を水平回転させている。
【0003】
特許文献1には、自動測量装置が開示されている。特許文献1に記載された自動測量装置は、視準望遠鏡と、鉛直回転軸と、架台と、水平回転軸と、基台と、を備える。鉛直回転軸は、視準望遠鏡に形成されている。架台は、鉛直回転軸を回動自在に軸支する。水平回転軸は、架台に形成されている。基台は、水平回転軸を回動自在に軸支する。ここで、水平回転軸に直交する方向と鉛直回転軸の方向との間に、機械誤差角度が生ずる場合がある。すなわち、測定装置の製造上の機械的な誤差により、鉛直回転軸が水平回転軸に直交していない場合がある。この場合には、レーザ光を天頂方向に出射することができない。そのため、レーザ光が天頂方向に出射される場合、測定精度が低下する。
【0004】
また、特許文献2には、測量装置が開示されている。特許文献2に記載された測量装置において、レーザ出射部となる回転部は、保護ケースで覆われている。保護ケースは、レーザ光を透過するガラス等の透過窓である。測定範囲を広げるため、複数枚の透過窓が、レーザ光を出射する回転部に対応して回転方向に配列され、互いの端面において接合されている。
【0005】
透過窓の入射面に入射したレーザ光は、入射面において屈折してガラス等の透過窓を進む。ここで、レーザ光の出射方向によっては、レーザ光が複数枚の透過窓の接合面を通過して保護ケースの外部に出射される。そうすると、レーザ光が出射される透過窓は、レーザ光が入射した透過窓とは異なる角度で配置された透過窓になる。この場合には、透過窓を透過したレーザ光は、レーザ光が透過窓に入射した方向とは異なる方向に透過窓から出射される。その結果、レーザ光が、本来指示したい方向とは異なる方向に出射される。また、複数枚の透過窓の接合面を通過して保護ケースの外部に出射されるレーザ光の光量は、複数枚の透過窓の接合面を通過しないレーザ光の光量よりも少ない。そのため、レーザ光が複数枚の透過窓の接合面を通過する場合、測定精度が低下する。
【0006】
このように、レーザ光が所定方向に出射される場合に測定精度が低下する点において、特許文献1に記載された自動測量装置および特許文献2に記載された測量装置には、改善の余地がある。
【先行技術文献】
【特許文献】
【0007】
特開2000-180168号公報
特開2021-21678号公報
【発明の概要】
【発明が解決しようとする課題】
【0008】
本発明は、前記事情に鑑みてなされたものであり、レーザ光が所定方向に出射される場合に測定精度が低下することを抑えることができる測定装置を提供することを目的とする。
【課題を解決するための手段】
【0009】
前記課題は、水平整準を行う整準機構部と、前記整準機構部に搭載された測定装置本体と、を備え、前記測定装置本体は、水平回転軸を有し水平方向に回転可能に設けられた托架部と、垂直回転軸に接続されて垂直方向に回転可能に前記托架部に支持され、照射対象物に向けてレーザ光を出射するレーザ出射部と、演算制御部と、を有し、前記レーザ出射部が前記レーザ光を所定方向に出射する場合、前記演算制御部は、前記整準機構部を整準状態から所定角度だけ傾斜させ、前記整準機構部の傾斜の方向を打ち消す方向に前記垂直回転軸を回転させる制御を実行することを特徴とする本発明に係る測定装置により解決される。
【0010】
本発明に係る測定装置によれば、レーザ出射部がレーザ光を所定方向に出射する場合、演算制御部は、整準機構部を整準状態から所定角度だけ傾斜させ、整準機構部の傾斜の方向を打ち消す方向に垂直回転軸を回転させる制御を実行する。そのため、例えば、水平回転軸に直交する方向と垂直回転軸の方向との間に機械誤差角度が生じている場合であっても、演算制御部が整準機構部を整準状態から所定角度だけ傾斜させ、整準機構部の傾斜の方向を打ち消す方向に垂直回転軸を回転させることにより、レーザ出射部は、レーザ光を天頂方向に出射することができる。また、例えば、レーザ光が複数枚の透過窓の接合面に向かって出射される場合であっても、演算制御部が整準機構部を整準状態から所定角度だけ傾斜させ、整準機構部の傾斜の方向を打ち消す方向に垂直回転軸を回転させることにより、レーザ光が複数枚の透過窓の接合面を通過することを回避できる。以上より、本発明に係る測定装置は、レーザ光が所定方向に出射される場合に測定精度が低下することを抑えることができる。
(【0011】以降は省略されています)
この特許をJ-PlatPat(特許庁公式サイト)で参照する
関連特許
株式会社トプコン
眼科装置
15日前
株式会社トプコン
眼科装置
11日前
株式会社トプコン
眼科装置
11日前
株式会社トプコン
測定装置
8日前
株式会社トプコン
眼科装置
10日前
株式会社トプコン
測定装置
9日前
株式会社トプコン
測定装置
9日前
株式会社トプコン
眼科装置
10日前
株式会社トプコン
眼科装置
9日前
株式会社トプコン
ミラー部材
8日前
株式会社トプコン
視標呈示装置
9日前
株式会社トプコン
測量システム
8日前
株式会社トプコン
眼底観察装置
9日前
株式会社トプコン
非接触式眼圧計
8日前
株式会社トプコン
スリットランプ顕微鏡
1日前
株式会社トプコン
測量システム及び測量方法
9日前
株式会社トプコン
眼科装置及び変換式の生成方法
10日前
株式会社トプコン
物体検出装置および測量システム
8日前
株式会社トプコン
計測モジュールを用いた3次元データ計測システム
8日前
株式会社トプコン
3次元データ計測システムおよび3次元データ計測方法
8日前
株式会社トプコン
眼科装置
15日前
株式会社トプコン
眼科装置
15日前
株式会社トプコン
眼科装置
15日前
株式会社トプコン
眼科装置、眼科装置を制御する方法、プログラム、及び記録媒体
9日前
株式会社トプコン
代替ターゲットの位置測定方法、点群計測装置、点群情報処理装置、媒体
9日前
株式会社トプコン
測量装置の補正画像表示方法、測量装置、および測量装置の自動視準または自動追尾のためのターゲット光位置特定方法
9日前
個人
メジャー文具
11日前
個人
アクセサリー型テスター
4日前
個人
高精度同時多点測定装置
3日前
日本精機株式会社
位置検出装置
17日前
ユニパルス株式会社
ロードセル
10日前
日本精機株式会社
位置検出装置
17日前
日本精機株式会社
位置検出装置
17日前
大和製衡株式会社
組合せ秤
22日前
大和製衡株式会社
組合せ秤
22日前
アズビル株式会社
圧力センサ
16日前
続きを見る
他の特許を見る