TOP
|
特許
|
意匠
|
商標
特許ウォッチ
Twitter
他の特許を見る
10個以上の画像は省略されています。
公開番号
2025154935
公報種別
公開特許公報(A)
公開日
2025-10-10
出願番号
2024058238
出願日
2024-03-29
発明の名称
3次元データ計測システムおよび3次元データ計測方法
出願人
株式会社トプコン
代理人
弁理士法人あお葉国際特許事務所
主分類
G01C
15/00 20060101AFI20251002BHJP(測定;試験)
要約
【課題】効率良的な3次元データの計測を可能とする3次元データ計測システムを提供する。
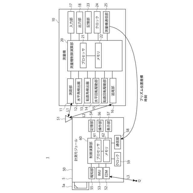
【解決手段】把持部を有する筐体と、筐体に取り付けられる再帰反射するプリズムと、警告を発する報知部と、筐体に収容される、計測範囲に測距光を送出し、照射点までの距離を検出する光波距離計と、姿勢情報を検出する慣性計測装置と、プリズムの位置座標および姿勢情報に基いて、自位置の位置座標を算出し、照射点の位置座標を算出するように構成された制御演算部と、を備える計測モジュール;および、前記プリズムを測距測角して、プリズムの位置座標を取得する測量機を備え、前記計測範囲の3次元データを取得するシステムであって、制御演算部は、測量機から計測モジュールへのベクトルと、計測モジュールから前記照射点までのベクトルとがなす角度を算出し、角度が閾値を超えたとき、報知部が警告を発するように構成した。
【選択図】図7
特許請求の範囲
【請求項1】
把持部を有する筐体と、
前記筐体に取り付けられて、入射した光を再帰反射するプリズムと、
警告を発する報知部と、
前記筐体に収容される、計測範囲に測距光を送出し、前記測距光の照射点から反射される反射測距光を受光して、前記照射点までの距離を検出する光波距離計と、
姿勢情報を検出する慣性計測装置と、
前記プリズムの位置座標を受信する通信部と、
前記プリズムの位置座標および前記姿勢情報に基いて、自位置の位置座標を算出し、前記自位置の位置座標、前記照射点までの距離および前記姿勢情報に基づいて、前記照射点の位置座標を算出するように構成された制御演算部と、
を備える計測モジュール;および、
前記プリズムを測距測角して、前記プリズムの位置座標を取得し、前記通信部に送信する測量機を備え、前記計測範囲の3次元データを取得する3次元データ計測システムであって、
前記制御演算部は、前記測量機から前記計測モジュールへのベクトルと、前記計測モジュールから前記照射点までのベクトルとがなす角度を算出し、前記角度が閾値を超えたとき、前記報知部が警告を発するように構成された、
ことを特徴とする3次元データ計測システム。
続きを表示(約 710 文字)
【請求項2】
前記筐体は表示部をさらに備え、
前記制御演算部は、前記角度が閾値を超えたとき、前記表示部に、前記計測モジュールを保持する作業者を、前記角度を小さくする方向に移動するように誘導する誘導表示を表示させる、
ことを特徴とする請求項1に記載の3次元データ計測システム。
【請求項3】
把持部を有する筐体と、
前記筐体に取り付けられて、入射した光を再帰反射するプリズムと、
警告を発する報知部と、
前記筐体に収容される、計測範囲に測距光を送出し、前記測距光の照射点から反射される反射測距光を受光して、前記照射点までの距離を検出する光波距離計と、
姿勢情報を検出する慣性計測装置と、
前記プリズムの位置座標を受信する通信部と、
前記プリズムの位置座標および前記姿勢情報に基いて、自位置の位置座標を算出し、前記自位置の位置座標、前記照射点までの距離および前記姿勢情報に基づいて、前記照射点の位置座標を算出するように構成された制御演算部と、
を備える計測モジュール;および、
前記プリズムを測距測角して、前記プリズムの位置座標を取得し、前記通信部に送信する測量機を備え、前記計測範囲の3次元データを取得する3次元データ計測システムを用いる3次元データ計測方法であって、
前記制御演算部が、前記測量機から前記計測モジュールへのベクトルと、前記計測モジュールから前記照射点までのベクトルとがなす角度を算出し、前記角度が閾値を超えたとき、前記報知部が警告を発するステップを備えることを特徴とする3次元データ計測方法。
発明の詳細な説明
【技術分野】
【0001】
本発明は、3次元データ計測システムに係り、より詳細には、計測モジュールと測量機とを用いた3次元データ計測システムおよび3次元データ計測方法に関する。
続きを表示(約 1,600 文字)
【背景技術】
【0002】
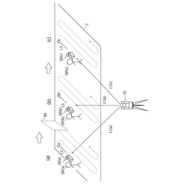
従来、建設工事における現況面計測では、自動追尾機能を有するトータルステーションと、プリズムを取り付けたポールとを備える3次元データ計測システムが用いられている。このようなシステムでは、作業者がポールを測定点上に設置して、トータルステーションに自動追尾させながら測定させる。この時、作業者は、気泡管を目視で確認してプリズムの水平を確保しながら測定を行う必要があり、作業が長時間になると作業者への負担が大きかった。また、使用するポールの長さを事前に計測して、システムにその値を入力しなくてはならなかった。
【0003】
近年では、GNSS受信機、傾斜センサ、方位センサ、光波距離計を備えることで、トータルステーションおよびポールを用いずに、光波距離計の照射点の3次元位置情報を計測することが可能な、3次元データ計測システムが開示されている(特許文献1)。
【先行技術文献】
【特許文献】
【0004】
特開2007-248156号公報
【発明の概要】
【発明が解決しようとする課題】
【0005】
特許文献1の3次元データ計測システムでは、ポール不要の計測が可能であるが、衛星からの電波が受信困難な屋内の環境では計測ができない。また、衛星からの電波が受信可能な屋外の環境であっても、計測する時間帯(衛星の数、衛星の幾何学的配置)の違いにより測定精度が劣化する。
【0006】
また、ポール不要の計測において、計測領域を効率的に計測する方法については、ニーズがある。例えば、自動追尾を用いる場合、追尾が外れると、復帰に時間を要する。この復帰にかかる時間は作業時間を増加させるだけであるため、追尾が外れることは非効率的である。
【0007】
すなわち、プリズム付きポールも、GNSS受信機も用いずに、3次元データ計測が可能で、かつ、計測領域を効率的に計測することができる3次元データ計測システムが求められていた。
【0008】
本発明は、係る事情を鑑みてなされたものであり、プリズム付きポールもGNSS装置も用いずに、効率良的な3次元データの計測を可能とする3次元データ計測システムおよび3次元データ計測方法を提供することを目的とする。
【課題を解決するための手段】
【0009】
上記目的を達成するために、本発明の1つの態様に係る3次元データ計測システムは、以下の構成を有する。
【0010】
1. 把持部を有する筐体と、前記筐体に取り付けられて、入射した光を再帰反射するプリズムと、警告を発する報知部と、前記筐体に収容される、計測範囲に測距光を送出し、前記測距光の照射点から反射される反射測距光を受光して、前記照射点までの距離を検出する光波距離計と、姿勢情報を検出する慣性計測装置と、前記プリズムの位置座標を受信する通信部と、前記プリズムの位置座標および前記姿勢情報に基いて、自位置の位置座標を算出し、前記自位置の位置座標、前記照射点までの距離および前記姿勢情報に基づいて、前記照射点の位置座標を算出するように構成された制御演算部と、を備える計測モジュール;および、前記プリズムを測距測角して、前記プリズムの位置座標を取得し、前記通信部に送信する測量機を備え、前記計測範囲の3次元データを取得する3次元データ計測システムであって、前記制御演算部は、前記測量機から前記計測モジュールへのベクトルと、前記計測モジュールから前記照射点までのベクトルとがなす角度を算出し、前記角度が閾値を超えたとき、前記報知部が警告を発するように構成されるように3次元データ計測システムを構成した。
(【0011】以降は省略されています)
この特許をJ-PlatPat(特許庁公式サイト)で参照する
関連特許
株式会社トプコン
眼科装置
3日前
株式会社トプコン
眼科装置
4日前
株式会社トプコン
測定装置
2日前
株式会社トプコン
測定装置
3日前
株式会社トプコン
測定装置
3日前
株式会社トプコン
眼科装置
9日前
株式会社トプコン
眼科装置
5日前
株式会社トプコン
眼科装置
5日前
株式会社トプコン
眼科装置
4日前
株式会社トプコン
ミラー部材
2日前
株式会社トプコン
多面反射装置
13日前
株式会社トプコン
測量システム
2日前
株式会社トプコン
眼底観察装置
3日前
株式会社トプコン
視標呈示装置
3日前
株式会社トプコン
非接触式眼圧計
2日前
株式会社トプコン
測量装置の校正方法
9日前
株式会社トプコン
眼科システム及び端末装置
17日前
株式会社トプコン
測量システム及び測量方法
3日前
株式会社トプコン
眼科装置及び変換式の生成方法
4日前
株式会社トプコン
物体検出装置および測量システム
2日前
株式会社トプコン
計測モジュールを用いた3次元データ計測システム
2日前
株式会社トプコン
傾斜検出装置及び該傾斜検出装置を用いた傾斜検出方法
13日前
株式会社トプコン
3次元データ計測システムおよび3次元データ計測方法
2日前
株式会社トプコン
眼科装置
9日前
株式会社トプコン
眼科装置
9日前
株式会社トプコン
眼科装置
9日前
株式会社トプコン
眼科装置、眼科装置を制御する方法、プログラム、及び記録媒体
3日前
株式会社トプコン
代替ターゲットの位置測定方法、点群計測装置、点群情報処理装置、媒体
3日前
株式会社トプコン
測量データ処理装置、測量データ処理方法および測量データ処理用プログラム
13日前
株式会社トプコン
測量装置の補正画像表示方法、測量装置、および測量装置の自動視準または自動追尾のためのターゲット光位置特定方法
3日前
個人
メジャー文具
5日前
日本精機株式会社
位置検出装置
11日前
日本精機株式会社
位置検出装置
11日前
日本精機株式会社
位置検出装置
11日前
ユニパルス株式会社
ロードセル
4日前
大和製衡株式会社
組合せ秤
16日前
続きを見る
他の特許を見る