TOP
|
特許
|
意匠
|
商標
特許ウォッチ
Twitter
他の特許を見る
10個以上の画像は省略されています。
公開番号
2025159778
公報種別
公開特許公報(A)
公開日
2025-10-22
出願番号
2024062530
出願日
2024-04-09
発明の名称
視標提示装置
出願人
株式会社トプコン
代理人
弁理士法人前川知的財産事務所
主分類
A61B
3/032 20060101AFI20251015BHJP(医学または獣医学;衛生学)
要約
【課題】遠用検査と近用検査とを行う際の検査効率を向上する視標提示装置を提供する。
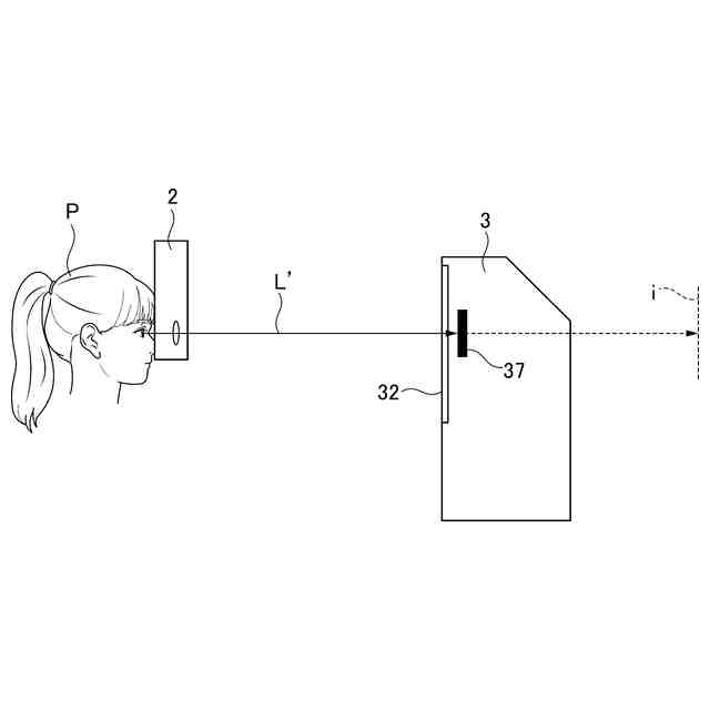
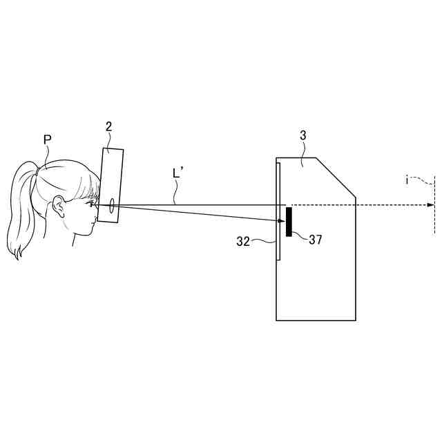
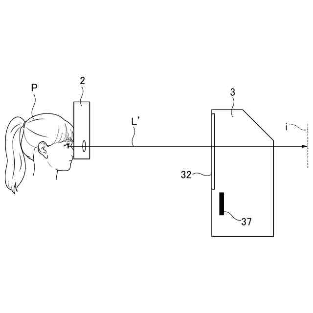
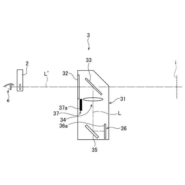
【解決手段】被検眼eに対して第1の距離に視標を提示する第1視標表示部(第1ディスプレイ36)と、第1の距離とは異なる第2の距離に視標を提示する第2視標表示部(第2ディスプレイ37)と、視標提示窓32が設けられた筐体31とを備え、被検眼eから視標提示窓32までの距離が第2の距離よりも短く、かつ、第1視標表示部及び第2視標表示部が同一の筐体31内に配置されている。
【選択図】図2
特許請求の範囲
【請求項1】
被検眼に対して第1の距離に視標を提示する第1視標表示部と、
前記第1の距離とは異なる第2の距離に視標を提示する第2視標表示部と、
視標提示窓が設けられた筐体と、を備え、
前記被検眼から前記視標提示窓までの距離が前記第2の距離よりも短く、かつ、前記第1視標表示部及び前記第2視標表示部が同一の前記筐体内に配置されていることを特徴とする視標提示装置。
続きを表示(約 650 文字)
【請求項2】
前記第1の距離は遠用検眼距離、前記第2の距離は近用検眼距離からなる請求項1に記載の視標提示装置。
【請求項3】
前記第1視標表示部及び前記第2視標表示部の制御を行う表示制御部と、
前記第2視標表示部を表示面に平行な方向に移動させる第1駆動部と、
前記第1駆動部を制御するための第1駆動制御部と、を備え、
前記第1駆動部は、前記第1駆動制御部の制御により、前記第2視標表示部を移動範囲内の少なくとも2か所以上の位置で停止可能とし、
前記表示制御部により停止位置での前記第1視標表示部及び前記第2視標表示部の表示、非表示の切り替えが可能である
請求項2に記載の視標提示装置。
【請求項4】
前記第2視標表示部の停止位置は、
前記第1視標表示部からの光束を遮る位置、
前記視標提示窓の開口部よりも上方で前記第1視標表示部からの光束を遮らない位置、
前記視標提示窓の開口部よりも下方の位置、のいずれかである
請求項3に記載の視標提示装置。
【請求項5】
前記筐体内に前記第1視標表示部からの光束を偏向する反射部材を有し、
前記反射部材の角度を変更する第2駆動部と、
前記第2駆動部を制御するための第2駆動制御部と、を備え、
前記反射部材の角度に応じて前記第2視標表示部を上下に駆動可能である
請求項2又は3に記載の視標提示装置。
発明の詳細な説明
【技術分野】
【0001】
本開示は、眼科検査に用いられる視標提示装置に関する。
続きを表示(約 1,300 文字)
【背景技術】
【0002】
従来、被検者に視標を提示し、被検者からの応答を基に被検眼の視機能を検査する自覚検眼装置が知られている。自覚検眼には被検眼からおよそ5m前方に視標を提示して検眼を行う遠用検査と、近用視距離である30~40cm前方に視標を提示して被検者の調節力を検査する近用検査とがある。近用検査は加齢等により、調節力の減衰の可能性のある高齢者に対して実施することが多い。
【0003】
一般的な近用検査としては、レフラクターヘッドに取り付けた近点棒に吊り下げられた近用の視標板を備えた眼科装置がある(例えば、特許文献1参照)。この眼科装置では、近用視標板を被検眼の視線の前方に垂下することで、提示している。一方、遠用検査を行う場合は、視線上から近用視標板を退避させる。
【0004】
また、筐体内に配置した視標提示部の向きを変更することで、ひとつの視標提示部を用いて遠用検査と近用検査視標を切り替えて提示する検眼装置がある(例えば、特許文献2参照)。
【先行技術文献】
【特許文献】
【0005】
特開2021-049220号公報
特開2019-177096号公報
【発明の概要】
【発明が解決しようとする課題】
【0006】
しかしながら、上記の従来技術では遠用検査の状態と近用検査の状態は両立できないため、遠用と近用の視標の挿脱や移動に手間や時間がかかり、検査効率という点で改良の余地があった。
【0007】
本開示は、上記の事情に鑑みて為されたもので、被検眼の遠用検査と近用検査とを行う際の検査効率をより向上させることを目的とする。
【課題を解決するための手段】
【0008】
上記目的を達成するため、本開示の眼科装置は、被検眼に対して第1の距離に視標を提示する第1視標表示部と、第1の距離とは異なる第2の距離に視標を提示する第2視標表示部と、視標提示窓が設けられた筐体と、を備え、被検眼から視標提示窓までの距離が第2の距離よりも短く、かつ、第1視標表示部及び第2視標表示部が同一の筐体内に配置されている。
【0009】
また、第1の距離は遠用検眼距離、第2の距離は近用検眼距離からなる。さらに、第1視標表示部及び第2視標表示部の制御を行う表示制御部と、第2視標表示部を表示面に平行な方向に移動させる第1駆動部と、前記第1駆動部を制御するための第1駆動制御部と、を備え、第1駆動部は、第1駆動制御部の制御により、第2視標表示部を移動範囲内の少なくとも2か所以上の位置で停止可能とし、表示制御部により停止位置での第1視標表示部及び第2視標表示部の表示、非表示の切り替えが可能としてもよい。
【発明の効果】
【0010】
このように構成することで、近用視標を提示する際、遠用視標光束を遮ることなく、上下位置をずらして提示することで切り替え時間が不要となり、遠用検査と近用検査とを行う際の検査効率をより向上させることができる。
【図面の簡単な説明】
(【0011】以降は省略されています)
この特許をJ-PlatPat(特許庁公式サイト)で参照する
関連特許
株式会社トプコン
測定装置
15日前
株式会社トプコン
眼科装置
15日前
株式会社トプコン
測定装置
14日前
株式会社トプコン
測定装置
15日前
株式会社トプコン
ミラー部材
14日前
株式会社トプコン
視標呈示装置
15日前
株式会社トプコン
眼底観察装置
15日前
株式会社トプコン
測量システム
14日前
株式会社トプコン
視標提示装置
2日前
株式会社トプコン
非接触式眼圧計
14日前
株式会社トプコン
スリットランプ顕微鏡
7日前
株式会社トプコン
測量システム及び測量方法
15日前
株式会社トプコン
眼科装置及び変換式の生成方法
16日前
株式会社トプコン
物体検出装置および測量システム
14日前
株式会社トプコン
計測モジュールを用いた3次元データ計測システム
14日前
株式会社トプコン
3次元データ計測システムおよび3次元データ計測方法
14日前
国立研究開発法人理化学研究所
醸造酒の検査方法および装置
今日
株式会社トプコン
眼科装置、眼科装置を制御する方法、プログラム、及び記録媒体
15日前
株式会社トプコン
代替ターゲットの位置測定方法、点群計測装置、点群情報処理装置、媒体
15日前
株式会社トプコン
測量装置の補正画像表示方法、測量装置、および測量装置の自動視準または自動追尾のためのターゲット光位置特定方法
15日前
個人
短下肢装具
3か月前
個人
白内障治療法
7か月前
個人
嚥下鍛錬装置
3か月前
個人
排尿補助器具
10日前
個人
前腕誘導装置
3か月前
個人
洗井間専家。
7か月前
個人
腰ベルト
今日
個人
胸骨圧迫補助具
1か月前
個人
矯正椅子
4か月前
個人
ウォート指圧法
8日前
個人
バッグ式オムツ
4か月前
個人
汚れ防止シート
25日前
個人
アイマスク装置
1か月前
個人
ホバーアイロン
6か月前
個人
歯の修復用材料
4か月前
個人
陣痛緩和具
3か月前
続きを見る
他の特許を見る