TOP
|
特許
|
意匠
|
商標
特許ウォッチ
Twitter
他の特許を見る
10個以上の画像は省略されています。
公開番号
2025149440
公報種別
公開特許公報(A)
公開日
2025-10-08
出願番号
2024050092
出願日
2024-03-26
発明の名称
眼科装置及び変換式の生成方法
出願人
株式会社トプコン
代理人
個人
,
個人
,
個人
,
個人
主分類
A61B
3/16 20060101AFI20251001BHJP(医学または獣医学;衛生学)
要約
【課題】コスト低減と負電圧の入力による誤作動防止と品質向上とを実現可能な眼科装置、及びこの眼科装置で用いられる変換式の生成方法を提供する。
【解決手段】ピストン34fにより圧縮したシリンダ34dの内部の空気をノズル21bから被検眼Eに吹き付ける吹付機構34と、シリンダ34dの内部の圧力を示す圧力信号を出力する圧力センサ34cと、被検眼Eに対して光束を投影する投影光学系(XYアライメント指標投影光学系22)と、被検眼Eにて反射された光束の反射光を受光して圧平信号を出力する圧平センサ(圧平検出光学系24)と、圧平信号と圧力信号とに基づいて被検眼の眼圧値を演算する眼圧値演算部56と、を備え、圧力センサ34cが、常に正電圧の圧力信号を出力する。
【選択図】図3
特許請求の範囲
【請求項1】
シリンダと、前記シリンダの内部に移動自在に設けられたピストンと、前記シリンダの内部に連通しているノズルと、を有し、前記ピストンにより圧縮した前記シリンダの内部の空気を前記ノズルから被検眼に吹き付ける吹付機構と、
前記シリンダの内部の圧力を示す圧力信号を出力する圧力センサと、
前記被検眼に対して光束を投影する投影光学系と、
前記被検眼にて反射された前記光束の反射光を受光して圧平信号を出力する圧平センサと、
前記圧平センサから出力される圧平信号と、前記圧力センサから出力される前記圧力信号と、に基づいて前記被検眼の眼圧値を演算する眼圧値演算部と、
を備え、
前記圧力センサが、常に正電圧の前記圧力信号を出力する眼科装置。
続きを表示(約 880 文字)
【請求項2】
前記圧力センサが、大気圧下で常に正電圧の前記圧力信号を出力する請求項1に記載の眼科装置。
【請求項3】
前記圧力センサから出力された前記圧力信号を増幅する増幅器と、
前記圧力信号に対して、少なくともアナログデジタル変換処理を施す信号処理回路と、
を備える請求項1に記載の眼科装置。
【請求項4】
前記信号処理回路から出力される前記圧力信号を圧力値に変換する変換式を取得する変換式取得部を備え、
前記眼圧値演算部が、
前記圧平信号の波形である圧平波形の重心位置を検出する処理と、
前記変換式取得部が取得した前記変換式に基づいて前記重心位置に対応する前記圧力信号を前記圧力値に変換して、前記重心位置に対応する前記圧力値に基づいて前記被検眼の眼圧値を演算する処理と、
を実行する請求項3に記載の眼科装置。
【請求項5】
前記変換式が、大気圧下の前記圧力センサから前記信号処理回路を経て出力される前記圧力信号の電圧値を切片とする一次式であり、
大気圧下の前記圧力センサから前記信号処理回路を経て出力される前記圧力信号を取得する圧力信号取得部と、
前記圧力信号取得部が取得した前記圧力信号に基づいて、前記一次式の前記切片を修正する切片修正部と、
を備え、
前記眼圧値演算部が、前記切片修正部により修正された前記一次式に基づいて、前記圧力信号を前記圧力値に変換する請求項4に記載の眼科装置。
【請求項6】
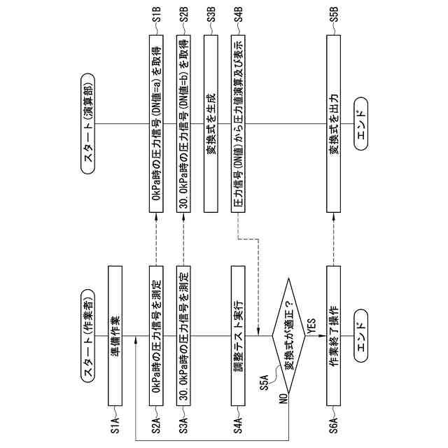
請求項4又は5に記載の眼科装置で用いられる変換式の生成方法において、
前記圧力センサに加えられた圧力と、前記信号処理回路から出力される前記圧力信号と、の組み合わせを、互い異なる複数の圧力ごとに取得するデータ取得ステップと、
前記データ取得ステップで取得した前記圧力ごとの前記組み合わせに基づいて、前記変換式を生成する変換式生成ステップと、
を有する変換式の生成方法。
発明の詳細な説明
【技術分野】
【0001】
本発明は、被検眼の眼圧値を測定する眼科装置及びこの眼科装置で用いられる変換式の生成方法に関する。
続きを表示(約 1,600 文字)
【背景技術】
【0002】
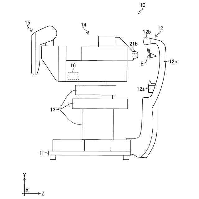
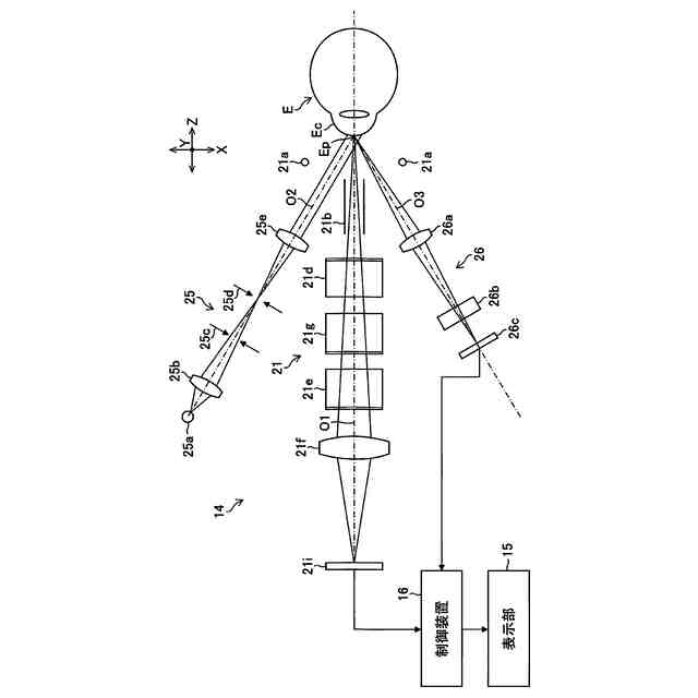
眼科装置として、被検眼の眼圧を非接触で測定する非接触式眼圧計が知られている(例えば特許文献1及び2参照)。非接触式眼圧計には、ノズルから被検眼の角膜に空気を吹き付ける吹付機構が設けられている。
【0003】
吹付機構は、シリンダと、ピストンと、ノズルと、チャンバー室と、ソレノイドと、により構成されている。ピストンは、シリンダの内部に移動自在に設けられている。ノズルはチャンバー室に接続されており、このチャンバー室等を介してシリンダの内部に連通している。ソレノイドは、ピストンをシリンダの内部で移動させる。これにより、ピストンにより圧縮されたシリンダの内部の空気が、チャンバー室等を経てノズルから被検眼の角膜に向けて噴出する。
【0004】
また、非接触式眼圧計には、シリンダの内部の圧力(チャンバー室内の圧力)を検出して圧力信号を出力する圧力検出回路と、被検眼に光束(指標光)を投影する投影光学系と、被検眼にて反射された光束の反射光を受光して圧平信号を出力する圧平センサと、が設けられている。そして、非接触式眼圧計では、ノズルから角膜への空気の吹き付けに合せて、圧力検出回路による圧力信号の出力と、投影光学系による被検眼への光束の投影と、圧平センサからの圧平信号の出力と、が実行される。これにより、非接触式眼圧計では、圧力検出回路から出力される圧力信号と、圧平センサから出力される圧平信号と、に基づいて被検眼の眼圧値が演算される。
【先行技術文献】
【特許文献】
【0005】
特開2018-143532号公報
特開2009-072513号公報
【発明の概要】
【発明が解決しようとする課題】
【0006】
図12は、非接触式眼圧計に設けられている従来の圧力検出回路100の課題を説明するための図である。図12に示すように、従来の圧力検出回路100は、圧力センサ基板102と、サブ基板110と、により構成される。
【0007】
圧力センサ基板102には、圧力センサ104と、オフセット調整部106と、が設けられている。圧力センサ104は、シリンダの内部の圧力を検出して圧力信号(アナログ信号)を出力する。オフセット調整部106は、圧力センサ104から出力される圧力信号のオフセット調整を行う。
【0008】
サブ基板110には、定電流生成ブロック112と、増幅器114と、オフセット調整部116と、ゲイン調整部118と、サンプルホールド回路120と、ボルテージフォロア回路122と、AD(Analog to Digital)スタート検出部124と、マイクロコントローラ126と、を備える。
【0009】
定電流生成ブロック112は、圧力センサ104に駆動電流(定電流)を供給する。増幅器114は、圧力センサ104から出力された圧力信号を増幅する。オフセット調整部116は、増幅器114から出力される圧力信号のオフセット調整を行う。ゲイン調整部118は、増幅器114のゲイン調整を行う。
【0010】
サンプルホールド回路120は、増幅器114から出力される圧力信号の電圧値を保持する。ボルテージフォロア回路122は、バッファとして機能し、サンプルホールド回路120から入力される圧力信号の電圧値と同じ電圧値を有する圧力信号を低インピーダンスでマイクロコントローラ126へ出力する。ADスタート検出部124は、サンプルホールド回路120から入力される圧力信号に基づき、ADスタート信号をマイクロコントローラ126へ出力する。マイクロコントローラ126は、ADスタート検出部124から入力されるADスタート信号に基づいて、ボルテージフォロア回路122から入力される圧力信号をアナログデジタル変換処理して圧力信号(デジタル信号)を出力する。
(【0011】以降は省略されています)
この特許をJ-PlatPat(特許庁公式サイト)で参照する
関連特許
株式会社トプコン
測定装置
27日前
株式会社トプコン
眼科装置
8日前
株式会社トプコン
眼科装置
8日前
株式会社トプコン
測定装置
26日前
株式会社トプコン
測定装置
27日前
株式会社トプコン
ミラー部材
26日前
株式会社トプコン
測量システム
26日前
株式会社トプコン
眼底観察装置
27日前
株式会社トプコン
視標提示装置
14日前
株式会社トプコン
非接触式眼圧計
26日前
株式会社トプコン
スリットランプ顕微鏡
19日前
株式会社トプコン
測量システム及び測量方法
27日前
株式会社トプコン
物体検出装置および測量システム
26日前
株式会社トプコン
計測モジュールを用いた3次元データ計測システム
26日前
株式会社トプコン
3次元データ計測システムおよび3次元データ計測方法
26日前
株式会社トプコン
測量システム
今日
国立研究開発法人理化学研究所
醸造酒の検査方法および装置
12日前
株式会社トプコン
眼科装置、眼科装置を制御する方法、プログラム、及び記録媒体
27日前
株式会社トプコン
測量装置の補正画像表示方法、測量装置、および測量装置の自動視準または自動追尾のためのターゲット光位置特定方法
27日前
個人
貼付剤
9日前
個人
健康器具
8か月前
個人
鼾防止用具
8か月前
個人
短下肢装具
3か月前
個人
排尿補助器具
22日前
個人
白内障治療法
7か月前
個人
洗井間専家。
7か月前
個人
導電香
9か月前
個人
前腕誘導装置
3か月前
個人
脈波測定方法
8か月前
個人
脈波測定方法
8か月前
個人
マッサージ機
9か月前
個人
嚥下鍛錬装置
4か月前
個人
アイマスク装置
2か月前
個人
ウォート指圧法
20日前
個人
バッグ式オムツ
4か月前
個人
ホバーアイロン
7か月前
続きを見る
他の特許を見る