TOP
|
特許
|
意匠
|
商標
特許ウォッチ
Twitter
他の特許を見る
10個以上の画像は省略されています。
公開番号
2025149006
公報種別
公開特許公報(A)
公開日
2025-10-08
出願番号
2024049421
出願日
2024-03-26
発明の名称
眼科装置
出願人
株式会社トプコン
代理人
弁護士法人クレオ国際法律特許事務所
主分類
A61B
3/00 20060101AFI20251001BHJP(医学または獣医学;衛生学)
要約
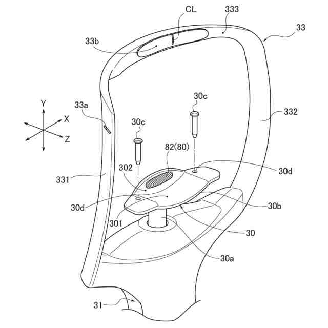
【課題】被検者が顎受け部に顎を載せるとき、顔の動きが抑えられる適正な顎受け位置に被検者の顎を誘導することができる眼科装置を提供すること。
【解決手段】眼科装置Aは、被検者の被検眼Eの眼情報を取得する光学系50と、被検者の顎Jを架台部10に対してY軸方向に移動可能に支持する顎受け部30と、を備える。顎受け部30は、被検者の下顎底面部分Jbを載せる顎載せ面301と、顎載せ面301の前端部から上方に立ち上がって形成され、被検者の下顎正面部分JfをZ軸方向に突き当てる顎突き当て面302と、を顎受け台30bに有する。顎受け部30は、顎突き当て面302に、被検者の下顎正面部分Jfを突き当てる顎突き当て位置を提示する目印80を付ける。
【選択図】図1
特許請求の範囲
【請求項1】
被検者の被検眼の眼情報を取得する光学系と、
前記被検者の顎を架台部に対して上下軸方向に移動可能に支持する顎受け部と、を備える眼科装置において、
前記顎受け部は、前記被検者の下顎正面部分を突き当てる顎突き当て位置を提示する目印を付ける
ことを特徴とする眼科装置。
続きを表示(約 1,000 文字)
【請求項2】
請求項1に記載された眼科装置において、
前記顎受け部は、前記被検者の下顎底面部分を載せる顎載せ面と、前記顎載せ面の前端部から上方に立ち上がって形成され、前記被検者の下顎正面部分を前後軸方向に突き当てる顎突き当て面と、を顎受け台に有し、
前記目印は、前記顎突き当て面に付ける
ことを特徴とする眼科装置。
【請求項3】
請求項2に記載された眼科装置において、
前記目印は、前記顎突き当て面のうち、左右軸方向に対して前記顎受け部の中心部位置であって、上下軸方向に対して面上部位置に付ける
ことを特徴とする眼科装置。
【請求項4】
請求項3に記載された眼科装置において、
装置各部を制御する制御部は、前記顎受け部に前記被検者の顎を載せた状態で、前記光学系と前記被検眼の位置関係を調整する制御を行うアライメント制御部を有し、
前記アライメント制御部は、前記顎受け部に前記被検者の顎を載せるとき、前記目印の部分に顎を付けて下さいと報知する報知部を有する
ことを特徴とする眼科装置。
【請求項5】
請求項1から4までの何れか一項に記載された眼科装置において、
前記目印は、前記顎突き当て位置に貼り付けられた所定形状の着色シールである
ことを特徴とする眼科装置。
【請求項6】
請求項1から4までの何れか一項に記載された眼科装置において、
前記目印は、前記顎突き当て位置に塗られた所定形状の着色塗装部である
ことを特徴とする眼科装置。
【請求項7】
請求項1から4までの何れか一項に記載された眼科装置において、
前記目印は、前記顎突き当て位置に設けられ、所定形状で発光する発光部である
ことを特徴とする眼科装置。
【請求項8】
請求項1から4までの何れか一項に記載された眼科装置において、
前記目印は、前記顎突き当て位置に設けられ、前記被検者の顎に接触することにより弾性変形する弾性体目印である
ことを特徴とする眼科装置。
【請求項9】
請求項8に記載された眼科装置において、
前記弾性体目印は、前記顎受け部に対して着脱可能に設ける
ことを特徴とする眼科装置。
発明の詳細な説明
【技術分野】
【0001】
本発明は、眼科装置に関する。
続きを表示(約 1,900 文字)
【背景技術】
【0002】
眼科装置は、被検眼の眼情報を取得する光学系と、被検者の顎を支持する顎受け部と、を備える。特許文献1は、被検眼の眼特性の取得を精度良く且つ確実に行うため、瞳孔像検出部による前眼部像ごとの瞳孔像の検出結果に基づき、顎受け部を含む顔支持部により顔が適正に支持されているか否かを判定する判定部を備える技術を提案している。
【先行技術文献】
【特許文献】
【0003】
特開2021-69415号公報
【発明の概要】
【発明が解決しようとする課題】
【0004】
ところで、顎受け部に対する被検者の認識は、顎を載せる顎受け機能を発揮する顎載せ面が存在している部材であると理解している。つまり、ほとんどの被検者は、顎受け部に前後軸方向の顎位置を決める顎突き当て面が存在していることまで理解していないのが実情である。
【0005】
これに対し、特許文献1に記載の技術は、被検眼の眼情報を取得するとき、顔支持部により顔が適正に支持されているか否かを判定する技術であり、被検眼の眼情報を取得する前の段階においては、従前通りの手順で被検者の顎を顎受け部に載せている。このため、特許文献1に記載の技術は、顎突き当て面の存在を理解していない被検者に対して検者が顎受け部に顎を載せるように指示しても、指示にしたがって顎載せ面の中央部位置に顎を載せることになる。よって、被検者の顎を載せる位置は、顎突き当て面から手前に離れた位置になってしまう。ここで、被検眼の眼情報を取得するとは、被検眼の眼特性を自覚測定により取得すること、被検眼の眼特性を他覚測定に取得すること、眼底像などの被検眼像を撮影により取得することを含む意味である。
【0006】
眼科装置は、顎受け部の顎突き当て面に被検者の下顎正面部分を突き当てていないと、被検者の顎が顎受け部による位置決め規制を受けないことで、被検眼の眼情報を取得しているとき、顔(被検眼)の位置が定まらず動いてしまうことがある。この結果、被検眼の眼情報として眼特性を取得する場合は、測定中に被検者の顔が動き、取得する眼特性の精度が低くなったり、眼特性の取得を失敗したりすることがある。また、被検眼の眼情報として眼底像などの撮影を行う場合は、撮影中に被検者の顔が動き、眼底像などにボケやフレアが発生したり、撮影そのものを失敗したりすることがある。
【0007】
本発明は、上記課題に着目してなされたもので、被検者が顎受け部に顎を載せるとき、顔の動きが抑えられる適正な顎受け位置に被検者の顎を誘導することができる眼科装置を提供することを目的とする。
【課題を解決するための手段】
【0008】
上記課題を解決するために本発明の眼科装置は、被検者の被検眼の眼情報を取得する光学系と、前記被検者の顎を架台部に対して上下軸方向に移動可能に支持する顎受け部と、を備える。前記顎受け部は、前記被検者の下顎正面部分を突き当てる顎突き当て位置を提示する目印を付ける。
【発明の効果】
【0009】
本発明に係る眼科装置は、被検者が顎突き当て位置の存在を理解する目印を付けたことで、被検者が顎受け部に顎を載せるとき、顔の動きが抑えられる適正な顎受け位置に被検者の顎を誘導することができる。
【図面の簡単な説明】
【0010】
実施例1の眼科装置を含む眼科システムを示す全体斜視図である。
実施例1の眼科装置を顎受け部側から視た構成を示す正面図である。
実施例1の眼科装置を示す側面図である。
実施例1の眼科装置における制御系構成を示すブロック図である。
制御部での被検眼画像の撮影処理動作を示す動作フロー図である。
実施例1の顎受け部を示す斜視図である。
比較例の顎受け部に被検者の顎を支持する様子を示す説明図である。
実施例1の顎受け部に被検者の顎を支持する様子を示す説明図である。
実施例2の顎受け部を示す斜視図である。
実施例3の顎受け部を示す斜視図である。
実施例3の顎受け部を示す図10のB-B線断面図である。
実施例4の顎受け部を示す斜視図である。
実施例4の顎受け部に被検者の下顎を受ける様子を示す説明図である。
【発明を実施するための形態】
(【0011】以降は省略されています)
この特許をJ-PlatPat(特許庁公式サイト)で参照する
関連特許
株式会社トプコン
眼科装置
5日前
株式会社トプコン
眼科装置
4日前
株式会社トプコン
眼科装置
3日前
株式会社トプコン
眼科装置
5日前
株式会社トプコン
測定装置
3日前
株式会社トプコン
眼科装置
4日前
株式会社トプコン
測定装置
3日前
株式会社トプコン
測定装置
2日前
株式会社トプコン
眼科装置
9日前
株式会社トプコン
ミラー部材
2日前
株式会社トプコン
測量システム
2日前
株式会社トプコン
眼底観察装置
3日前
株式会社トプコン
多面反射装置
13日前
株式会社トプコン
視標呈示装置
3日前
株式会社トプコン
非接触式眼圧計
2日前
株式会社トプコン
3次元測量装置
23日前
株式会社トプコン
測量装置の校正方法
9日前
株式会社トプコン
眼科システム及び端末装置
1か月前
株式会社トプコン
測量システム及び測量方法
3日前
株式会社トプコン
眼科システム及び端末装置
17日前
株式会社トプコン
眼科装置及び変換式の生成方法
4日前
株式会社トプコン
物体検出装置および測量システム
2日前
株式会社トプコン
測量システム及び測量方法及び測量プログラム
17日前
株式会社トプコン
計測モジュールを用いた3次元データ計測システム
2日前
株式会社トプコン
傾斜検出装置及び該傾斜検出装置を用いた傾斜検出方法
13日前
株式会社トプコン
3次元データ計測システムおよび3次元データ計測方法
2日前
株式会社トプコン
眼科装置
9日前
株式会社トプコン
眼科装置
9日前
株式会社トプコン
眼科装置
9日前
株式会社トプコン
眼科装置、眼科装置を制御する方法、プログラム、及び記録媒体
3日前
株式会社トプコン
代替ターゲットの位置測定方法、点群計測装置、点群情報処理装置、媒体
3日前
株式会社トプコン
測量データ処理装置、測量データ処理方法および測量データ処理用プログラム
13日前
株式会社トプコン
測量装置の補正画像表示方法、測量装置、および測量装置の自動視準または自動追尾のためのターゲット光位置特定方法
3日前
個人
短下肢装具
2か月前
個人
白内障治療法
7か月前
個人
嚥下鍛錬装置
3か月前
続きを見る
他の特許を見る