TOP
|
特許
|
意匠
|
商標
特許ウォッチ
Twitter
他の特許を見る
10個以上の画像は省略されています。
公開番号
2025141278
公報種別
公開特許公報(A)
公開日
2025-09-29
出願番号
2024041147
出願日
2024-03-15
発明の名称
傾斜検出装置及び該傾斜検出装置を用いた傾斜検出方法
出願人
株式会社トプコン
代理人
弁理士法人前川知的財産事務所
主分類
G01B
11/26 20060101AFI20250919BHJP(測定;試験)
要約
【課題】本開示は、部材の傾斜(傾斜方向、傾斜角度)を広範囲で測定できるとともに、検出精度を確保しつつ検出速度を高速化できる傾斜検出装置及び該傾斜検出装置を用いた傾斜検出方法を提供する。
【解決手段】本開示に係る傾斜検出装置は、回動中心点周りに回動制御され、一方側の面が機能面である偏向部材と、前記偏向部材の他方側の面において、複数の反射面が集まって形成された多面部と、前記多面部に対して光を照射する光源と、前記多面部により反射された前記光を検出する検出部と、前記検出部により検出された前記光の光軸位置から前記偏向部材の傾斜を検出する制御部と、を備える。
【選択図】図1
特許請求の範囲
【請求項1】
回動中心点周りに回動制御され、一方側の面が機能面である偏向部材と、
前記偏向部材の他方側の面において、複数の反射面が集まって形成された多面部と、
前記多面部に対して光を照射する光源と、
前記多面部により反射された前記光を検出する検出部と、
前記検出部により検出された前記光の光軸位置から前記偏向部材の傾斜を検出する制御部と、
を備える傾斜検出装置。
続きを表示(約 520 文字)
【請求項2】
前記検出部は、2次元のイメージセンサである請求項1記載の傾斜検出装置。
【請求項3】
前記検出部は、前記多面部により反射した前記光を受光点として2次元座標上に検出し、
前記制御部は、前記検出部の2次元座標の受光点から前記偏向部材の傾斜を検出する請求項1記載の傾斜検出装置。
【請求項4】
前記偏向部材は、前記受光点が前記2次元座標においてX軸方向及びY軸方向において、直線状に並ばない位置に配置される請求項3記載の傾斜検出装置。
【請求項5】
回動中心点周りに回動制御され、一方側の面が機能面である偏向部材と、
前記偏向部材の他方側の面において、複数の反射面が集まって形成された多面部と、
前記多面部に対して光を照射する光源と、
前記多面部により反射された前記光を検出する検出部と、
前記検出部により検出された前記光の光軸位置から前記偏向部材の傾斜を検出する制御部と、を備える傾斜検出装置の傾斜検出方法であって、
前記検出部により検出された前記光の光軸位置から前記偏向部材の傾斜を検出する、
傾斜検出方法。
発明の詳細な説明
【技術分野】
【0001】
本開示は、光学部材の傾斜検出技術に適用できる傾斜検出装置及び該傾斜検出装置を用いた傾斜検出方法に関する。
続きを表示(約 1,900 文字)
【背景技術】
【0002】
従来から、光の反射方向を制御するミラーを備えたスキャナ装置に関する技術が提案されている。例えば、特許文献1には、レーザ光源から出射されたレーザ光の出射方向を変更するミラーと、ミラーに設けられた第1反射面及び第2反射面のうちの第2反射面を反射した反射光を受光する受光センサを有するミラー回転角度検出手段が開示されている。
【先行技術文献】
【特許文献】
【0003】
特許第5293686号公報
【発明の概要】
【発明が解決しようとする課題】
【0004】
特許文献1のスキャナ装置では、ミラーの角度を検出するために、ミラーの傾斜に対応する反射角度で反射された光を検出するため、反射光の角度範囲が広い。反射光の角度範囲が広いと、反射光を受光する受光センサの検出範囲も広くする必要がある。受光した光が受光センサ上で移動した距離によってミラーの回転角度を検出するため、検出範囲が広くなると検出精度が悪化するおそれがある。また、検出速度の高速化を図る場合、受光センサとして、縦横の検出ラインごとに受光を検出するプロファイルセンサを用いることが考えられる。しかしながら、プロファイルセンサは、同時に複数の光を受光した場合、受光箇所が検出ライン上に複数存在すると受光位置の座標を分離検出できず、検出精度が悪化するという問題がある。
【0005】
本開示は、部材の傾斜(傾斜方向、傾斜角度)を広範囲で測定できるとともに、検出精度を確保しつつ検出速度を高速化できる傾斜検出装置及び該傾斜検出装置を用いた傾斜検出方法を提供することを目的とする。
【課題を解決するための手段】
【0006】
本開示に係る傾斜検出装置は、回動中心点周りに回動制御され、一方側の面が機能面である偏向部材と、前記偏向部材の他方側の面において、複数の反射面が集まって形成された多面部と、前記多面部に対して光を照射する光源と、前記多面部により反射された前記光を検出する検出部と、前記検出部により検出された前記光の光軸位置から前記偏向部材の傾斜を検出する制御部と、を備える。
【0007】
本開示に係る傾斜検出方法は、回動中心点周りに回動制御され、一方側の面が機能面である偏向部材と、前記偏向部材の他方側の面において、複数の反射面が集まって形成された多面部と、前記多面部に対して光を照射する光源と、前記多面部により反射された前記光を検出する検出部と、前記検出部により検出された前記光の光軸位置から前記偏向部材の傾斜を検出する制御部と、を備える傾斜検出装置の傾斜検出方法であって、前記検出部により検出された前記光の光軸位置から前記偏向部材の傾斜を検出する。
【発明の効果】
【0008】
本開示に係る傾斜検出装置及び傾斜検出方法は、部材の傾斜(傾斜方向、傾斜角度)を広範囲で測定できるとともに、検出精度を確保しつつ検出速度を高速化できる。
【図面の簡単な説明】
【0009】
実施形態に係る光源装置の構成図である。
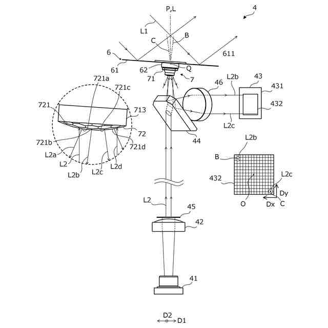
スキャナ装置の一部の構成の斜視図である。
多面反射装置を含む構成の斜視図である。
多面反射装置の構成の底面図である。
傾斜検出装置の側面図であり偏向部材の初期の傾斜状態を示している。
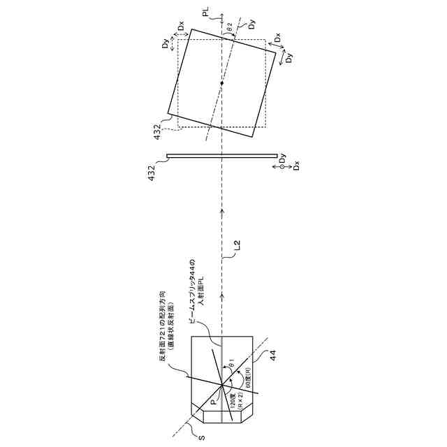
受光点が直線状に並ばない配置を説明する説明図(1)である。
受光点が直線状に並ばない配置を説明する説明図(2)である。
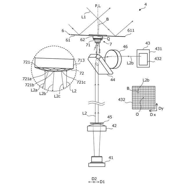
傾斜検出装置の側面図であり偏向部材が傾斜した状態(1)を示している。
傾斜検出装置の側面図であり偏向部材が傾斜した状態(2)を示している。
傾斜検出装置の側面図であり偏向部材が傾斜した状態(3)を示している。
変形例1の多面反射装置の底面図である。
変形例2の多面反射装置の底面図である。
変形例3の多面反射装置の底面図である。
変形例4の多面反射装置の側面図である。
【発明を実施するための形態】
【0010】
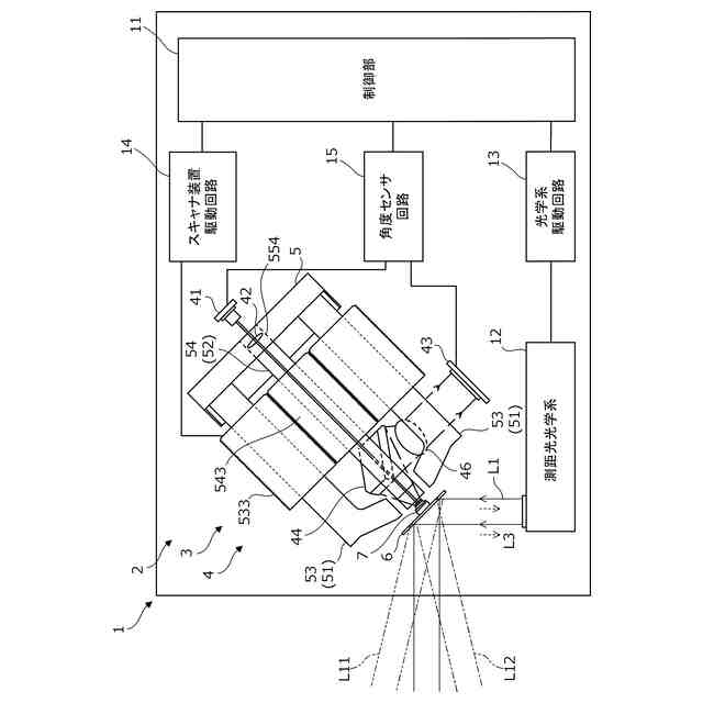
以下、本開示の実施形態を図面に基づき説明する。図1は、光源装置1の構成図である。光源装置1は、レーザ光を空間に出射する機能を有する。光源装置1は、例えば、レーザ測距装置又はLiDAR(Light Detection And Ranging)センサ等の光源に適用できる。光源装置1は、制御部11、測距光光学系12、光学系駆動回路13、及びスキャナ装置2を備える。
(【0011】以降は省略されています)
この特許をJ-PlatPat(特許庁公式サイト)で参照する
関連特許
株式会社トプコン
眼科装置
4日前
株式会社トプコン
眼科装置
3日前
株式会社トプコン
眼科装置
2日前
株式会社トプコン
眼科装置
4日前
株式会社トプコン
測定装置
2日前
株式会社トプコン
眼科装置
3日前
株式会社トプコン
測定装置
2日前
株式会社トプコン
測定装置
1日前
株式会社トプコン
眼科装置
8日前
株式会社トプコン
ミラー部材
1日前
株式会社トプコン
測量システム
1日前
株式会社トプコン
眼底観察装置
2日前
株式会社トプコン
多面反射装置
12日前
株式会社トプコン
視標呈示装置
2日前
株式会社トプコン
非接触式眼圧計
1日前
株式会社トプコン
3次元測量装置
22日前
株式会社トプコン
測量装置の校正方法
8日前
株式会社トプコン
眼科システム及び端末装置
1か月前
株式会社トプコン
測量システム及び測量方法
2日前
株式会社トプコン
眼科システム及び端末装置
16日前
株式会社トプコン
眼科装置及び変換式の生成方法
3日前
株式会社トプコン
物体検出装置および測量システム
1日前
株式会社トプコン
測量システム及び測量方法及び測量プログラム
16日前
株式会社トプコン
計測モジュールを用いた3次元データ計測システム
1日前
株式会社トプコン
傾斜検出装置及び該傾斜検出装置を用いた傾斜検出方法
12日前
株式会社トプコン
3次元データ計測システムおよび3次元データ計測方法
1日前
株式会社トプコン
眼科装置
8日前
株式会社トプコン
眼科装置
8日前
株式会社トプコン
眼科装置
8日前
株式会社トプコン
眼科装置、眼科装置を制御する方法、プログラム、及び記録媒体
2日前
株式会社トプコン
代替ターゲットの位置測定方法、点群計測装置、点群情報処理装置、媒体
2日前
株式会社トプコン
測量データ処理装置、測量データ処理方法および測量データ処理用プログラム
12日前
株式会社トプコン
測量装置の補正画像表示方法、測量装置、および測量装置の自動視準または自動追尾のためのターゲット光位置特定方法
2日前
個人
メジャー文具
4日前
日本精機株式会社
位置検出装置
10日前
日本精機株式会社
位置検出装置
10日前
続きを見る
他の特許を見る