TOP
|
特許
|
意匠
|
商標
特許ウォッチ
Twitter
他の特許を見る
10個以上の画像は省略されています。
公開番号
2025141277
公報種別
公開特許公報(A)
公開日
2025-09-29
出願番号
2024041146
出願日
2024-03-15
発明の名称
多面反射装置
出願人
株式会社トプコン
代理人
弁理士法人前川知的財産事務所
主分類
G01B
11/26 20060101AFI20250919BHJP(測定;試験)
要約
【課題】本開示は、部材の傾斜(傾斜方向、傾斜角度)の検出機能を向上できる多面反射装置を提供することを目的とする。
【解決手段】本開示に係る多面反射装置7は、光源41から照射された光を検出部431に向けて反射し、それぞれ異なる角度を有する複数の反射面721を有する多面部72と、前記光源41及び前記検出部431に対して傾動可能に支持された検出対象物に対して固定される被固定部71と、を備えることを特徴とする。
【選択図】図1
特許請求の範囲
【請求項1】
光源から照射された光を検出部に向けて反射し、それぞれ異なる角度を有する複数の反射面を有する多面部と、
前記光源及び前記検出部に対して傾動可能に支持された検出対象物に対して固定される被固定部と、
を備える多面反射装置。
続きを表示(約 240 文字)
【請求項2】
前記反射面は、六角形状である請求項1記載の多面反射装置。
【請求項3】
前記多面部は、球冠状である請求項1記載の多面反射装置。
【請求項4】
前記多面部は、複数の前記反射面が互いに隣接した状態である請求項1記載の多面反射装置。
【請求項5】
前記多面部は、球帯状に配列される請求項1記載の多面反射装置。
【請求項6】
前記多面部は、前記反射面が等角度の直線状に配列される請求項1記載の多面反射装置。
発明の詳細な説明
【技術分野】
【0001】
本開示は、傾斜検出技術に適用できる多面反射装置に関する。
続きを表示(約 1,700 文字)
【背景技術】
【0002】
従来から、光の反射方向を制御するミラーを備えたスキャナ装置に関する技術が提案されている。例えば、特許文献1には、レーザ光源から出射されたレーザ光の出射方向を変更するミラーと、ミラーに設けられた第1反射面及び第2反射面のうちの第2反射面を反射した反射光を受光する受光センサを有するミラー回転角度検出手段が開示されている。
【先行技術文献】
【特許文献】
【0003】
特許第5293686号公報
【発明の概要】
【発明が解決しようとする課題】
【0004】
特許文献1のスキャナ装置では、ミラーの角度を検出するために、ミラーの傾斜に対応する反射角度で反射された光を検出するため、反射光の角度範囲が広い。反射光の角度範囲が広いと、反射光を受光する受光センサの検出範囲も広くする必要があり、その結果、検出機能が低下するおそれがある。
【0005】
本開示は、部材の傾斜(傾斜方向、傾斜角度)の検出機能を向上できる多面反射装置を提供することを目的とする。
【課題を解決するための手段】
【0006】
本開示に係る多面反射装置は、光源から照射された光を検出部に向けて反射し、それぞれ異なる角度を有する複数の反射面を有する多面部と、前記光源及び前記検出部に対して傾動可能に支持された検出対象物に対して固定される被固定部と、を備える。
【発明の効果】
【0007】
本開示に係る多面反射装置は、部材の傾斜(傾斜方向、傾斜角度)の検出機能を向上できる。
【図面の簡単な説明】
【0008】
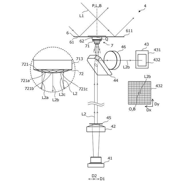
実施形態に係る光源装置の構成図である。
スキャナ装置の一部の構成の斜視図である。
多面反射装置を含む構成の斜視図である。
多面反射装置の構成の底面図である。
傾斜検出装置の側面図であり偏向部材の初期の傾斜状態を示している。
受光点が直線状に並ばない配置を説明する説明図(1)である。
受光点が直線状に並ばない配置を説明する説明図(2)である。
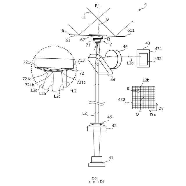
傾斜検出装置の側面図であり偏向部材が傾斜した状態(1)を示している。
傾斜検出装置の側面図であり偏向部材が傾斜した状態(2)を示している。
傾斜検出装置の側面図であり偏向部材が傾斜した状態(3)を示している。
変形例1の多面反射装置の底面図である。
変形例2の多面反射装置の底面図である。
変形例3の多面反射装置の底面図である。
変形例4の多面反射装置の側面図である。
【発明を実施するための形態】
【0009】
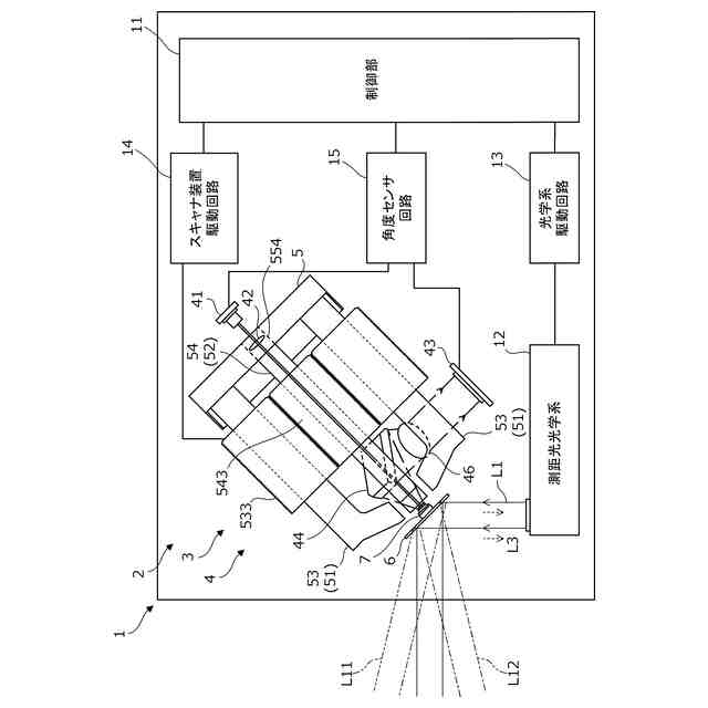
以下、本開示の実施形態を図面に基づき説明する。図1は、光源装置1の構成図である。光源装置1は、レーザ光を空間に出射する機能を有する。光源装置1は、例えば、レーザ測距装置又はLiDAR(Light Detection And Ranging)センサ等の光源に適用できる。光源装置1は、制御部11、測距光光学系12、光学系駆動回路13、及びスキャナ装置2を備える。
【0010】
制御部11は、光学系駆動回路13、スキャナ装置駆動回路14及び角度センサ回路15等の動作を制御する。制御部11は、記憶部(不図示)に記憶されるプログラムに含まれるコード又は命令によって実現する機能、及び/又は方法を実行する。制御部11は、例として、中央処理装置(CPU,Central Processing Unit)、MPU(Micro-Processing Unit)、GPU、MCU(Microcontroller Unit)、プロセッサコア、マルチプロセッサ、ASIC、FPGA等を適用することができる。制御部11は、集積回路等に形成された論理回路や専用回路によって各実施形態に開示される各処理を実現してもよい。また、これらの回路は、1又は複数の集積回路により実現されてよく、各実施形態に示す複数の処理を1つの集積回路により実現されることとしてもよい。
(【0011】以降は省略されています)
この特許をJ-PlatPat(特許庁公式サイト)で参照する
関連特許
株式会社トプコン
眼科装置
4日前
株式会社トプコン
眼科装置
10日前
株式会社トプコン
眼科装置
6日前
株式会社トプコン
測定装置
3日前
株式会社トプコン
眼科装置
6日前
株式会社トプコン
眼科装置
5日前
株式会社トプコン
測定装置
4日前
株式会社トプコン
測定装置
4日前
株式会社トプコン
眼科装置
5日前
株式会社トプコン
ミラー部材
3日前
株式会社トプコン
多面反射装置
14日前
株式会社トプコン
視標呈示装置
4日前
株式会社トプコン
測量システム
3日前
株式会社トプコン
眼底観察装置
4日前
株式会社トプコン
非接触式眼圧計
3日前
株式会社トプコン
測量装置の校正方法
10日前
株式会社トプコン
測量システム及び測量方法
4日前
株式会社トプコン
眼科装置及び変換式の生成方法
5日前
株式会社トプコン
物体検出装置および測量システム
3日前
株式会社トプコン
計測モジュールを用いた3次元データ計測システム
3日前
株式会社トプコン
傾斜検出装置及び該傾斜検出装置を用いた傾斜検出方法
14日前
株式会社トプコン
3次元データ計測システムおよび3次元データ計測方法
3日前
株式会社トプコン
眼科装置
10日前
株式会社トプコン
眼科装置
10日前
株式会社トプコン
眼科装置
10日前
株式会社トプコン
眼科装置、眼科装置を制御する方法、プログラム、及び記録媒体
4日前
株式会社トプコン
代替ターゲットの位置測定方法、点群計測装置、点群情報処理装置、媒体
4日前
株式会社トプコン
測量データ処理装置、測量データ処理方法および測量データ処理用プログラム
14日前
株式会社トプコン
測量装置の補正画像表示方法、測量装置、および測量装置の自動視準または自動追尾のためのターゲット光位置特定方法
4日前
個人
メジャー文具
6日前
個人
計量スプーン
1か月前
日本精機株式会社
位置検出装置
12日前
ユニパルス株式会社
ロードセル
5日前
日本精機株式会社
位置検出装置
12日前
日本精機株式会社
位置検出装置
12日前
大和製衡株式会社
組合せ秤
17日前
続きを見る
他の特許を見る