TOP
|
特許
|
意匠
|
商標
特許ウォッチ
Twitter
他の特許を見る
公開番号
2025138175
公報種別
公開特許公報(A)
公開日
2025-09-25
出願番号
2024037099
出願日
2024-03-11
発明の名称
眼科システム及び端末装置
出願人
株式会社トプコン
代理人
弁理士法人栄光事務所
主分類
A61B
3/10 20060101AFI20250917BHJP(医学または獣医学;衛生学)
要約
【課題】検者が被検者の眼球の疾患位置やその発症時期を視覚的に把握することができる眼科システムを提供する。
【解決手段】本開示に係る眼科システム1は、被検者の眼球に関する検査又は画像診断の結果を記憶する記憶部を有するサーバ装置20と、サーバ装置に接続され、検当該結果を表示する表示部31、並びに表示内容及び表示態様を制御する表示制御部32を有する端末装置30とを備える。表示部31には、3次元眼球モデルが表示され、表示制御部32は、3次元眼球モデルの回転表示を制御し、3次元眼球モデルの特定の部分が指定されたとき、当該特定の部分に関連する情報を含むウィンドウを出現させる。
【選択図】図2
特許請求の範囲
【請求項1】
被検者の眼球に関する検査又は画像診断の結果を記憶する記憶部を有するサーバ装置と、
前記サーバ装置に接続され、前記検査又は画像診断の結果を表示する表示部、並びに表示内容及び表示態様を制御する表示制御部を有する端末装置と、を備える眼科システムであって、
前記表示部には、眼球の立体モデルである3次元眼球モデルが表示され、
前記表示制御部は、前記3次元眼球モデルの回転表示を制御し、前記3次元眼球モデルの特定の部分が指定されたとき、前記特定の部分に関連する情報を含む第1ウィンドウを出現させる、眼科システム。
続きを表示(約 1,000 文字)
【請求項2】
前記表示制御部は、前記第1ウィンドウ内に前記画像診断の結果のリンクを表示し、前記リンクが指定されたとき前記画像診断の結果を含む第2ウィンドウを出現させる、
請求項1に記載の眼科システム。
【請求項3】
前記表示制御部は、
前記第1ウィンドウ内に前記画像診断の結果のリンクを表示し、前記リンクが指定されたとき前記眼球の前眼部画像又は眼底画像を前記3次元眼球モデルに重ねて表示し、
前記回転表示の際に、前記重ねて表示された画像が回転に追従するように制御する、
請求項1に記載の眼科システム。
【請求項4】
前記表示制御部は、前記前眼部画像又は前記眼底画像から前記3次元眼球モデルの形状に応じた3次元曲面を生成し、前記3次元眼球モデルに重ねる、
請求項3に記載の眼科システム。
【請求項5】
前記表示制御部は、検査における異常部分に前記3次元眼球モデル上でマークを付与する、
請求項1又は2に記載の眼科システム。
【請求項6】
前記表示制御部は、前記端末装置の操作者がコメントを入力するための第3ウィンドウを出現させる、
請求項1又は2に記載の眼科システム。
【請求項7】
被検者の眼球に関する検査又は画像診断の結果を表示する表示部と、表示内容及び表示態様を制御する表示制御部と、前記結果を記憶する端末記憶部と、を備える端末装置であって、
前記表示部には、眼球の立体モデルである3次元眼球モデルが表示され、
前記表示制御部は、前記3次元眼球モデルの回転表示を制御し、前記3次元眼球モデルの特定の部分が指定されたとき、前記特定の部分に関連する情報を含む第1ウィンドウを出現させる、端末装置。
【請求項8】
前記表示制御部は、前記第1ウィンドウ内に前記画像診断の結果のリンクを表示し、前記リンクが指定されたとき前記画像診断の結果を含む第2ウィンドウを出現させる、
請求項7に記載の端末装置。
【請求項9】
前記表示制御部は、
前記第1ウィンドウ内に前記画像診断の結果のリンクを表示し、前記リンクが指定されたとき前記眼球の前眼部画像又は眼底画像を前記3次元眼球モデルに重ねて表示し、
前記回転表示の際に、前記重ねて表示された画像が回転に追従するように制御する、
請求項7に記載の端末装置。
発明の詳細な説明
【技術分野】
【0001】
本開示は、眼科システム及び端末装置に関する。
続きを表示(約 1,200 文字)
【背景技術】
【0002】
従来、眼圧値や眼屈折力等の数値、さらに眼底画像やOCT(Optical Coherence Tomography)画像の経過観察を行い、その結果を一元管理し、端末装置から結果確認をすることができる管理システムが知られている(例えば、特許文献1)。
【0003】
また、眼底カメラ、OCT装置等の1つの眼科装置に限れば、2次元画像と3次元画像とを対応させて表示させたり、疾患のある部分をワンクリックで拡大表示したりする機能を有するものが知られている。
【先行技術文献】
【特許文献】
【0004】
特許第6489193号
【発明の概要】
【発明が解決しようとする課題】
【0005】
しかしながら、特許文献1に記載されている管理システムには以下のような課題がある。
【0006】
検者(例えば、眼科医、検眼医、視能訓練士等)が電子カルテのシステムを利用するとき、各眼科装置での結果を統合して、眼球のどの位置にどのような疾患があるか等の情報が視覚的に分かり難いという問題があった。
【0007】
本開示は、このような事情に鑑みてなされたものであり、検者が被検者の眼球の疾患位置やその発症時期を視覚的に把握することができる眼科システムを提供することを目的とする。
【課題を解決するための手段】
【0008】
本開示の眼科システムの一態様は、被検者の眼球に関する検査又は画像診断の結果を記憶する記憶部を有するサーバ装置と、サーバ装置に接続され、検査又は画像診断の結果を表示する表示部、並びに表示内容及び表示態様を制御する表示制御部を有する端末装置と、を備える眼科システムであって、表示部には、眼球の立体モデルである3次元眼球モデルが表示され、表示制御部は、3次元眼球モデルの回転表示を制御し、3次元眼球モデルの特定の部分が指定されたとき、特定の部分に関連する情報を含む第1ウィンドウを出現させる。
【0009】
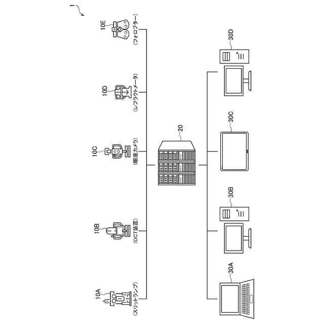
本開示は、PC、タブレット端末等の端末装置がサーバ装置に接続された眼科システムである。眼科の検査又は画像診断の結果は、サーバ装置の記憶部に記憶され、当該結果が端末装置の表示部に表示される。このため、検者は、当該結果を容易に確認することができる。
【0010】
また、表示部には3次元眼球モデルが表示され、表示制御部が3次元眼球モデルを回転表示させることができる。これにより、検者は、3次元眼球モデルを様々な角度から眺めることができる。さらに、3次元眼球モデルの特定の部分(例えば、前眼部)が指定されたとき、表示制御部が第1ウィンドウを出現させ、その部分に関連する情報(検査履歴等)を表示する。これにより、検者は、被検者の眼球のどの位置にどのような疾患があるか等の情報を視覚的に把握することができる。
(【0011】以降は省略されています)
この特許をJ-PlatPat(特許庁公式サイト)で参照する
関連特許
株式会社トプコン
眼科装置
4日前
株式会社トプコン
眼科装置
3日前
株式会社トプコン
眼科装置
2日前
株式会社トプコン
眼科装置
3日前
株式会社トプコン
眼科装置
4日前
株式会社トプコン
測定装置
2日前
株式会社トプコン
測定装置
2日前
株式会社トプコン
測定装置
1日前
株式会社トプコン
ミラー部材
1日前
株式会社トプコン
眼底観察装置
2日前
株式会社トプコン
測量システム
1日前
株式会社トプコン
視標呈示装置
2日前
株式会社トプコン
非接触式眼圧計
1日前
株式会社トプコン
測量システム及び測量方法
2日前
株式会社トプコン
眼科装置及び変換式の生成方法
3日前
株式会社トプコン
物体検出装置および測量システム
1日前
株式会社トプコン
計測モジュールを用いた3次元データ計測システム
1日前
株式会社トプコン
3次元データ計測システムおよび3次元データ計測方法
1日前
株式会社トプコン
眼科装置、眼科装置を制御する方法、プログラム、及び記録媒体
2日前
株式会社トプコン
代替ターゲットの位置測定方法、点群計測装置、点群情報処理装置、媒体
2日前
株式会社トプコン
測量装置の補正画像表示方法、測量装置、および測量装置の自動視準または自動追尾のためのターゲット光位置特定方法
2日前
個人
短下肢装具
2か月前
個人
鼾防止用具
7か月前
個人
脈波測定方法
7か月前
個人
白内障治療法
7か月前
個人
洗井間専家。
6か月前
個人
嚥下鍛錬装置
3か月前
個人
前腕誘導装置
2か月前
個人
汚れ防止シート
12日前
個人
ホバーアイロン
6か月前
個人
アイマスク装置
1か月前
個人
矯正椅子
4か月前
個人
歯の修復用材料
3か月前
個人
バッグ式オムツ
3か月前
個人
胸骨圧迫補助具
1か月前
個人
歯の保護用シール
4か月前
続きを見る
他の特許を見る