TOP
|
特許
|
意匠
|
商標
特許ウォッチ
Twitter
他の特許を見る
10個以上の画像は省略されています。
公開番号
2025138021
公報種別
公開特許公報(A)
公開日
2025-09-25
出願番号
2024036687
出願日
2024-03-11
発明の名称
測量システム及び測量方法及び測量プログラム
出願人
株式会社トプコン
代理人
個人
主分類
G01C
15/00 20060101AFI20250917BHJP(測定;試験)
要約
【課題】測定対象物を正確に測定可能な測量システム及び測量方法及び測量プログラムを提供する。
【解決手段】反射面を有する反射物と、測定対象物15の3次元座標が測定可能な測量装置2を有する測量システム1であって、前記測量装置は、測距光11を射出し、前記測定対象物からの反射測距光に基づき測距を行う測距部と、前記測距光の射出方向を検出する測角部と、前記測距部の動作を制御する演算制御部とを具備し、該演算制御部は前記反射面の法線を設定し、前記反射面迄の法線方向の距離を設定し、前記反射面に対する前記測定対象物の前記法線方向の位置を測定し、前記測定対象物の測定結果に基づき、該測定対象物が実像か前記反射面に映り込んだ虚像かを判別する様に構成された。
【選択図】図1
特許請求の範囲
【請求項1】
反射面を有する反射物と、測定対象物の3次元座標が測定可能な測量装置を有する測量システムであって、前記測量装置は、測距光を射出し、前記測定対象物からの反射測距光に基づき測距を行う測距部と、前記測距光の射出方向を検出する測角部と、前記測距部の動作を制御する演算制御部とを具備し、該演算制御部は前記反射面の法線を設定し、前記反射面迄の法線方向の距離を設定し、前記反射面に対する前記測定対象物の前記法線方向の位置を測定し、前記測定対象物の測定結果に基づき、該測定対象物が実像か前記反射面に映り込んだ虚像かを判別する様に構成された測量システム。
続きを表示(約 1,800 文字)
【請求項2】
前記測量装置は、水平回転可能な測量装置本体と、該測量装置本体に対して鉛直回転可能であり、前記測距光を射出する望遠鏡部と、前記測距光と同軸に所定範囲の検出範囲を有する検出光を照射し、前記測定対象物からの反射光に基づき前記測定対象物を検出する検出部と、前記測量装置本体を水平回転させる水平回転駆動部と、前記望遠鏡部を鉛直回転させる鉛直回転駆動部とを更に具備し、前記演算制御部は、前記測距部と前記検出部と前記水平回転駆動部と前記鉛直回転駆動部の動作を制御し、前記検出光を照射させ、前記検出範囲を予め設定された経路に沿って移動させ、移動の過程で前記検出範囲内で検出された前記反射光に基づき前記測定対象物を検出し、検出した該測定対象物の視準及び測定を行い、前記測定対象物の前記反射面に対する法線方向の位置に基づき該測定対象物が実像か虚像かを判別する様に構成された請求項1に記載の測量システム。
【請求項3】
前記測量装置は、前記測距光と同軸に検出光を照射し、前記測定対象物からの反射光に基づき前記測定対象物を検出する検出部と、前記測距光と前記検出光の光軸を偏向する光軸偏向部とを更に具備し、前記演算制御部は、前記測距部と前記検出部と前記光軸偏向部の動作を制御し、該光軸偏向部を介して前記測距光及び前記検出光を走査して前記測定対象物の3次元の点群データを取得し、該点群データの前記反射面に対する法線方向の位置に基づき、各点群データが実像か虚像かを判別する様に構成された請求項1に記載の測量システム。
【請求項4】
前記反射面は水平な水面を有する水溜りであり、前記演算制御部は前記水面の高さを設定し、前記測定対象物の測定結果に基づき、該測定対象物の高さと前記水面の高さを比較し、前記水面より高いと判断された前記測定対象物を実像と判断し、前記水面よりも低いと判断された前記測定対象物を虚像と判断する様に構成された請求項2又は請求項3に記載の測量システム。
【請求項5】
前記演算制御部は、前記測定対象物が虚像と判断されると、予め設定された前記経路に沿った前記検出範囲の移動を継続する様に構成された請求項2に記載の測量システム。
【請求項6】
前記検出部は追尾部を兼用し、前記演算制御部は、実像と判断された前記測定対象物からの前記反射光が前記検出範囲の中心に位置する様に前記水平回転駆動部と前記鉛直回転駆動部とを制御し、前記測定対象物を追尾させる様に構成された請求項2に記載の測量システム。
【請求項7】
前記演算制御部は、前記水面よりも低いと判断された前記測定対象物の虚像を中心とした所定範囲をマスク範囲として設定し、該マスク範囲内の測定を行わない様に構成された請求項4に記載の測量システム。
【請求項8】
前記演算制御部は、前記検出範囲内で前記測定対象物が検出されると、所定角度分、予め設定された経路の先に前記検出範囲を移動させ、新たに前記測定対象物が検出されなかった場合には検出された前記測定対象物を実像と判断し、新たに前記測定対象物が検出された場合には新たに検出された測定対象物を実像と判断し、先に検出された前記測定対象物を虚像と判断し、虚像の測定結果を破棄する様に構成された請求項2に記載の測量システム。
【請求項9】
前記演算制御部は、虚像と判断された前記測定対象物と、前記水面に関して対称な測定対象物が存在するかどうかを判断し、該対称な測定対象物が存在する場合には前記水面よりも低い前記測定対象物を虚像と判断し、前記対称な測定対象物が存在しない場合には前記水面よりも低い前記測定対象物を実像と判断し、虚像の測定結果を破棄する様に構成された請求項4に記載の測量システム。
【請求項10】
前記反射物は前記測量装置が視準可能な位置に設けられた前記反射面を有し、前記演算制御部は、前記測量装置と前記反射面との法線方向の距離を設定し、前記測定対象物の測定結果に基づき、前記反射面が作る境界に対して前記測量装置側にある前記測定対象物を実像と判断し、前記反射面が作る境界に対して前記測量装置側にない前記測定対象物を虚像と判断する様に構成された請求項2又は請求項3に記載の測量システム。
(【請求項11】以降は省略されています)
発明の詳細な説明
【技術分野】
【0001】
本発明は、所望の測定点の3次元座標を測量可能な測量システム及び測量方法及び測量プログラムに関するものである。
続きを表示(約 1,900 文字)
【背景技術】
【0002】
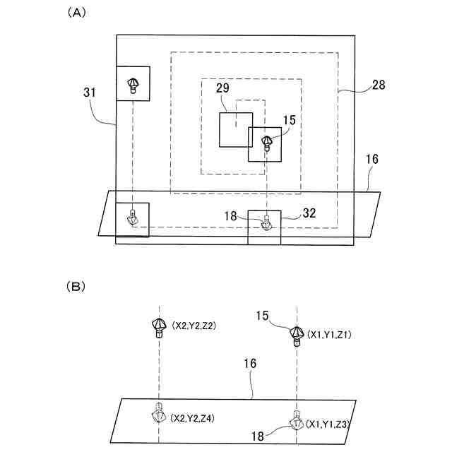
建設現場等で所望の測定点の測量を行う際には、一般的に再帰反射性を有する測定対象物、例えばプリズム等を用いて測量が行われている。プリズムを用いるプリズム測量では、例えばプリズムを設けたポールを既知の位置(測定点)に設置し、気泡管等を介してプリズムが測定点の鉛直上に位置する様整準した後、トータルステーション等の測量装置によりプリズムを測定している。
【0003】
又、複数の測定点を測定する場合には、測量装置によりプリズムを追尾させた状態で、プリズムを各測定点に順次移動させ、各測定点でプリズムを測定する。この時、測量装置でプリズムを追尾させる為には、先ず測量装置にプリズムを視準させ、プリズムを認識させる必要がある。プリズムを視準する為の方法としては、例えば測量装置がプリズムをサーチすることで、プリズムを自動で検出し、視準する方法がある。
【0004】
然し乍ら、例えば測定点が存在する施工現場に水たまり等の反射物が存在している場合には、水面にプリズムが映り込み、映り込んだプリズムの虚像をプリズムとして測量装置が誤検出してしまう場合がある。この場合、測量装置が虚像を追尾し、測定してしまう為、正確な測定ができなくなる虞れがある。
【先行技術文献】
【特許文献】
【0005】
特開2015-125099号公報
特開2016-151423号公報
特開2020-20747号公報
特開2022-110635号公報
【発明の概要】
【発明が解決しようとする課題】
【0006】
本発明は、測定対象物を正確に測定可能な測量システム及び測量方法及び測量プログラムを提供するものである。
【課題を解決するための手段】
【0007】
本発明は、反射面を有する反射物と、測定対象物の3次元座標が測定可能な測量装置を有する測量システムであって、前記測量装置は、測距光を射出し、前記測定対象物からの反射測距光に基づき測距を行う測距部と、前記測距光の射出方向を検出する測角部と、前記測距部の動作を制御する演算制御部とを具備し、該演算制御部は前記反射面の法線を設定し、前記反射面迄の法線方向の距離を設定し、前記反射面に対する前記測定対象物の前記法線方向の位置を測定し、前記測定対象物の測定結果に基づき、該測定対象物が実像か前記反射面に映り込んだ虚像かを判別する様に構成された測量システムに係るものである。
【0008】
又本発明は、前記測量装置は、水平回転可能な測量装置本体と、該測量装置本体に対して鉛直回転可能であり、前記測距光を射出する望遠鏡部と、前記測距光と同軸に所定範囲の検出範囲を有する検出光を照射し、前記測定対象物からの反射光に基づき前記測定対象物を検出する検出部と、前記測量装置本体を水平回転させる水平回転駆動部と、前記望遠鏡部を鉛直回転させる鉛直回転駆動部とを更に具備し、前記演算制御部は、前記測距部と前記検出部と前記水平回転駆動部と前記鉛直回転駆動部の動作を制御し、前記検出光を照射させ、前記検出範囲を予め設定された経路に沿って移動させ、移動の過程で前記検出範囲内で検出された前記反射光に基づき前記測定対象物を検出し、検出した該測定対象物の視準及び測定を行い、前記測定対象物の前記反射面に対する法線方向の位置に基づき該測定対象物が実像か虚像かを判別する様に構成された測量システムに係るものである。
【0009】
又本発明は、前記測量装置は、前記測距光と同軸に検出光を照射し、前記測定対象物からの反射光に基づき前記測定対象物を検出する検出部と、前記測距光と前記検出光の光軸を偏向する光軸偏向部とを更に具備し、前記演算制御部は、前記測距部と前記検出部と前記光軸偏向部の動作を制御し、該光軸偏向部を介して前記測距光及び前記検出光を走査して前記測定対象物の3次元の点群データを取得し、該点群データの前記反射面に対する法線方向の位置に基づき、各点群データが実像か虚像かを判別する様に構成された測量システムに係るものである。
【0010】
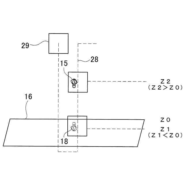
又本発明は、前記反射面は水平な水面を有する水溜りであり、前記演算制御部は前記水面の高さを設定し、前記測定対象物の測定結果に基づき、該測定対象物の高さと前記水面の高さを比較し、前記水面より高いと判断された前記測定対象物を実像と判断し、前記水面よりも低いと判断された前記測定対象物を虚像と判断する様に構成された測量システムに係るものである。
(【0011】以降は省略されています)
この特許をJ-PlatPat(特許庁公式サイト)で参照する
関連特許
株式会社トプコン
眼科装置
今日
株式会社トプコン
眼科装置
1日前
株式会社トプコン
眼科装置
1日前
株式会社トプコン
眼科装置
5日前
株式会社トプコン
眼科装置
今日
株式会社トプコン
多面反射装置
9日前
株式会社トプコン
3次元測量装置
19日前
株式会社トプコン
測量装置の校正方法
5日前
株式会社トプコン
眼科システム及び端末装置
13日前
株式会社トプコン
眼科システム及び端末装置
29日前
株式会社トプコン
眼科装置及び変換式の生成方法
今日
株式会社トプコン
測量システム及び測量方法及び測量プログラム
13日前
株式会社トプコン
傾斜検出装置及び該傾斜検出装置を用いた傾斜検出方法
9日前
株式会社トプコン
点群処理装置、点群処理方法および点群処理用プログラム
1か月前
株式会社トプコン
眼科装置
5日前
株式会社トプコン
眼科装置
5日前
株式会社トプコン
眼科装置
5日前
株式会社トプコン
眼科装置、眼科装置を制御する方法、プログラム、及び記録媒体
1か月前
株式会社トプコン
レーザースキャン装置、レーザースキャンデータの処理方法およびプログラム
1か月前
株式会社トプコン
測量データ処理装置、測量データ処理方法および測量データ処理用プログラム
9日前
株式会社トプコン
医療システム及び医療情報処理装置
1か月前
個人
メジャー文具
1日前
個人
計量スプーン
29日前
個人
微小振動検出装置
1か月前
株式会社イシダ
X線検査装置
1か月前
日本精機株式会社
位置検出装置
7日前
ユニパルス株式会社
ロードセル
今日
日本精機株式会社
位置検出装置
7日前
日本精機株式会社
位置検出装置
7日前
大和製衡株式会社
組合せ秤
12日前
大和製衡株式会社
組合せ秤
12日前
アズビル株式会社
圧力センサ
6日前
トヨタ自動車株式会社
検査装置
9日前
アンリツ株式会社
分光器
1か月前
株式会社東芝
センサ
12日前
株式会社東芝
センサ
12日前
続きを見る
他の特許を見る