TOP
|
特許
|
意匠
|
商標
特許ウォッチ
Twitter
他の特許を見る
公開番号
2025131203
公報種別
公開特許公報(A)
公開日
2025-09-09
出願番号
2024028797
出願日
2024-02-28
発明の名称
眼科システム及び端末装置
出願人
株式会社トプコン
代理人
弁理士法人栄光事務所
主分類
G16H
40/00 20180101AFI20250902BHJP(特定の用途分野に特に適合した情報通信技術)
要約
【課題】検査に用いられる装置メーカ、機種等が変更されても、検者が検査結果を正しく評価する眼科システム及び端末装置を提供する。
【解決手段】本開示に係る眼科システム1は、被検者の眼球に関する検査又は画像診断の結果を記憶する記憶部21を有するサーバ装置20と、サーバ装置20に接続され、当該結果を表示する表示部31並びに表示内容及び表示態様を制御する表示制御部32を有する端末装置30と、を備える。サーバ装置20の記憶部21は、当該結果と、その際に使用した眼科装置の製造メーカ又は機種名を含むデバイス情報とを紐付けて記憶する。端末装置30の表示部31は、当該結果を時系列のグラフで表示し、表示制御部32は、デバイス情報に基づいて前回検査時から製造メーカ又は機種名の変更を検出したとき、グラフの表示を第1変更態様とする。
【選択図】図2
特許請求の範囲
【請求項1】
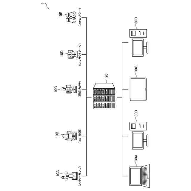
被検者の眼球に関する検査又は画像診断の結果を記憶する記憶部を有するサーバ装置と、
前記サーバ装置に接続され、前記検査又は画像診断の結果を表示する表示部並びに表示内容及び表示態様を制御する表示制御部を有する端末装置と、を備える眼科システムであって、
前記記憶部は、前記検査又は画像診断の結果と、その際に使用した眼科装置の製造メーカ又は機種名を含むデバイス情報とを紐付けて記憶し、
前記表示部は、前記検査又は画像診断の結果を時系列のグラフで表示可能であり、
前記表示制御部は、前記デバイス情報に基づいて前回検査時から前記製造メーカ又は機種名の変更を検出したとき、前記グラフの表示を、前記変更がない通常態様とは異なる第1変更態様とする、眼科システム。
続きを表示(約 900 文字)
【請求項2】
前記記憶部は、各製造メーカの検査項目毎の数値傾向に関する比較テーブルを記憶し、
前記表示制御部は、前記グラフ中の何れかの検査時が指定されたとき、少なくとも前記比較テーブルを含むウィンドウを出現させる、
請求項1に記載の眼科システム。
【請求項3】
前記ウィンドウ内において、検査の際に使用された前記眼科装置の製造メーカ又は機種名が認識可能なデバイス表示が行われる、
請求項2に記載の眼科システム。
【請求項4】
前記サーバ装置に接続され、検査項目毎の多数の前記検査又は画像診断の結果を学習用データとして入力し、検査項目毎に予測値を出力するように機械学習させた機械学習モデルを備え、
前記サーバ装置は、前記機械学習モデルを参照して、被検者の検査又は画像診断の結果から所定の検査項目の予測値を演算する演算部を有し、
前記表示制御部は、前記所定の検査項目の予測値を表示する場合に前記グラフの表示を、前記通常態様及び前記第1変更態様とは異なる第2変更態様とする、
請求項1に記載の眼科システム。
【請求項5】
被検者の眼球に関する検査又は画像診断の結果を表示する表示部と、表示内容及び表示態様を制御する表示制御部と、前記検査又は画像診断の結果及びその際に使用した眼科装置の製造メーカ又は機種名を含むデバイス情報を紐付けて記憶する端末記憶部と、を備える端末装置であって、
前記表示部は、前記検査又は画像診断の結果を時系列のグラフで表示可能であり、
前記表示制御部は、前記デバイス情報に基づいて前回検査時から前記製造メーカ又は機種名の変更を検出したとき、前記グラフの表示態様を変更する、端末装置。
【請求項6】
前記端末記憶部は、各製造メーカの検査項目毎の数値傾向に関する比較テーブルを記憶し、
前記表示制御部は、前記グラフ中の何れかの検査時が指定されたとき、少なくとも前記比較テーブルを含むウィンドウを出現させる、
請求項5に記載の端末装置。
発明の詳細な説明
【技術分野】
【0001】
本開示は、眼科システム及び端末装置に関する。
続きを表示(約 1,300 文字)
【背景技術】
【0002】
従来、眼圧値や眼屈折力等の数値、さらに眼底画像やOCT(Optical Coherence Tomography)画像の経過観察を行い、その結果を一元管理し、端末装置から結果の確認が行える管理システムが知られている。また、近年では、過去の検査結果から今後の数値予測を行う機能を備えるシステムもある。
【0003】
以下では、下記の特許文献1に記載の眼科解析装置について説明する。この眼科解析装置は、光干渉断層計によって異なる日に取得された被検眼の断層画像(OCT画像)の解析結果を得て、得られた解析結果の時系列データから形成される統計情報を出力する。
【0004】
解析結果としては、例えば眼底断層画像の結果、前眼部断層画像の結果が用いられる。また、解析結果として、被検眼の厚み(例えば、角膜厚、水晶体厚、網膜層、脈絡膜の少なくとも1層の厚み)、被検眼の曲率(例えば、角膜曲率、水晶体前面/後面曲率、網膜層の少なくとも1層の曲率)等が用いられることもある。
【0005】
さらに、制御部は、時系列データを回帰分析することによって回帰直線を取得すると共に、回帰直線によるトレンドグラフ(予測グラフ)を出力することができる(特許文献1/段落0011~0013,0022、図5参照)。
【先行技術文献】
【特許文献】
【0006】
特許第6489193号公報
【発明の概要】
【発明が解決しようとする課題】
【0007】
しかしながら、特許文献1に記載の眼科解析装置においては、以下のような課題がある。
【0008】
被検者が普段通院している病院とは異なる医療機関で検査を受けると、前回と異なる医療機器メーカの装置で検査が行われることがある。そして、検者(例えば、眼科医、検眼医、視能訓練士等)が検査の数値を鵜呑みにしてしまうと、装置による数値の基準、誤差の違いのため、眼疾患を見過ごす等の問題があった。トレンドグラフについても、正確でない結果となる可能性が高い。
【0009】
本開示は、このような事情に鑑みてなされたものであり、検査に用いられる装置メーカ、機種等が変更されても、検者が検査結果を正しく評価することができる眼科システムを提供することを目的とする。
【課題を解決するための手段】
【0010】
本開示の眼科システムの一態様は、被検者の眼球に関する検査又は画像診断の結果を記憶する記憶部を有するサーバ装置と、サーバ装置に接続され、検査又は画像診断の結果を表示する表示部並びに表示内容及び表示態様を制御する表示制御部を有する端末装置と、を備える眼科システムであって、記憶部は、検査又は画像診断の結果と、その際に使用した眼科装置の製造メーカ又は機種名を含むデバイス情報とを紐付けて記憶し、表示部は、検査又は画像診断の結果を時系列のグラフで表示可能であり、表示制御部は、デバイス情報に基づいて前回検査時から製造メーカ又は機種名の変更を検出したとき、グラフの表示を、変更がない通常態様とは異なる第1変更態様とする。
(【0011】以降は省略されています)
この特許をJ-PlatPat(特許庁公式サイト)で参照する
関連特許
株式会社トプコン
眼科装置
25日前
株式会社トプコン
眼科装置
25日前
株式会社トプコン
視標提示装置
1か月前
株式会社トプコン
スリットランプ顕微鏡
1か月前
国立大学法人 筑波大学
眼科装置及び眼科装置の作動方法
3日前
株式会社トプコン
測量システム
10日前
株式会社トプコン
測量システム
17日前
国立研究開発法人理化学研究所
醸造酒の検査方法および装置
29日前
個人
支援システム
6か月前
個人
医療のAI化
2か月前
個人
管理装置
5か月前
個人
対話システム
5か月前
個人
通知ぬいぐるみAIシステム
2か月前
キラル株式会社
ヘルスケアシステム
1か月前
個人
情報システムおよび方法
7か月前
キラル株式会社
ヘルスケアシステム
1か月前
株式会社タカゾノ
薬剤秤量装置
3か月前
株式会社タカゾノ
薬剤秤量装置
23日前
株式会社タカゾノ
薬剤秤量装置
3か月前
株式会社タカゾノ
薬剤秤量装置
3か月前
株式会社タカゾノ
薬剤秤量装置
3か月前
株式会社タカゾノ
薬剤秤量装置
3か月前
株式会社タカゾノ
薬剤秤量装置
5か月前
キヤノン株式会社
情報処理装置
2日前
株式会社リコー
投薬管理システム
2か月前
TOTO株式会社
健康管理システム
1か月前
株式会社ケアコム
看護必要度分析装置
2日前
株式会社M-INT
情報処理システム
7か月前
個人
診療の管理装置及び診療システム
3か月前
ゾーン株式会社
コンピュータシステム
6か月前
大王製紙株式会社
作業管理システム
7か月前
株式会社CureApp
プログラム
4か月前
富士電機株式会社
食事管理システム
8か月前
株式会社サンクスネット
情報提供システム
6か月前
株式会社ミラボ
情報処理装置、及びプログラム
4か月前
株式会社 137
健康観察管理システム
5か月前
続きを見る
他の特許を見る