TOP
|
特許
|
意匠
|
商標
特許ウォッチ
Twitter
他の特許を見る
公開番号
2025144053
公報種別
公開特許公報(A)
公開日
2025-10-02
出願番号
2024043634
出願日
2024-03-19
発明の名称
製袋包装機及びフィルムロール交換システム
出願人
株式会社イシダ
代理人
個人
,
個人
,
個人
,
個人
主分類
B65B
41/00 20060101AFI20250925BHJP(運搬;包装;貯蔵;薄板状または線条材料の取扱い)
要約
【課題】製袋包装機のフィルムロールの自動交換に伴う製袋包装機の能率低下の抑制を図ることができる製袋包装機及びフィルムロール交換システムを提供する。
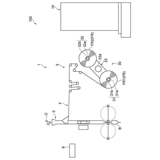
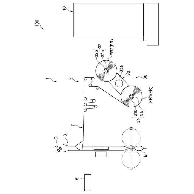
【解決手段】フィルム供給部5は、供給用フィルムロールFR1を切り替え可能となるようにフィルムロールFRをそれぞれ支持する第一フィルムロール支持部31及び第二フィルムロール支持部32と、その一方に支持された供給用フィルムロールFR1の終端部と、その他方に支持された交換用フィルムロールFR2の始端部と、を接合する接合動作を行う接合部34と、を有する。製袋包装機1は、自走式フィルムロール交換装置10に対して交換信号を送信する製袋制御部6を備える。製袋制御部6は、接合部34において接合動作が行われた場合、又は、第一フィルムロール支持部31及び第二フィルムロール支持部32のうち一方から他方に供給用フィルムロールFR1が切り替わった場合、交換信号を送信する。
【選択図】図2
特許請求の範囲
【請求項1】
フィルムが巻き回されているフィルムロールを保持するフィルム供給部と、前記フィルムロールから前記フィルムを引き出して袋を製袋する製袋部と、を備える製袋包装機であって、
前記フィルム供給部は、
前記製袋部に前記フィルムを供給する供給用の前記フィルムロールである供給用フィルムロールを切り替え可能となるように前記フィルムロールをそれぞれ支持する第1支持部及び第2支持部と、
前記第1支持部及び前記第2支持部のうちの一方に支持された前記供給用フィルムロールの終端部と、前記第1支持部及び前記第2支持部のうちの他方に支持された交換用の前記フィルムロールである交換用フィルムロールの始端部と、を接合する接合動作を行う接合部と、を有し、
前記交換用フィルムロールを搬送して使用済みの前記供給用フィルムロールと交換するための自走式フィルムロール交換装置に対して前記フィルムロールの交換を指示する交換信号を送信する送信部を備え、
前記送信部は、前記接合部において前記接合動作が行われた場合、又は、前記第1支持部の前記フィルムロール及び前記第2支持部の前記フィルムロールのうち一方から他方に前記供給用フィルムロールが切り替わった場合、前記交換信号を送信する、製袋包装機。
続きを表示(約 730 文字)
【請求項2】
請求項1に記載の前記製袋包装機と、前記自走式フィルムロール交換装置と、を備えるフィルムロール交換システムであって、
前記自走式フィルムロール交換装置は、
前記交換信号を受信する受信部と、
前記フィルムロールを支持する支持部と、
前記支持部と前記製袋包装機との間で前記フィルムロールを移し替える移載機構と、
前記製袋包装機の周囲を走行可能に構成された移動装置と、
前記受信部で受信した前記交換信号に基づいて前記移動装置及び前記移載機構の動作を制御する制御部と、を備え、
前記受信部、前記支持部、前記移載機構、及び前記制御部は、前記移動装置に一体的に積載されている、フィルムロール交換システム。
【請求項3】
前記制御部は、
前記受信部で前記交換信号を受信した場合、
前記フィルムロールを支持していない前記支持部を前記製袋包装機に近づけるように前記移動装置を走行させ、
前記製袋包装機に近づけられた前記支持部に使用済みの前記供給用フィルムロールを前記製袋包装機から移し替えるように前記移載機構を動作させる、請求項2に記載のフィルムロール交換システム。
【請求項4】
前記制御部は、
前記受信部で前記交換信号を受信した場合、
前記交換用フィルムロールを支持する前記支持部を前記製袋包装機に近づけるように前記移動装置を走行させ、
前記製袋包装機に近づけられた前記支持部から前記交換用フィルムロールを前記製袋包装機に移し替えるように前記移載機構を動作させる、請求項2又は3に記載のフィルムロール交換システム。
発明の詳細な説明
【技術分野】
【0001】
本発明は、製袋包装機及びフィルムロール交換システムに関する。
続きを表示(約 2,000 文字)
【背景技術】
【0002】
複数の縦ピロー包装機の横にそれぞれ設置された巻取りフィルム搬入台と、縦ピロー包装機が消費する巻取りフィルムを搬送する無人搬送車と、を備え、無人搬送車が巻取りフィルムを巻取りフィルム搬入台に自動搬送する消費材自動搬送システムが知られている(例えば、特許文献1参照)。
【先行技術文献】
【特許文献】
【0003】
特開2023-173894号公報
【発明の概要】
【発明が解決しようとする課題】
【0004】
上記従来技術では、予測された巻取りフィルムの終了時間に基づいて、無人搬送車が巻取りフィルムを巻取りフィルム搬入台に自動搬送する。しかしながら、例えば複数の縦ピロー包装機で巻取りフィルムの終了が予測された場合等、無人搬送車による巻取りフィルムの自動搬送が対応困難となることがある。その結果、製袋包装機の能率を低下させるおそれがある。
【0005】
本発明は、製袋包装機のフィルムロールの自動交換に伴う製袋包装機の能率低下の抑制を図ることができる製袋包装機及びフィルムロール交換システムを提供することを目的とする。
【課題を解決するための手段】
【0006】
(1)本発明の一態様は、フィルムが巻き回されているフィルムロールを保持するフィルム供給部と、フィルムロールからフィルムを引き出して袋を製袋する製袋部と、を備える製袋包装機であって、フィルム供給部は、製袋部にフィルムを供給する供給用のフィルムロールである供給用フィルムロールを切り替え可能となるようにフィルムロールをそれぞれ支持する第1支持部及び第2支持部と、第1支持部及び第2支持部のうちの一方に支持された供給用フィルムロールの終端部と、第1支持部及び第2支持部のうちの他方に支持された交換用のフィルムロールである交換用フィルムロールの始端部と、を接合する接合動作を行う接合部と、を有し、交換用フィルムロールを搬送して使用済みの供給用フィルムロールと交換するための自走式フィルムロール交換装置に対してフィルムロールの交換を指示する交換信号を送信する送信部を備え、送信部は、接合部において接合動作が行われた場合、又は、第1支持部のフィルムロール及び第2支持部のフィルムロールのうち一方から他方に供給用フィルムロールが切り替わった場合、交換信号を送信する。
【0007】
本発明の一態様に係る製袋包装機では、送信部は、接合部において接合動作が行われた場合、又は、第1支持部のフィルムロール及び第2支持部のフィルムロールのうち一方から他方に供給用フィルムロールが切り替わった場合、交換信号を送信する。供給用フィルムロールが完全に使用済みとなる前に、自走式フィルムロール交換装置に対して交換信号が送信されるため、供給用フィルムロールが完全に使用済みとなってから自走式フィルムロール交換装置に交換を指示する場合と比べて、自走式フィルムロール交換装置によるフィルムロールの搬送及び交換を前倒しすることができる。これにより、製袋包装機のフィルムロールの自動交換に伴う製袋包装機の能率低下の抑制を図ることができる。
【0008】
(2)上記(1)に記載の製袋包装機と、自走式フィルムロール交換装置と、を備えるフィルムロール交換システムであって、交換信号を受信する受信部と、フィルムロールを支持する支持部と、支持部と製袋包装機との間でフィルムロールを移し替える移載機構と、製袋包装機の周囲を走行可能に構成された移動装置と、受信部で受信した交換信号に基づいて移動装置及び移載機構の動作を制御する制御部と、を備えてもよい。この場合、受信部で受信した交換信号に基づいて移動装置及び移載機構の動作が制御されるフィルムロール交換システムを構成することができる。
【0009】
(3)上記(2)において、制御部は、受信部で交換信号を受信した場合、フィルムロールを支持していない支持部を製袋包装機に近づけるように移動装置を走行させ、製袋包装機に近づけられた支持部に使用済みの供給用フィルムロールを製袋包装機から移し替えるように移載機構を動作させてもよい。この場合、受信部で受信した交換信号に応じて、使用済みの供給用フィルムロールを回収することができる。
【0010】
(4)上記(2)又は(3)において、制御部は、受信部で交換信号を受信した場合、交換用フィルムロールを支持する支持部を製袋包装機に近づけるように移動装置を走行させ、製袋包装機に近づけられた支持部から交換用フィルムロールを製袋包装機に移し替えるように移載機構を動作させてもよい。この場合、受信部で受信した交換信号に応じて、交換用フィルムロールを搬送して製袋包装機に移し替えることができる。
【発明の効果】
(【0011】以降は省略されています)
この特許をJ-PlatPat(特許庁公式サイト)で参照する
関連特許
株式会社イシダ
計量装置
1か月前
株式会社イシダ
包装装置
1日前
株式会社イシダ
製袋包装機
1か月前
株式会社イシダ
受付端末装置
2日前
株式会社イシダ
X線検査装置
29日前
株式会社イシダ
X線検査装置
29日前
株式会社イシダ
商品処理装置
1か月前
株式会社イシダ
X線検査装置
1か月前
株式会社イシダ
組合せ計量装置
3日前
株式会社イシダ
組合せ計量装置
29日前
株式会社イシダ
組合せ計量装置
1か月前
株式会社イシダ
電子棚札用の制御システム
29日前
株式会社イシダ
院内用書込装置及び受付端末装置
2日前
株式会社イシダ
製袋包装機及びフィルムロール交換システム
29日前
株式会社イシダ
検査システム及び検査装置
1か月前
株式会社イシダ
自走式フィルムロール交換装置、フィルムロール交換システム、及びフィルムロール交換方法
29日前
個人
収容箱
3か月前
個人
コンベア
5か月前
個人
容器
9か月前
個人
段ボール箱
7か月前
個人
段ボール箱
7か月前
個人
ゴミ収集器
7か月前
個人
角筒状構造体
5か月前
個人
土嚢運搬器具
8か月前
個人
宅配システム
7か月前
個人
楽ちんハンド
5か月前
個人
バンド
2か月前
個人
廃棄物収容容器
2か月前
個人
コード類収納具
8か月前
個人
包装容器
1か月前
個人
お薬の締結装置
6か月前
個人
閉塞装置
10か月前
個人
蓋閉止構造
4か月前
株式会社和気
包装用箱
9か月前
個人
蓋閉止構造
4か月前
個人
貯蔵サイロ
7か月前
続きを見る
他の特許を見る