TOP
|
特許
|
意匠
|
商標
特許ウォッチ
Twitter
他の特許を見る
公開番号
2025162852
公報種別
公開特許公報(A)
公開日
2025-10-28
出願番号
2024066315
出願日
2024-04-16
発明の名称
組合せ計量装置
出願人
株式会社イシダ
代理人
フェリシテ弁理士法人
主分類
G01G
19/387 20060101AFI20251021BHJP(測定;試験)
要約
【課題】各トラフ上で全高の異なる物品が複数列で流れてきた場合であっても、適切に物品の搬送を遮ること。
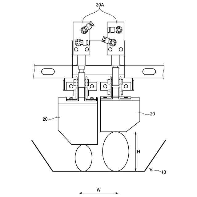
【解決手段】一実施形態に係る組合せ計量装置1は、搬送面に対する高さHが異なる物品100を搬送する複数の搬送部10と、搬送部10において搬送される物品100に対して上方から接触し、物品100の搬送を遮る接触板20と、接触板20が物品100と接触する第1状態と接触板20が物品100と接触しない第2状態とを切り替える駆動部30と、駆動部30を制御する制御部40とを備える。接触板20は、搬送部10の幅方向Wに複数配置され、搬送部10に配置される複数の接触板20は、駆動部30によってそれぞれ独立に第1状態と第2状態とに切り替えられ、制御部40は、駆動部30を制御し第2状態から第1状態に切り替えることにより搬送部10の幅方向Wに並ぶ物品の高さHに合わせて物品100の搬送を遮らせる。
【選択図】図3
特許請求の範囲
【請求項1】
搬送面に対する高さが異なる物品を搬送する複数の搬送部と、
前記搬送部において搬送される前記物品に対して上方から接触し、前記物品の搬送を遮る接触板と、
前記接触板が前記物品と接触する第1状態と、前記接触板が前記物品と接触しない第2状態とを切り替える駆動部と、
前記駆動部を制御する制御部と、を備え、
前記接触板は、前記搬送部の幅方向に複数配置され、
前記搬送部に配置される複数の前記接触板は、前記駆動部によってそれぞれ独立に前記第1状態と前記第2状態とに切り替えられ、
前記制御部は、前記駆動部を制御し前記第2状態から前記第1状態に切り替えることにより、前記搬送部の幅方向に並ぶ前記物品の高さに合わせて前記物品の搬送を遮らせる、組合せ計量装置。
続きを表示(約 370 文字)
【請求項2】
前記駆動部は、前記接触板を上方から降下させることで前記第2状態から前記第1状態に切り替え、
前記接触板は、上流から下流に向かうにつれて上方から下方に向うように傾斜する、請求項1に記載の組合せ計量装置。
【請求項3】
前記搬送部の下流側の端部より下流に、一時的に前記物品の排出を遮るストッパを更に有する、請求項1に記載の組合せ計量装置。
【請求項4】
前記接触板は、前記搬送部の下流側の端部より上流に配置される、請求項1に記載の組合せ計量装置。
【請求項5】
前記駆動部は、エアシリンダによって構成される、請求項1に記載の組合せ計量装置。
【請求項6】
前記ストッパ及び前記接触板は、前記搬送部と連動する、請求項3に記載の組合せ計量装置。
発明の詳細な説明
【技術分野】
【0001】
本発明は、組合せ計量装置に関する。
続きを表示(約 1,500 文字)
【背景技術】
【0002】
従来、組合せ計量装置において、トラフ先端シャッタによって、各トラフ上で物品の搬送を遮る技術が知られている。
【先行技術文献】
【特許文献】
【0003】
WO2020/003408
【発明の概要】
【発明が解決しようとする課題】
【0004】
しかしながら、従来技術では、各トラフ上で全高の異なる物品が2列で流れてきた場合、トラフ先端シャッタは、全高の高い方の物品に接触したときに全高の低い方の物品に接触することができないため、全高の低い方の物品の搬送を遮ることができないという問題点があった。
【0005】
そこで、本発明は、上記課題に鑑みてなされたものであり、各トラフ上で全高の異なる物品が複数列で流れてきた場合であっても、適切に物品の搬送を遮ることができる組合せ計量装置を提供することを目的とする。
【課題を解決するための手段】
【0006】
一実施形態に係る組合せ計量装置は、搬送面に対する高さが異なる物品を搬送する複数の搬送部と、前記搬送部において搬送される前記物品に対して上方から接触し、前記物品の搬送を遮る接触板と、前記接触板が前記物品と接触する第1状態と、前記接触板が前記物品と接触しない第2状態とを切り替える駆動部と、前記駆動部を制御する制御部と、を備え、前記接触板は、前記搬送部の幅方向に複数配置され、前記搬送部に配置される複数の前記接触板は、前記駆動部によってそれぞれ独立に前記第1状態と前記第2状態とに切り替えられ、前記制御部は、前記駆動部を制御し前記第2状態から前記第1状態に切り替えることにより、前記搬送部の幅方向に並ぶ前記物品の高さに合わせて前記物品の搬送を遮らせることを要旨とする。
【発明の効果】
【0007】
本発明によれば、各トラフ上で全高の異なる物品が複数列で流れてきた場合であっても、適切に物品の搬送を遮ることができる組合せ計量装置を提供できる。
【図面の簡単な説明】
【0008】
図1は、一実施形態に係る組合せ計量装置1の構成の一例を説明するためのイラスト図である。
図2は、一実施形態に係る組合せ計量装置1の構成の一例を説明するための側面概略図である。
図3は、一実施形態に係る組合せ計量装置1の構成の一例を説明するための正面図である。
【発明を実施するための形態】
【0009】
以下に添付図面を参照しながら、本発明の好適な実施形態について詳細に説明する。なお、以下の図面の記載において、同一又は類似の部分には、同一又は類似の符号を付している。ただし、図面は模式的なものであり、各寸法の比率等は現実のものとは異なることに留意すべきである。したがって、具体的な寸法等は、以下の説明を参酌して判断すべきである。また、図面相互間においても互いの寸法の関係や比率が異なる部分が含まれ得る。本明細書及び図面において、実質的に同一の機能、構成を有する要素については、同一の符号を付することにより重複説明を省略し、また本発明に直接関係のない要素は図示を省略する。
【0010】
(第1実施形態)
以下、図1~図3を参照して、本発明の第1実施形態に係る組合せ計量装置1について説明する。図1~図3は、本実施形態に係る組合せ計量装置1の構成の一例を説明するための図である。
(【0011】以降は省略されています)
この特許をJ-PlatPat(特許庁公式サイト)で参照する
関連特許
株式会社イシダ
計量装置
2日前
株式会社イシダ
検査装置
2か月前
株式会社イシダ
包装装置
23日前
株式会社イシダ
計量装置
1か月前
株式会社イシダ
製袋包装機
1か月前
株式会社イシダ
X線検査装置
1か月前
株式会社イシダ
X線検査装置
2か月前
株式会社イシダ
X線検査装置
1か月前
株式会社イシダ
商品処理装置
1か月前
株式会社イシダ
X線検査装置
2か月前
株式会社イシダ
X線検査装置
1か月前
株式会社イシダ
受付端末装置
24日前
株式会社イシダ
組合せ計量装置
1か月前
株式会社イシダ
組合せ計量装置
25日前
株式会社イシダ
組合せ計量装置
1か月前
株式会社イシダ
組合せ計量装置
8日前
株式会社イシダ
トレーサビリティ管理装置
2日前
株式会社イシダ
電子棚札用の制御システム
1か月前
株式会社イシダ
院内用書込装置及び受付端末装置
24日前
株式会社イシダ
案内端末及び電子カルテシステム
16日前
株式会社イシダ
製袋包装機及びフィルムロール交換システム
1か月前
株式会社イシダ
検査システム及び検査装置
1か月前
株式会社イシダ
台紙レスラベルのラベル切断装置
10日前
株式会社イシダ
自走式フィルムロール交換装置、フィルムロール交換システム、及びフィルムロール交換方法
1か月前
個人
採尿及び採便具
23日前
日本精機株式会社
検出装置
17日前
個人
計量機能付き容器
12日前
株式会社カクマル
境界杭
2日前
甲神電機株式会社
電流検出装置
17日前
大成建設株式会社
風洞実験装置
12日前
個人
計量具及び計量機能付き容器
12日前
個人
非接触による電磁パルスの測定方法
15日前
双庸電子株式会社
誤配線検査装置
18日前
日本特殊陶業株式会社
ガスセンサ
10日前
日本信号株式会社
距離画像センサ
15日前
株式会社不二越
X線測定装置
15日前
続きを見る
他の特許を見る