TOP
|
特許
|
意匠
|
商標
特許ウォッチ
Twitter
他の特許を見る
公開番号
2025142917
公報種別
公開特許公報(A)
公開日
2025-10-01
出願番号
2024042541
出願日
2024-03-18
発明の名称
X線検査装置
出願人
株式会社イシダ
代理人
個人
,
個人
,
個人
,
個人
主分類
G01N
23/087 20180101AFI20250924BHJP(測定;試験)
要約
【課題】品質が低下した物品を精度よく検出することが可能なX線検査装置を提供する。
【解決手段】X線検査装置1は、物品GにX線を照射するX線照射部6と、X線を検出するX線検出部7と、X線検出部7によって検出されたX線の検出結果から作成されるX線透過画像に基づいて物品Gを検査する制御部10と、を備える。制御部10は、X線透過画像における物品Gが存在する領域の面積とX線透過画像の濃淡とに基づき算出される品質指標値が閾値よりも大きい場合に、物品Gの品質が低いと判定する。
【選択図】図3
特許請求の範囲
【請求項1】
物品にX線を照射するX線照射部と、
前記X線を検出するX線検出部と、
前記X線検出部によって検出された前記X線の検出結果から作成される画像に基づいて、前記物品を検査する検査部と、を備え、
前記検査部は、
前記画像における前記物品が存在する領域の面積と、前記画像の濃淡又は前記物品の重量と、に基づき算出される品質指標値が閾値よりも大きい場合に、前記物品の品質が低いと判定する、X線検査装置。
続きを表示(約 450 文字)
【請求項2】
前記検査部は、前記領域の面積で前記領域の濃淡から推定される重量を除すことにより、前記品質指標値を算出する、請求項1に記載のX線検査装置。
【請求項3】
前記検査部は、前記領域における濃さが一定値よりも濃い濃部分の面積で前記濃部分の濃淡から推定される重量を除すことにより、前記品質指標値を算出する、請求項1に記載のX線検査装置。
【請求項4】
前記物品の高さを検知する検知部をさらに備え、
前記検査部は、
前記検知部で検知した前記物品の高さ及び前記領域の面積に基づいて、前記物品の体積を算出し、
前記物品の体積と、前記画像の濃淡又は前記物品の重量と、基づいて、前記品質指標値を算出する、請求項1又は2に記載のX線検査装置。
【請求項5】
前記物品は、鶏むね肉を含み、
前記検査部は、前記物品の品質が低いとして、前記物品がウッディブレストを含むと判定する、請求項1又は2に記載のX線検査装置。
発明の詳細な説明
【技術分野】
【0001】
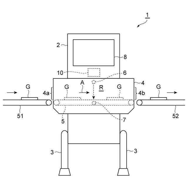
本発明の一側面は、X線検査装置に関する。
続きを表示(約 1,500 文字)
【背景技術】
【0002】
物品にX線を照射するX線照射部と、X線を検出するX線検出部と、X線検出部によって検出されたX線の検出結果から作成されるX線透過画像に基づいて物品を検査する検査部と、を備えたX線検査装置が知られている。このようなX線検査装置として、例えば特許文献1には、X線透過画像の各画素の輝度が第1閾値未満であり且つ第2閾値以上である画素の範囲が所定範囲以上である場合、物品が不良品であると判定する装置が開示されている。
【先行技術文献】
【特許文献】
【0003】
特許7393793号公報
【発明の概要】
【発明が解決しようとする課題】
【0004】
例えば食肉等の物品については、その少なくとも一部が良品よりも硬い場合、品質が低い物品(以下、「低品質品」ともいう)として扱われる場合がある。このことから、上述したようなX線検査装置においては、物品に混入された異物を検出できることに加えて、低品質品を精度よく検出できることが要望されている。特に近年、不自然に硬化した鶏むね肉である「ウッディブレスト」が問題となっていることから、当該要望は顕著である。
【0005】
そこで、本発明の一側面は、品質が低下した物品を精度よく検出することが可能なX線検査装置を提供することを目的とする。
【課題を解決するための手段】
【0006】
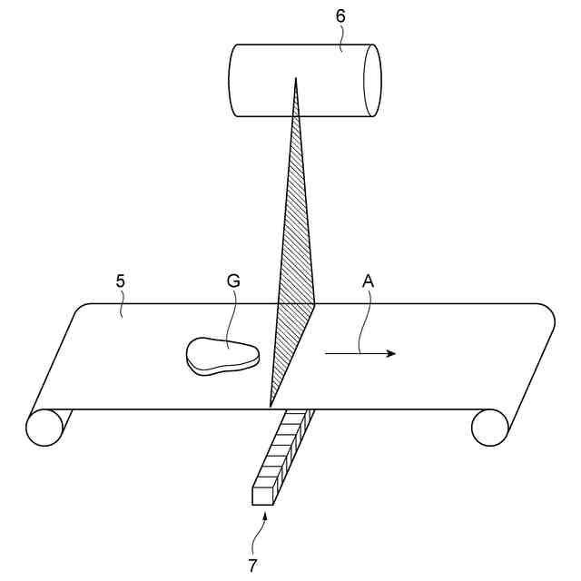
本発明者等は、鋭意検討を重ねた結果、物品を透過したX線の検出結果から作成されたX線透過画像において、良品と、少なくとも一部が良品よりも硬い低品質品と、では、次の違いが生じ得るという知見を得た。すなわち、良品は、自身の重みで垂れ下がり広がった状態で搬送され、X線透過画像では薄く大きく写りやすい。これに対して、低品質品は、その硬さのために収縮したような塊の状態で搬送され、X線透過画像では濃く小さく写やすいという知見を得た。そこで、本発明者等は、このような知見に基づくことで、X線検査装置により低品質品を精度よく検出できることを見出し、本発明の一側面に想到するに至った。
【0007】
(1)本発明の一側面は、物品にX線を照射するX線照射部と、X線を検出するX線検出部と、X線検出部によって検出されたX線の検出結果から作成される画像に基づいて、物品を検査する検査部と、を備え、検査部は、画像における物品が存在する領域の面積と、画像の濃淡又は物品の重量と、に基づき算出される品質指標値が閾値よりも大きい場合に、物品の品質が低いと判定する、X線検査装置である。
【0008】
このX線検査装置では、良品はX線透過画像では薄く大きく写りやすく、良品よりも硬い低品質品はX線透過画像では濃く小さく写りやすいという上述の知見を利用し、低品質品を精度よく検出することが可能となる。
【0009】
(2)上記(1)に記載されたX線検査装置では、検査部は、領域の面積で領域の濃淡から推定される重量を除すことにより、品質指標値を算出してもよい。この場合、上述の知見を効果的に利用し、低品質品をより精度よく検出することが可能となる。
【0010】
(3)上記(1)に記載されたX線検査装置では、検査部は、領域における濃さが一定値よりも濃い濃部分の面積で濃部分の濃淡から推定される重量を除すことにより、品質指標値を算出してもよい。この場合、良品よりも硬い部分を部分的に含む低品質品についても、精度よく検出することが可能となる。
(【0011】以降は省略されています)
この特許をJ-PlatPat(特許庁公式サイト)で参照する
関連特許
株式会社イシダ
計量装置
1か月前
株式会社イシダ
包装装置
4日前
株式会社イシダ
製袋包装機
1か月前
株式会社イシダ
受付端末装置
5日前
株式会社イシダ
X線検査装置
1か月前
株式会社イシダ
X線検査装置
1か月前
株式会社イシダ
商品処理装置
1か月前
株式会社イシダ
X線検査装置
1か月前
株式会社イシダ
組合せ計量装置
6日前
株式会社イシダ
組合せ計量装置
1か月前
株式会社イシダ
電子棚札用の制御システム
1か月前
株式会社イシダ
院内用書込装置及び受付端末装置
5日前
株式会社イシダ
製袋包装機及びフィルムロール交換システム
1か月前
株式会社イシダ
検査システム及び検査装置
1か月前
株式会社イシダ
自走式フィルムロール交換装置、フィルムロール交換システム、及びフィルムロール交換方法
1か月前
個人
メジャー文具
27日前
個人
採尿及び採便具
4日前
個人
アクセサリー型テスター
20日前
個人
高精度同時多点測定装置
19日前
株式会社ミツトヨ
測定器
10日前
ユニパルス株式会社
ロードセル
26日前
アズビル株式会社
電磁流量計
13日前
ダイキン工業株式会社
監視装置
24日前
株式会社ヨコオ
ソケット
26日前
株式会社チノー
放射光測温装置
26日前
トヨタ自動車株式会社
監視装置
25日前
株式会社ヨコオ
ソケット
25日前
愛知時計電機株式会社
ガスメータ
10日前
TDK株式会社
ガスセンサ
26日前
長崎県
形状計測方法
20日前
TDK株式会社
磁気センサ
25日前
ローム株式会社
半導体装置
18日前
愛知電機株式会社
軸部材の外観検査装置
7日前
TDK株式会社
ガスセンサ
1か月前
個人
システム、装置及び実験方法
13日前
ローム株式会社
半導体装置
18日前
続きを見る
他の特許を見る