TOP
|
特許
|
意匠
|
商標
特許ウォッチ
Twitter
他の特許を見る
10個以上の画像は省略されています。
公開番号
2025176206
公報種別
公開特許公報(A)
公開日
2025-12-03
出願番号
2025158323,2022008774
出願日
2025-09-24,2022-01-24
発明の名称
重量検査装置
出願人
株式会社イシダ
代理人
個人
,
個人
,
個人
,
個人
主分類
G01G
21/28 20060101AFI20251126BHJP(測定;試験)
要約
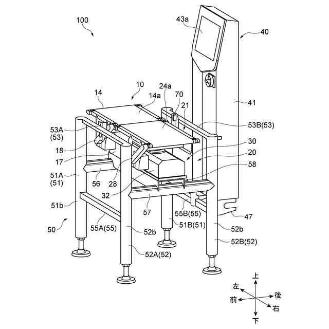
【課題】架台の剛性を高めつつ軽量化も可能とする重量検査装置を提供する。
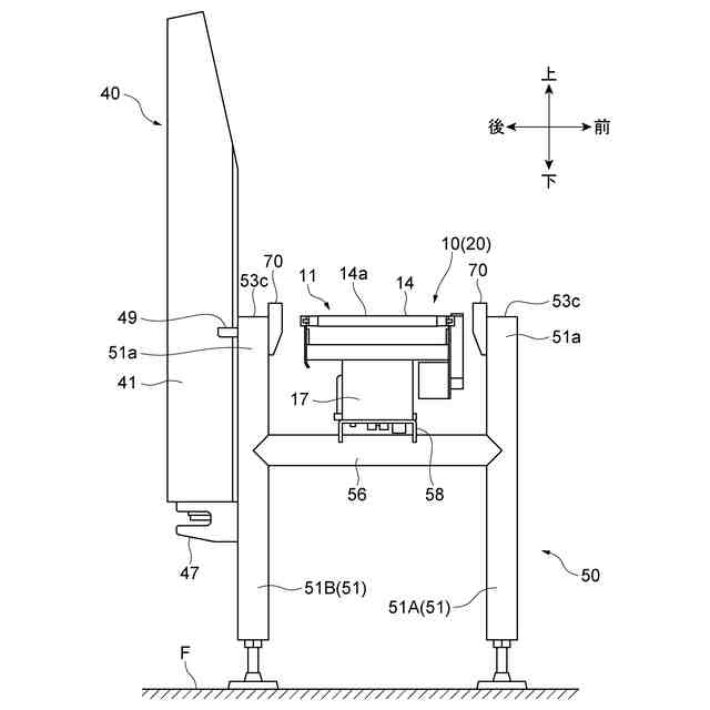
【解決手段】重量検査装置100は、被検査物Pを搬送方向TDに搬送しながら被検査物Pの重量を計量する搬送計量部20と、搬送計量部20を支持する架台50と、を備える。架台50は、平面視において搬送計量部20と重ならない位置に配置された少なくとも4つの支柱部51,52を有し、支柱部51,52のそれぞれの上端の高さは、搬送計量部20の搬送面24aの高さと同等である。
【選択図】図10
特許請求の範囲
【請求項1】
被検査物を搬送方向に搬送しながら前記被検査物の重量を計量する搬送計量部と、
前記搬送計量部を支持する架台と、を備え、
前記架台は、
平面視において前記搬送計量部と重ならない位置に配置された少なくとも4つの支柱部を有し、
前記支柱部のそれぞれの上端の高さは、前記搬送計量部の搬送面の高さと同等である、
重量検査装置。
続きを表示(約 290 文字)
【請求項2】
前記搬送計量部は、上流側から前記被検査物を受け入れて搬送し、下流側へ前記被検査物を受け渡す取込部と、前記取込部から受け渡された前記被検査物を搬送しながら前記被検査物の重量を計量する計量装置とを有し、前記架台に取り付けられている、
請求項1に記載の重量検査装置。
【請求項3】
前記架台は、前記支柱部のうち前記搬送方向に並ぶ2つの支柱部にそれぞれ接続される一対のビーム部を含み、
前記ビーム部のうち少なくとも1つの上端の高さは、前記搬送計量部の前記搬送面の高さと同等である、
請求項1又は2に記載の重量検査装置。
発明の詳細な説明
【技術分野】
【0001】
本発明は、重量検査装置に関する。
続きを表示(約 1,600 文字)
【背景技術】
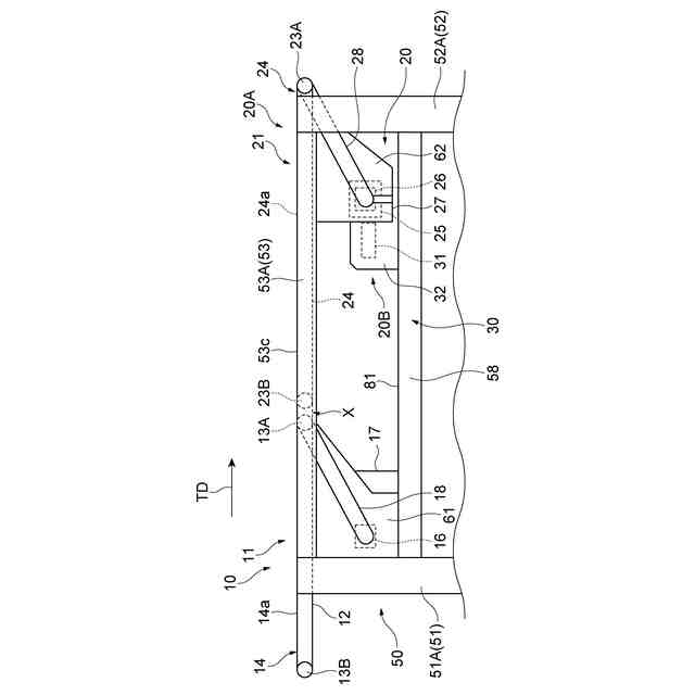
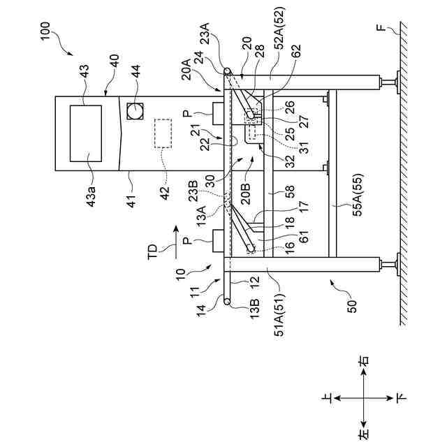
【0002】
従来、被検査物を搬送しながらその重量を測定し、後段の装置へ被検査物を供給する重量検査装置が知られている。重量検査装置は、被検査物を取り込む取り込み部と、取り込み部から供給された被検査物の重量を検出する計量部とを備える。取り込み部及び計量部は、架台によって支持される。例えば特許文献1に記載されるように、架台は、搬送方向(特許文献1におけるX軸方向)に所定距離をおいて配置された一対の逆U字形状の脚部材と、一対の脚部材上に固定されて搬送方向に延びる2本のレール状部材とを備える。レール状部材は、脚部材の水平部分に対し、溶接等によって固定されている。レール状部材は、計量部の計量ボックスと、取り込み部の取り込みボックスとを支持する。
【0003】
特許文献1の装置において、計量ボックス内には、起歪体であるロードセルが取り付けられている。ロードセルの一方側の固定端は計量ボックス内に固定されており、ロードセルの他方側の自由端は、駆動モータを収容するモータボックスと、一対の支持部材とを介して、計量コンベアを支持する。計量部では、計量コンベア自体の重量及び被検査物の重量が、支持部材及びモータボックス等を介してロードセルの自由端へと伝達される。
【先行技術文献】
【特許文献】
【0004】
特許第5064973号公報
【発明の概要】
【発明が解決しようとする課題】
【0005】
従来の重量検査装置の架台構造では、一対の脚部材を2本のレール状部材で接続していたので、架台においてねじれが発生しやすいという問題があった。ねじれが発生しやすい構造は、架台の剛性の低下を招くと共に、計量精度の低下を招く可能性があった。
【0006】
本発明は、ねじれを発生させにくい架台構造により、剛性を確保しつつ計量精度を向上させることができる重量検査装置を提供することを目的とする。
【課題を解決するための手段】
【0007】
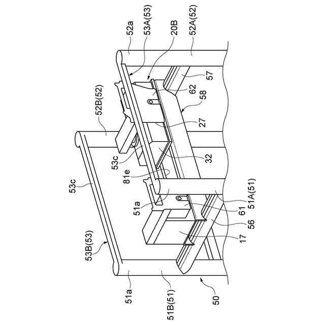
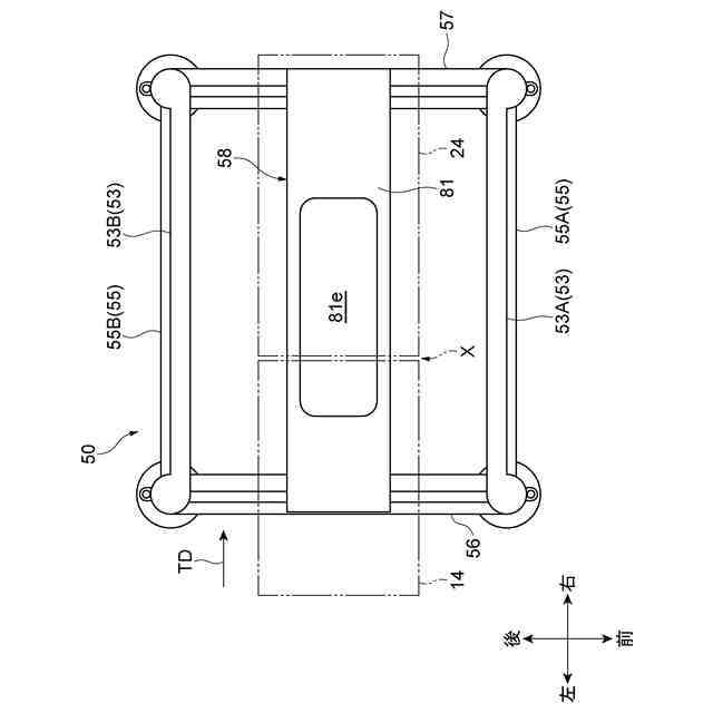
本発明の一態様に係る重量検査装置は、被検査物を搬送方向に搬送しながら被検査物の重量を計量する搬送計量部と、搬送計量部を支持する架台と、を備え、架台は、平面視において搬送計量部と重ならない位置に配置された少なくとも4つの支柱部と、支柱部のうち、搬送方向に直交する幅方向に並ぶ2つの支柱部にそれぞれ接続される少なくとも2つのビーム部と、少なくとも2つのビーム部の間に架け渡され、搬送計量部を支持するベース部材と、を有し、ベース部材における幅方向の大きさであるベース幅は、搬送計量部の下端における幅方向の大きさである下端幅と同等か又は当該下端幅より大きい。
【0008】
この重量検査装置によれば、搬送計量部の下端幅と同等か又は下端幅よりも大きなベース幅を有するベース部が、ビーム部に架け渡されている。このベース部が搬送計量部を支持するので、従来の2本のレール状部材を用いる構造よりも、ねじれを発生させにくい。また大きなベース幅を有するベース部によれば、剛性も確保されている。ねじれ防止と剛性アップとが実現された結果、計量精度も向上する。
【0009】
ベース部材は、搬送計量部が設置される設置面をなす天面板部と、天面板部の幅方向の両端に接続された一対の側面板部とを含み、側面板部の下端の間の下面は開放されていてもよい。この場合、架台を水で洗浄する場合に、水がベース部材に溜まりにくい。排水性(水はけ)に優れるため、ドライな状態を保ちやすい。
【0010】
側面板部の下端には、幅方向の内側に向けて折り曲げられた折り曲げ板部が形成されていてもよい。この場合、ベース部材は、洗浄時の排水性に優れるのみならず、折り曲げ板部によって更にベース部材の強度が高められている。
(【0011】以降は省略されています)
この特許をJ-PlatPat(特許庁公式サイト)で参照する
関連特許
株式会社イシダ
計量装置
14日前
株式会社イシダ
包装装置
1か月前
株式会社イシダ
受付端末装置
1か月前
株式会社イシダ
X線検査装置
2か月前
株式会社イシダ
組合せ計量装置
20日前
株式会社イシダ
組合せ計量装置
1か月前
株式会社イシダ
トレーサビリティ管理装置
14日前
株式会社イシダ
案内端末及び電子カルテシステム
28日前
株式会社イシダ
院内用書込装置及び受付端末装置
1か月前
株式会社イシダ
重量検査装置
1日前
株式会社イシダ
X線検査装置
6日前
株式会社イシダ
台紙レスラベルのラベル切断装置
22日前
個人
採尿及び採便具
1か月前
日本精機株式会社
検出装置
29日前
個人
高精度同時多点測定装置
1か月前
個人
計量機能付き容器
24日前
個人
アクセサリー型テスター
1か月前
株式会社カクマル
境界杭
14日前
甲神電機株式会社
電流検出装置
29日前
株式会社ミツトヨ
測定器
1か月前
日本精機株式会社
発光表示装置
7日前
株式会社トプコン
測量装置
6日前
アズビル株式会社
電磁流量計
1か月前
大成建設株式会社
風洞実験装置
24日前
個人
システム、装置及び実験方法
1か月前
ローム株式会社
半導体装置
1か月前
個人
非接触による電磁パルスの測定方法
27日前
双庸電子株式会社
誤配線検査装置
1か月前
愛知電機株式会社
軸部材の外観検査装置
1か月前
日本特殊陶業株式会社
ガスセンサ
今日
大和製衡株式会社
組合せ計量装置
1か月前
日本特殊陶業株式会社
ガスセンサ
6日前
ローム株式会社
半導体装置
1か月前
大和製衡株式会社
組合せ計量装置
1か月前
日本特殊陶業株式会社
ガスセンサ
22日前
個人
計量具及び計量機能付き容器
24日前
続きを見る
他の特許を見る