TOP
|
特許
|
意匠
|
商標
特許ウォッチ
Twitter
他の特許を見る
公開番号
2025175165
公報種別
公開特許公報(A)
公開日
2025-11-28
出願番号
2025158764,2023131854
出願日
2025-09-25,2018-03-20
発明の名称
X線検査装置
出願人
株式会社イシダ
代理人
個人
,
個人
,
個人
主分類
G21K
5/02 20060101AFI20251120BHJP(核物理;核工学)
要約
【課題】X線検出部の温度変化を抑制することができる、X線検査装置を提供する。
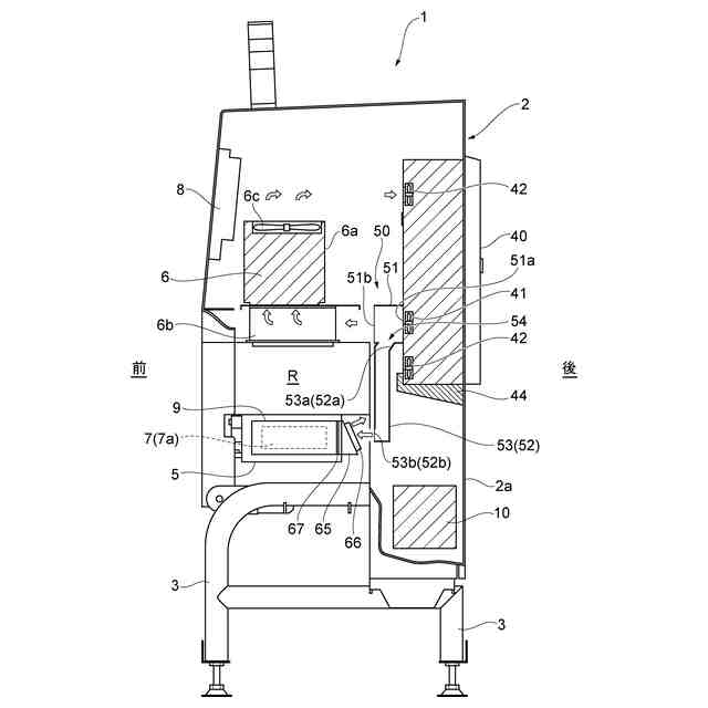
【解決手段】X線検査装置1は、物品Gを搬送する搬送部5と、搬送部5によって搬送される物品GにX線を照射するX線照射部6と、物品Gを透過したX線を検出するX線検出部7と、X線検出部7によって検出されたX線に基づいて生成されるX線透過画像に基づいて、物品Gが不良品であるか否かを判定すると共に、不良品であると判定された物品Gを、X線による物品Gの検査が実施される検査領域Rの下流に配置された振分装置によって生産ライン外に振り分けさせる制御部10と、内部に検査領域Rが設けられる筐体2と、筐体2を開閉可能にするドア2aと、ドア2aに取り付けられ、熱交換により冷却される冷気を供給する冷風機40と、冷風機40から供給される冷気をX線検出部7に導風する通風路50,61,62と、を備える。
【選択図】図5
特許請求の範囲
【請求項1】
物品を搬送する搬送部と、
前記搬送部によって搬送される物品にX線を照射するX線照射部と、
前記物品を透過した前記X線を検出するX線検出部と、
前記X線検出部によって検出された前記X線に基づいて生成されるX線透過画像に基づいて、前記物品が不良品であるか否かを判定すると共に、不良品であると判定された前記物品を、前記X線による前記物品の検査が実施される検査領域の下流に配置された振分装置によって生産ライン外に振り分けさせる制御部と、
内部に前記検査領域が設けられる筐体と、
前記筐体を開閉可能にするドアと、
前記ドアに取り付けられ、熱交換により冷却される冷気を供給する冷風機と、
前記冷風機から供給される冷気を前記X線検出部に導風する通風路と、を備える、X線検査装置。
続きを表示(約 560 文字)
【請求項2】
前記通風路は、前記冷風機から供給された冷気を前記X線照射部及び前記X線検出部のそれぞれに導風する、請求項1に記載のX線検査装置。
【請求項3】
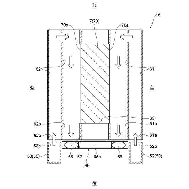
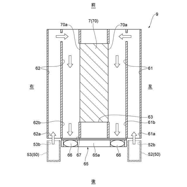
前記X線検出部を収容する収容部を更に備え、
前記収容部は、前記X線検出部を挟むように配置された第一流路及び第二流路を有し、
前記通風路は、ダクトと、前記第一流路と、前記第二流路とによって構成されており、
前記ダクトの一端は、前記冷風機の給気口に接続され、前記ダクトの他端は、前記ドアを閉めた状態において、前記第一流路の一端及び前記第二流路の一端と対向するように、かつ近接するように配置されている、請求項1又は2記載のX線検査装置。
【請求項4】
前記第一流路の他端及び前記第二流路の他端にそれぞれ配置される排気ファンを更に備え、
前記排気ファンは、前記冷風機の給気口に向かって空気を排気するように配置されている、請求項3記載のX線検査装置。
【請求項5】
前記ダクトは、前記冷風機の供給口に接続された第一ダクトと、
前記第一ダクトから分岐部を介して分岐され、前記第一流路の一端及び前記第二流路の一端に冷気を導風する分岐ダクトと、を有する、請求項3又は4記載のX線検査装置。
発明の詳細な説明
【技術分野】
【0001】
本発明は、X線検査装置に関する。
続きを表示(約 1,200 文字)
【背景技術】
【0002】
従来のX線検査装置としては、例えば、特許文献1に記載されている装置が知られている。特許文献1に記載のX線検査装置は、X線照射部(X線発生器)から発生する熱を外部へ導く通風路と、通風路の一部をなすと共にX線照射部を密封する基板と、基板を貫通して設けられ、X線照射部において発生する熱を通風路に伝達する冷却フィンと、を備えている。特許文献1のX線検査装置では、X線照射部の冷却を図ることができる。
【先行技術文献】
【特許文献】
【0003】
特開2001-318062号公報
【発明の概要】
【発明が解決しようとする課題】
【0004】
X線検査装置は、X線照射部が照射するX線を検出するラインセンサ等のX線検出部を備えている。このようなX線検出部は、熱等の影響によってノイズが増える等の不具合が発生し、検出精度が低下するおそれがある。したがって、X線検出部の温度は、可能な限り一定に維持されることが好ましい。上記従来のX線検査装置では、X線照射部の冷却を図ることはできるものの、X線検出部の温度変化を抑制することはできない。
【0005】
そこで、本発明は、X線検出部の温度変化を抑制することができる、X線検査装置を提供することを目的とする。
【課題を解決するための手段】
【0006】
本発明に係るX線検査装置は、X線を照射するX線照射部と、X線を検出するX線検出部と、X線検出部の少なくとも一部に対して空気を導風する導風部と、を備える。
【0007】
この構成のX線検査装置では、導風部によって導風される空気によって、X線検出部を冷やすことが可能になる。これにより、X線検出部における温度の変化を抑制することができる。
【0008】
本発明に係るX線検査装置では、X線検出部は、複数のエネルギー帯のX線を検出するセンサであってもよい。この構成のX線検査装置では、例えば、相対的に高いエネルギー帯のX線によって取得できる透過画像と相対的に低いエネルギー帯のX線によって取得できる透過画像とを同時に得ることができる。
【0009】
本発明に係るX線検査装置では、X線検出部は、X線検出部を制御する制御基板と共に、ユニットとして一体的に形成されており、導風部は、ユニットの少なくとも一部に対して空気を導風してもよい。この構成のX線検査装置では、発熱量の大きい制御基板がX線検出部と一体的に形成されている場合であっても、X線検出部における温度の変化を抑制することができる。
【0010】
本発明に係るX線検査装置では、導風部は、空気の流路である通風路と、通風路に空気を給気するファン、及び通風路から空気を排気するファンの少なくとも一方と、を有してもよい。これにより、より効果的に、X線検出部に空気を導風することができる。
(【0011】以降は省略されています)
この特許をJ-PlatPat(特許庁公式サイト)で参照する
関連特許
株式会社イシダ
包装装置
1か月前
株式会社イシダ
計量装置
13日前
株式会社イシダ
受付端末装置
1か月前
株式会社イシダ
X線検査装置
2か月前
株式会社イシダ
X線検査装置
2か月前
株式会社イシダ
組合せ計量装置
19日前
株式会社イシダ
組合せ計量装置
1か月前
株式会社イシダ
組合せ計量装置
2か月前
株式会社イシダ
トレーサビリティ管理装置
13日前
株式会社イシダ
案内端末及び電子カルテシステム
27日前
株式会社イシダ
院内用書込装置及び受付端末装置
1か月前
株式会社イシダ
X線検査装置
5日前
株式会社イシダ
台紙レスラベルのラベル切断装置
21日前
他の特許を見る