TOP
|
特許
|
意匠
|
商標
特許ウォッチ
Twitter
他の特許を見る
10個以上の画像は省略されています。
公開番号
2025130867
公報種別
公開特許公報(A)
公開日
2025-09-09
出願番号
2024028215
出願日
2024-02-28
発明の名称
容器
出願人
個人
,
個人
,
個人
,
個人
代理人
主分類
B65D
83/04 20060101AFI20250902BHJP(運搬;包装;貯蔵;薄板状または線条材料の取扱い)
要約
【課題】粒状ガム等を対象として収納し、喫食後のガムを収容でき、容易に取り扱うことができるコンパクトなごみ入れ付容器を提案する。
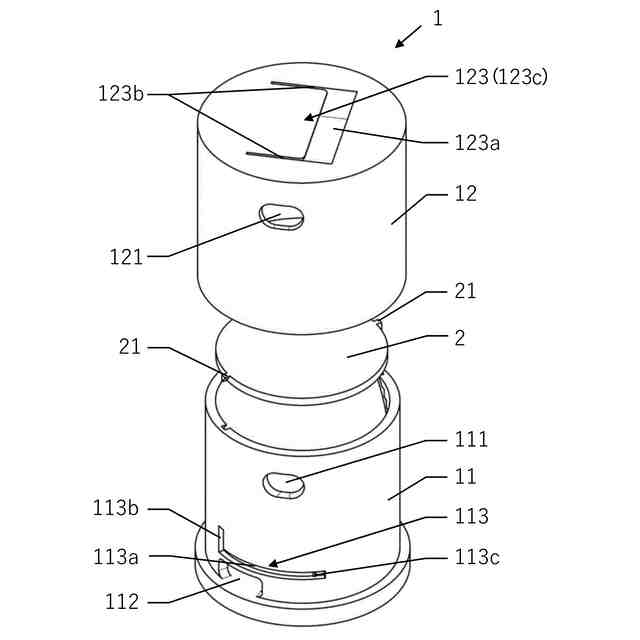
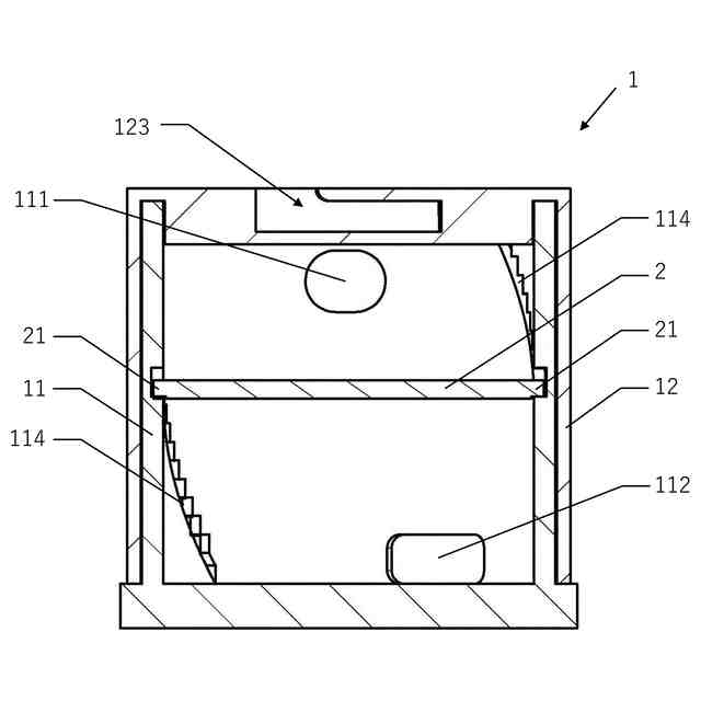
【解決手段】容器本体1は内部容器11と外部容器12による二重管を構成しており、内部容器11を降下可能な仕切板2によって分けることで、ごみを収容可能な上部空間と、内容物を収納可能な下部空間を形成し、内部容器11と外部容器12の相対的なスライド動作によりごみ投入および内容物排出が可能となるように構成した。
【選択図】図3
特許請求の範囲
【請求項1】
内容物が収納されて販売に供される容器であって、
容器本体と前記容器本体に内蔵される仕切板とからなり、
前記仕切板は、前記容器本体内を、ごみを収容可能な上部空間と内容物を収納可能な下部空間とに分割可能な形状に形成されているとともに、
前記容器本体は、前記上部空間にごみを投入可能なごみ投入口および前記下部空間から内容物を排出可能な内容物排出口を有しており、
前記仕切板は、前記下部空間から前記内容物が排出されるのに伴って自重または弾性物による弾性力によって降下し、前記上部空間の収容量を増加することができるように上下動可能に構成されている、前記容器。
続きを表示(約 1,400 文字)
【請求項2】
前記容器本体は、内部容器と外部容器とからなり、一方は底部のある円筒状、他方は天部のある円筒状に形成されていて、前記底部および前記天部の反対となる開口側から互いに嵌合させることで上下面が閉鎖された二重管を構成し、
前記内部容器および前記外部容器には、相対的に所定の角度回転させることで開口する前記ごみ投入口と、相対的に所定の角度回転させた後、上方向および下方向のいずれかの方向にスライドさせることで開口する前記内容物排出口とが形成されている、請求項1に記載の容器。
【請求項3】
前記内部容器および前記外部容器には、相対的に所定の角度回転させることで開口する前記ごみ投入口と、前記ごみ投入口を開口させた状態から、上方向および下方向のいずれかの方向にスライドさせることで開口する前記内容物排出口とが形成されている、請求項2に記載の容器。
【請求項4】
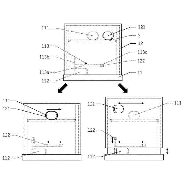
前記容器本体には、前記内容物とは異なる複数枚のシート状の付加物を収納できる収納凹部が形成されているとともに、
前記収納凹部の上部開口には、前記付加物の少なくとも一部を覆う被覆部と、前記被覆部の側部から前記収納凹部内に指を入れて前記付加物をスライド移動させるためのスライド用開口部と、前記被覆部のスライド方向の両端に開口されておりスライド移動させた前記付加物を取り出すための取出用開口部とが形成されている、請求項1に記載の容器。
【請求項5】
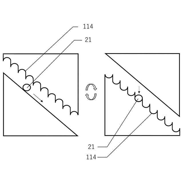
前記容器を上下反転したときに、前記仕切板が自重で降下しない反転時降下防止手段を備える、請求項1乃至請求項4のいずれかに記載の容器。
【請求項6】
前記反転時降下防止手段は、
前記容器本体の内周面に上方から下方にかけてらせん状に形成されたガイド溝と、
前記仕切板の外周縁から突出するように形成されており、前記ガイド溝に嵌め入れられて前記仕切板を前記ガイド溝に沿って回転させながら降下させるガイド突起と
を有しており、
前記ガイド溝の上面には、前記容器を上下反転させたときに、前記ガイド突起を係止し、前記仕切板の降下を防止する複数個の降下防止用係止突起が形成されている、請求項5に記載の容器。
【請求項7】
前記降下防止用係止突起は、前記容器が上下反転された状態で略水平となり、前記ガイド突起を載置させて前記ガイド突起の脱落を防止するガイド突起載置面を備えている、請求項6に記載の容器。
【請求項8】
前記降下防止用係止突起は、前記容器が上下反転された状態で下方に向けて窪んだ凹形状となり、前記ガイド突起を嵌合させるガイド突起嵌合凹溝を備えている、請求項6に記載の容器。
【請求項9】
前記反転時降下防止手段は、
前記容器本体の中心位置に立設されたガイド棒と、
前記ガイド棒に所定間隔ごとに並べて形成された略円錐台状の逆行防止円錐部と、
前記仕切板の中心位置でかつ前記逆行防止円錐部を挿通可能な大きさに開口された挿通孔と
を有しており、
前記逆行防止円錐部は、前記容器を上下反転させた状態において、前記ガイド棒と前記仕切板との中心位置がずれた場合に、前記挿通孔の周縁部を係止して前記仕切板の降下を防止する、請求項5に記載の容器。
発明の詳細な説明
【技術分野】
【0001】
本発明は、ごみ入れの付いた容器に関するものである。
続きを表示(約 2,000 文字)
【背景技術】
【0002】
粒状のガム等は、開閉可能な蓋を備えた容器内に収納した、いわゆるボトルガムとして販売されている。噛み終わったガム等は、そのまま廃棄するのは公衆道徳上,衛生上,美観上好ましくない。よって、紙等に包んで廃棄するのが慣行である。しかしながら、紙に包んだガムを廃棄するためにゴミ箱等の廃棄場所が必要であり、廃棄場所が近くに無い場合には、ガムを噛み終わるごとに一々廃棄場所まで運ばなければならない。従って、携帯用には不向きである。そこで、これまでに、この様な不都合を解消すべく、ゴミ入れ付きの容器に係る発明が提案されている。
【0003】
例えば、特開2008-7306号公報には、複数のガムが収納された容器と、容器体の胴部に摺動降下可能に嵌合した上端開口の有底筒状をなす可動カバーを備え、容器体の胴部と可動カバー周壁との間に投入・収納用の第1空間を形成し、第1空間と連通する投入口を可動カバーの上端部に設けている。そして、容器体に対する可動カバーの相対降下時に第1空間と連通する第2空間が容器体底部と可動カバー底部との間に形成される、ゴミ入れ付容器が提案されている(特許文献1)。
【0004】
この特許文献1によれば、上記ゴミ入れ付容器は、喫食後、捨て紙に包んだガムを第2空間に廃棄することができるとともに、可動カバーの摺動降下により、ゴミの量に応じてゴミ収納量を増やすことができるとされている。
【先行技術文献】
【特許文献】
【0005】
特開2008-7306号公報
【発明の概要】
【発明が解決しようとする課題】
【0006】
しかしながら、特許文献1に記載された上記従来の容器においては、可動カバーを降下させてゴミ収納量を増やすのにつれて容器全体が大きくなってしまうという問題がある。また、ガムの個数が減少するのにつれてガムの遊び空間が生じ、携帯時の振動などで音が発生するといった問題もある。さらに、蓋を開いて指を容器の中に入れてガムを取り出す必要があるため、その都度ほこりや手指についた雑菌が容器内に侵入して衛生的でないという問題もある。
【0007】
本発明は、これらのような事情に鑑みなされたもので、粒状ガムや個包装されたキャンデー等を対象として収納し、これらの内容物の減少に伴って、ごみの収容量を増加させることができるとともに、前記ごみ収容部に加え、容器上面に捨て紙を一枚づつ取り出し可能に収納する収納凹部を備えており、内容物が減少しても遊び空間による音の発生を抑えることができ、且つ容器内に指を入れずとも内容物および捨て紙を取り出すことができるコンパクトなごみ入れ付容器を提供することを目的としている。
【課題を解決するための手段】
【0008】
本発明に係る容器は、ごみの収容量を増加させることにより容器全体が大きくなり、内容物の減少に伴う遊び空間により音が発生するという課題を解決するために、内容物が収納されて販売に供される容器であって、容器本体と前記容器本体に内蔵される仕切板とからなり、前記仕切板は、前記容器本体内を、ごみを収容可能な上部空間と内容物を収納可能な下部空間とに分割可能な形状に形成されているとともに、前記容器本体は、前記上部空間にごみを投入可能なごみ投入口および前記下部空間から内容物を排出可能な内容物排出口を有しており、前記仕切板は、前記下部空間から前記内容物が排出されるのに伴って自重または弾性物による弾性力によって降下し、前記上部空間の収容量を増加することができるように上下動可能に構成されている。
【0009】
また、本発明の一態様として、意図せず内容物が飛び出るという課題を解決するために、前記容器本体は、内部容器と外部容器とからなり、一方は底部のある円筒状、他方は天部のある円筒状に形成されていて、前記底部および前記天部の反対となる開口側から互いに嵌合させることで上下面が閉鎖された二重管を構成し、前記内部容器および前記外部容器には、相対的に所定の角度回転させることで開口する前記ごみ投入口と、相対的に所定の角度回転させた後、上方向および下方向のいずれかの方向にスライドさせることで開口する前記内容物排出口とが形成されていてもよい。
【0010】
さらに、本発明の一態様として、意図せず内容物が飛び出るのを防止するとともに、ごみ投入口の開口操作からの連続操作で内容物排出口を開口させるという課題を解決するため、前記内部容器および前記外部容器には、相対的に所定の角度回転させることで開口する前記ごみ投入口と、前記ごみ投入口を開口させた状態から、上方向および下方向のいずれかの方向にスライドさせることで開口する前記内容物排出口とが形成されていてもよい。
(【0011】以降は省略されています)
この特許をJ-PlatPat(特許庁公式サイト)で参照する
関連特許
個人
収容箱
2か月前
個人
コンベア
4か月前
個人
容器
8か月前
個人
段ボール箱
6か月前
個人
段ボール箱
6か月前
個人
ゴミ収集器
6か月前
個人
土嚢運搬器具
8か月前
個人
角筒状構造体
5か月前
個人
楽ちんハンド
4か月前
個人
バンド
1か月前
個人
宅配システム
6か月前
個人
閉塞装置
9か月前
個人
包装容器
23日前
個人
お薬の締結装置
5か月前
個人
コード類収納具
7か月前
個人
廃棄物収容容器
2か月前
個人
蓋閉止構造
3か月前
個人
ゴミ処理機
8か月前
個人
蓋閉止構造
3か月前
株式会社バンダイ
物品
4日前
個人
積み重ね用補助具
2か月前
株式会社和気
包装用箱
8か月前
個人
把手付米袋
4か月前
株式会社コロナ
梱包材
5か月前
個人
貯蔵サイロ
6か月前
三甲株式会社
容器
5か月前
株式会社KY7
封止装置
2か月前
個人
袋入り即席麺
6か月前
三甲株式会社
蓋体
9か月前
三甲株式会社
容器
5か月前
三甲株式会社
蓋体
7か月前
個人
輸送積荷用動吸振器
5か月前
個人
介護用コップ
1か月前
個人
コード折り畳み器具
3か月前
株式会社新弘
容器
2か月前
株式会社イシダ
搬送装置
5か月前
続きを見る
他の特許を見る