TOP
|
特許
|
意匠
|
商標
特許ウォッチ
Twitter
他の特許を見る
10個以上の画像は省略されています。
公開番号
2025174206
公報種別
公開特許公報(A)
公開日
2025-11-28
出願番号
2024080344
出願日
2024-05-16
発明の名称
モータ、及びロータ固定構造
出願人
株式会社日立製作所
代理人
弁理士法人湘洋特許事務所
主分類
H02K
1/30 20060101AFI20251120BHJP(電力の発電,変換,配電)
要約
【課題】ロータとハウジングの径方向の分離を防止できる、モータ、及びロータ固定構造を提供する。
【解決手段】ロータと、前記ロータを収納するハウジングとを備えるモータであって、前記ハウジングの内周面に複数の内周係合部を有し、前記ロータの外周面に複数の外周係合部を有し、前記ロータは、前記外周係合部が前記内周係合部と径方向において係合して前記ハウジングに固定される、モータ。
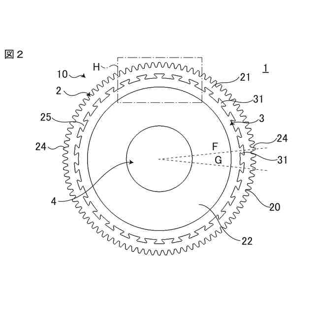
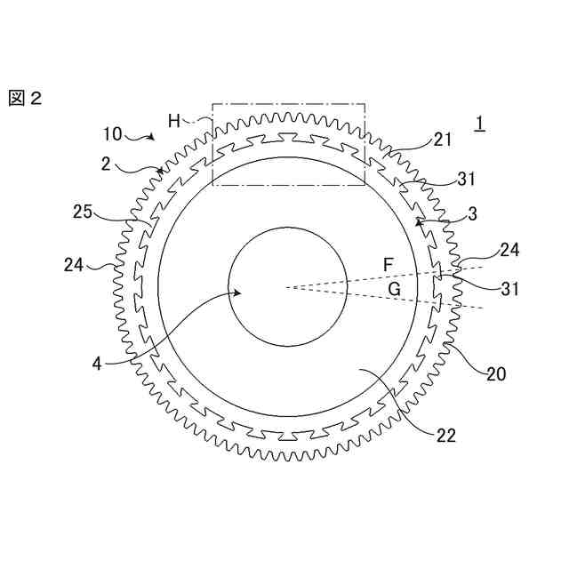
【選択図】図2
特許請求の範囲
【請求項1】
ロータと、前記ロータを収納するハウジングとを備えるモータであって、
前記ハウジングの内周面に複数の内周係合部を有し、
前記ロータの外周面に複数の外周係合部を有し、
前記ロータは、前記外周係合部が前記内周係合部と径方向において係合して前記ハウジングに固定される
ことを特徴とするモータ。
続きを表示(約 1,300 文字)
【請求項2】
請求項1に記載のモータであって、
前記内周係合部は、
前記ハウジングの内周面から径方向内側に延びる第1の根元部と、
前記第1の根元部から互いに離隔するように周方向に延びる1対の第1の突部と、を有し、
前記外周係合部は、
前記ロータの外周面から径方向外側に延びる第2の根元部と、
前記第2の根元部から互いに離隔するように周方向に延びる1対の第2の突部と、を有し、
前記第1の突部は径方向内側寄りの部分の周方向の幅が広く、前記第2の突部は径方向外側寄りの部分の周方向の幅が広く、前記ロータは前記第1の突部と前記第2の突部とが径方向において互いに係合して固定される
ことを特徴とするモータ。
【請求項3】
請求項1に記載のモータであって、
前記ハウジングの外周面に複数の歯または複数の溝を有し、
前記内周係合部の数は、前記歯の数または前記溝の数の約数または倍数である
ことを特徴とするモータ。
【請求項4】
請求項3に記載のモータであって、
少なくとも一の前記外周係合部の中心線が、一の前記歯または前記溝の中心線と同一直線上にある
ことを特徴とするモータ。
【請求項5】
ロータと、前記ロータを収納するハウジングとを備えるモータのロータ固定構造であって、
前記ハウジングの内周面に複数の内周係合部を有し、
前記ロータの外周面に複数の外周係合部を有し、
前記ロータは、前記外周係合部と前記内周係合部とが径方向において係合して前記ハウジングに固定される
ことを特徴とするロータ固定構造。
【請求項6】
請求項5に記載のロータ固定構造であって、
前記内周係合部は、
前記ハウジングの内周面から径方向内側に延びる第1の根元部と、
前記第1の根元部から互いに離隔するように周方向に延びる1対の第1の突部と、を有し、
前記外周係合部は、
前記ロータの外周面から径方向外側に延びる第2の根元部と、
前記第2の根元部から互いに離隔するように周方向に延びる1対の第2の突部と、を有し、
前記第1の突部は径方向内側寄りの部分の周方向の幅が広く、前記第2の突部は径方向外側寄りの部分の周方向の幅が広く、前記ロータは前記第1の突部と前記第2の突部とが径方向において互いに係合して固定される
ことを特徴とするロータ固定構造。
【請求項7】
請求項5に記載のロータ固定構造であって、
前記ハウジングの外周面に複数の歯または複数の溝を有し、
前記内周係合部の数は、前記歯の数または前記溝の数の約数または倍数である
ことを特徴とするロータ固定構造。
【請求項8】
請求項7に記載のロータ固定構造であって、
少なくとも一の前記外周係合部の中心線が、一の前記歯または前記溝の中心線と同一直線上にある
ことを特徴とするロータ固定構造。
発明の詳細な説明
【技術分野】
【0001】
本発明は、モータ、及びロータ固定構造に関する。
続きを表示(約 1,300 文字)
【背景技術】
【0002】
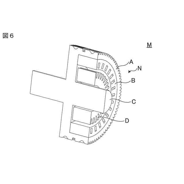
ステータが内側に配置され、その周囲にロータが配置されるアウターロータ型のモータがある。
【0003】
なお、特許文献1には、モータに関して「複軸に配置された2つの回転電機とギヤリダクション機構とを有するトランスアクスルにおける回転電機のアウターロータ構造であって、軸方向に延びるロータシャフト取付用のシャフト取付部、前記シャフト取付部から外周側に向かって径方向に張り出す円板部、及び、前記円板部の外周において軸方向に円環状に突出し内周側にロータコア配置用の凹部を有するリング部を含むロータ本体と、前記リング部の前記ロータコア配置用の凹部に配置され、周方向に予め定められた数の磁極が設けられた環状形状を有するロータコアと、前記ギヤリダクション機構との係合用に前記リング部の外周面に設けられたスプラインと、を備える、回転電機のアウターロータ構造」が記載されている(特許文献1の請求項1を参照)。
【先行技術文献】
【特許文献】
【0004】
特開2018-164370号公報
【発明の概要】
【発明が解決しようとする課題】
【0005】
アウターロータ型のモータは、一般的にロータが圧入または焼嵌めによりハウジングの内周面に固定して収納される。しかしながら、大きな外力を受けると、固定しているはずのロータとハウジングが径方向において分離してしまい、摩耗の増大、騒音の増大等の弊害を来す恐れがある。
【0006】
上記特許文献1には、このような課題やその解決手段については記載されていない。
【0007】
本発明は、上記課題に鑑みてなされたものであり、ロータとハウジングの径方向の分離を防止できる、モータ、及びロータ固定構造を提供することを目的とする。
【課題を解決するための手段】
【0008】
本願は、上記課題の少なくとも一部を解決する手段を複数含んでいるが、その例を挙げるならば、以下のとおりである。上記の課題を解決する本発明の一態様に係るモータは、ロータと、前記ロータを収納するハウジングとを備えるモータであって、前記ハウジングの内周面に複数の内周係合部を有し、前記ロータの外周面に複数の外周係合部を有し、前記ロータは、前記外周係合部が前記内周係合部と径方向において係合して前記ハウジングに固定される。
【0009】
上記の課題を解決する本発明の一態様に係るロータ固定構造は、ロータと、前記ロータを収納するハウジングとを備えるモータのロータ固定構造であって、前記ハウジングの内周面に複数の内周係合部を有し、前記ロータの外周面に複数の外周係合部を有し、前記ロータは、前記外周係合部と前記内周係合部とが径方向において係合して前記ハウジングに固定される。
【発明の効果】
【0010】
本発明によれば、ロータとハウジングの径方向の分離を防止できる、モータ、及びロータ固定構造を提供することができる。
(【0011】以降は省略されています)
この特許をJ-PlatPat(特許庁公式サイト)で参照する
関連特許
株式会社日立製作所
演算装置
1日前
株式会社日立製作所
モータ、及びロータ固定構造
1日前
株式会社日立製作所
検証システムおよび検証方法
1日前
株式会社日立製作所
設計支援装置及び設計支援方法
1日前
株式会社日立製作所
異常診断装置及び異常診断システム
1日前
株式会社日立製作所
自律走行車両管理システムおよび方法
1日前
株式会社日立製作所
同意情報確認装置および同意情報確認方法
1日前
株式会社日立製作所
チェックリストの作成方法及び作成システム
1日前
株式会社日立製作所
状態監視装置、回転位置決め装置及び状態監視方法
1日前
株式会社日立製作所
半導体装置、半導体装置の製造方法、及び、電子機器
1日前
株式会社日立製作所
含炭素化合物生成システム及び含炭素化合物生成方法
1日前
株式会社日立製作所
設計製造支援装置、設計製造支援方法、及びプログラム
1日前
株式会社日立製作所
計算機システム、医薬品の販売価格の算出方法、及びプログラム
1日前
個人
電気を重力で発電装置
23日前
個人
高圧電気機器の開閉器
10日前
キヤノン電子株式会社
モータ
22日前
キヤノン電子株式会社
モータ
1か月前
日星電気株式会社
ケーブル組立体
1か月前
コーセル株式会社
電源装置
1か月前
株式会社アイドゥス企画
減反モータ
10日前
トヨタ自動車株式会社
モータ
22日前
株式会社デンソー
回転機
1か月前
株式会社デンソー
端子台
3日前
個人
二次電池繰返パルス放電器用印刷基板
1か月前
株式会社ミツバ
回転電機
1か月前
株式会社デンソー
電力変換装置
1か月前
ローム株式会社
半導体集積回路
1日前
株式会社デンソー
電力変換装置
1か月前
矢崎総業株式会社
電源回路
9日前
株式会社日立製作所
回転電機
1日前
株式会社TMEIC
制御装置
2日前
矢崎総業株式会社
給電装置
2日前
株式会社デンソー
非接触受電装置
1か月前
トヨタ自動車株式会社
固定子の加熱装置
1か月前
株式会社ダイヘン
インバータ装置
1か月前
個人
非対称鏡像力を有する4層PWB電荷搬送体
17日前
続きを見る
他の特許を見る