TOP
|
特許
|
意匠
|
商標
特許ウォッチ
Twitter
他の特許を見る
10個以上の画像は省略されています。
公開番号
2025173111
公報種別
公開特許公報(A)
公開日
2025-11-27
出願番号
2024078509
出願日
2024-05-14
発明の名称
IT運用管理装置および方法
出願人
株式会社日立製作所
代理人
弁理士法人ウィルフォート国際特許事務所
主分類
G06F
9/50 20060101AFI20251119BHJP(計算;計数)
要約
【課題】リソースを適切に管理する。
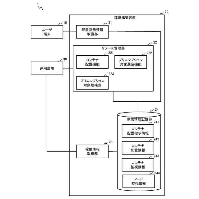
【解決手段】環境構築装置20は、運用環境30における複数のコンテナそれぞれのワークロードの特性に応じてプリエンプション対象となるコンテナを選定する。環境構築装置20は、リソース管理部22と、稼働情報取得部23と、環境情報記憶部24と、を備える。リソース管理部は、運用環境に対するコンテナの配置をコンテナ配置情報242として管理する。稼働情報取得部は、運用環境で稼働するリソースの稼働状況をコンテナ監視情報243として取得する。環境情報記憶部は、コンテナ配置情報およびコンテナ監視情報を記憶する。リソース管理部は、コンテナ配置情報およびコンテナ監視情報に基づいて、実行中のコンテナのワークロード特性を推測し、複数のコンテナからプリエンプション対象となるコンテナを選定する。
【選択図】図1
特許請求の範囲
【請求項1】
運用環境における複数のコンテナそれぞれのワークロードの特性に応じてプリエンプション対象となるコンテナを選定するIT運用管理装置であって、
前記運用環境に対する前記コンテナの配置をコンテナ配置情報として管理するリソース管理部と、
前記運用環境で稼働するリソースの稼働状況をコンテナ監視情報として取得する稼働情報取得部と、
前記コンテナ配置情報および前記コンテナ監視情報を記憶する環境情報記憶部と、を備え、
前記リソース管理部は、前記コンテナ配置情報および前記コンテナ監視情報に基づいて、実行中のコンテナのワークロード特性を推測し、前記複数のコンテナからプリエンプション対象となるコンテナを選定するIT運用管理装置。
続きを表示(約 1,500 文字)
【請求項2】
前記運用環境に対する前記コンテナの配置指示をコンテナ配置指示情報として取得する配置指示情報取得部を備え、
前記リソース管理部は、前記コンテナ配置指示情報前記と、前記コンテナ配置情報と、前記コンテナ監視情報に基づいて、前記プリエンプション対象となるコンテナを選定する、
請求項1に記載のIT運用管理装置。
【請求項3】
前記リソースは、第1プロセッサと、当該第1プロセッサよりも処理性能が低い第2プロセッサとを有し、
前記リソース管理部は、前記第1プロセッサから前記第2プロセッサに再配置させるコンテナを前記プリエンプション対象として選定する、
請求項1に記載のIT運用管理装置。
【請求項4】
前記第1プロセッサは、GPUであり、
前記第2プロセッサは、CPUである、
請求項3に記載のIT運用管理装置。
【請求項5】
前記コンテナ監視情報には、前記複数のコンテナ毎のリクエスト処理時間およびGPU利用率が含まれており、
前記リソース管理部は、前記リクエスト処理時間および前記GPU利用率に基づいて、前記プリエンプション対象となるコンテナを選定する、
請求項4に記載のIT運用管理装置。
【請求項6】
前記コンテナ監視情報には、前記複数のコンテナ毎のVRAM利用量が含まれており、
前記リソース管理部は、前記VRAM利用量に基づいて、前記プリエンプション対象となるコンテナを選定する、
請求項1に記載のIT運用管理装置。
【請求項7】
運用環境における複数のコンテナそれぞれのワークロードの特性に応じてプリエンプション対象となるコンテナを選定するIT運用管理装置によるIT運用管理方法であって、
前記運用環境に対するコンテナの配置指示をコンテナ配置指示情報として取得するステップと、
前記運用環境に対する前記コンテナの配置をコンテナ配置情報として取得するステップと、
前記運用環境で稼働するリソースの稼働状況をコンテナ監視情報として取得するステップと、
前記コンテナ配置指示情報と、前記コンテナ配置情報と、前記コンテナ監視情報を記憶するステップと、
前記コンテナ配置情報および前記コンテナ監視情報に基づいて、実行中のコンテナのワークロード特性を推測し、前記複数のコンテナからプリエンプション対象となるコンテナを選定するステップと、を有するIT運用管理方法。
【請求項8】
前記プリエンプション対象となるコンテナを選定するステップは、前記プリエンプション対象のコンテナを前記リソースのうちGPUを利用せずにCPUに処理させるように前記運用環境に配置する、
請求項7に記載のIT運用管理方法。
【請求項9】
前記コンテナ監視情報には、前記複数のコンテナ毎のリクエスト処理時間及びGPU利用率が含まれており、
前記プリエンプション対象となるコンテナを選定するステップは、前記リクエスト処理時間およびGPU利用率に基づいて、前記プリエンプション対象となるコンテナを選定する、
請求項8に記載のIT運用管理方法。
【請求項10】
前記コンテナ監視情報には、前記複数のコンテナ毎のVRAM利用量が含まれており、
前記プリエンプション対象となるコンテナを選定するステップは、前記VRAM利用量に基づいて、前記プリエンプション対象となるコンテナを選定する、
請求項7に記載のIT運用管理方法。
発明の詳細な説明
【技術分野】
【0001】
本発明は、IT運用管理装置および方法に関する。
続きを表示(約 1,600 文字)
【背景技術】
【0002】
人工知能(Artificial Intelligence、AI)の分野、特にディープラーニングでは、大量のデータ処理と並列計算に高性能なグラフィックス処理ユニット(Graphical Procesing Unit、GPU)が必要とされている。GPUは、高価であるため、複数の開発プロジェクトが共有するインフラでは、効率的なリソース配分およびジョブスケジューリングが重要となる。一方、中央処理装置(Central Processing Unit、CPU)は、より一般的にコスト効率の良いリソースとして扱われ、その適切な利用もまた重要である。
【0003】
Kubernetesは、一般的なウェブサービス系ワークロード向けのリソーススケジューリングに使用されるものの、AI開発のニーズに完全には対応していない。このギャップを埋めるために、KueueというOSSが開発され、AI開発をはじめとした特有のスケジューリングニーズに対応している(非特許文献1)。
【0004】
さらに、特許文献1には、CPUとGPUの効率的な利用を目指し、コード内容に基づくGPU利用の判定手法が記載されている。
【先行技術文献】
【非特許文献】
【0005】
Kueue、インターネット<URL:https://kueue.sigs.k8s.io>
国際公開第2022/079748号
【発明の概要】
【発明が解決しようとする課題】
【0006】
GPUインフラにおけるジョブスケジューリングの問題に焦点を当てた場合、非特許文献1のジョブスケジューリングシステムは、複数のコンテナプログラムに対して優先度を基にリソースを割り当てる。このプロセスにおいて、高優先度のコンテナプログラムが必要とするリソースを確保するために、低優先度のコンテナプログラムを一時的に停止することがある。このような操作をプリエンプションと呼ぶ。しかし、プリエンプションによって低優先度のコンテナプログラムが停止されると、そのプログラムのスループットは、0になってしまう。
【0007】
さらに、特許文献1では、配置対象のプログラムのソースコードの内容を分析してGPU利用を判定する。しかし、この判定手法では、プログラムの内容を分析できない場合、利用するインフラの種類を特定することができない。このため、リソースの種類を動的にかつ効率的に選択し、割り当てることが困難である。
【0008】
そこで、本発明は、上記課題に鑑みてなされたもので、その目的は、リソースを適切に管理する技術を提供することにある。
【課題を解決するための手段】
【0009】
上記目的を解決するために、本発明は、運用環境における複数のコンテナそれぞれのワークロードの特性に応じてプリエンプション対象となるコンテナを選定するIT運用管理装置であって、前記運用環境に対する前記コンテナの配置をコンテナ配置情報として管理するリソース管理部と、前記運用環境で稼働するリソースの稼働状況をコンテナ監視情報として取得する稼働情報取得部と、前記コンテナ配置情報および前記コンテナ監視情報を記憶する環境情報記憶部と、を備え、前記リソース管理部は、前記コンテナ配置情報および前記コンテナ監視情報に基づいて、実行中のコンテナのワークロード特性を推測し、前記複数のコンテナからプリエンプション対象となるコンテナを選定する。
【発明の効果】
【0010】
本発明によれば、リソースを適切に管理することができる。
【図面の簡単な説明】
(【0011】以降は省略されています)
この特許をJ-PlatPat(特許庁公式サイト)で参照する
関連特許
株式会社日立製作所
鉄道車両
1か月前
株式会社日立製作所
放射線モニタ
1か月前
株式会社日立製作所
システム検証方法
22日前
株式会社日立製作所
ガス分離システム
1か月前
株式会社日立製作所
電力変換システム
7日前
株式会社日立製作所
調停案提示システム
1か月前
株式会社日立製作所
鉄道車両用空調装置
21日前
株式会社日立製作所
部品管理装置及び方法
1か月前
株式会社日立製作所
乗降床及び乗客コンベア
20日前
株式会社日立製作所
生産ライン設計システム
15日前
株式会社日立製作所
店舗管理装置および方法
22日前
株式会社日立製作所
施設管理装置および方法
7日前
株式会社日立製作所
署名照合システム及び方法
28日前
株式会社日立製作所
検索システム及び検索方法
22日前
株式会社日立製作所
飲食店提案装置および方法
22日前
株式会社日立製作所
データ変換装置および方法
1か月前
株式会社日立製作所
乗りかご及びエレベーター
22日前
株式会社日立製作所
乗りかご及びエレベーター
23日前
株式会社日立製作所
宇宙機、地上局及びアンテナ
7日前
株式会社日立製作所
生体認証装置、生体認証方法
21日前
株式会社日立製作所
ソフトエラー率評価システム
8日前
株式会社日立製作所
ソースコードを生成する方法
15日前
株式会社日立製作所
膜分離設備設計支援システム
7日前
株式会社日立製作所
IT運用管理装置および方法
今日
株式会社日立製作所
ガス分離システムの劣化診断装置
7日前
株式会社日立製作所
購入関連行動分析装置および方法
21日前
株式会社日立製作所
立体構造宇宙機及びその制御方法
20日前
株式会社日立製作所
広告支援装置および広告支援方法
今日
株式会社日立製作所
物体検出装置および物体検出方法
28日前
株式会社日立製作所
治療効果予測システムおよび方法
1か月前
株式会社日立製作所
水素製造制御システムおよび方法
1日前
株式会社日立製作所
蒸発乾固装置および蒸発乾固方法
1か月前
株式会社日立製作所
スカートモール及び乗客コンベア
7日前
株式会社日立製作所
情報処理方法及び情報処理システム
23日前
株式会社日立製作所
テスト支援装置及びテスト支援方法
7日前
株式会社日立製作所
計算機システム及びデータ送信方法
29日前
続きを見る
他の特許を見る