TOP
|
特許
|
意匠
|
商標
特許ウォッチ
Twitter
他の特許を見る
公開番号
2025151168
公報種別
公開特許公報(A)
公開日
2025-10-09
出願番号
2024052455
出願日
2024-03-27
発明の名称
蒸発乾固装置および蒸発乾固方法
出願人
株式会社日立製作所
代理人
弁理士法人磯野国際特許商標事務所
主分類
G21G
4/08 20060101AFI20251002BHJP(核物理;核工学)
要約
【課題】放射性物質が溶解した溶液の飛び散りが抑制され、放射性物質を含むガスの排出量が少ない蒸発乾固装置および蒸発乾固方法を提供する。
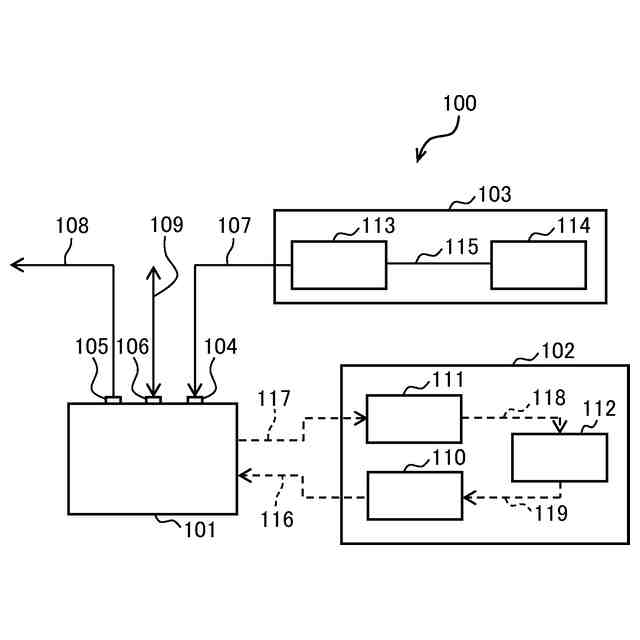
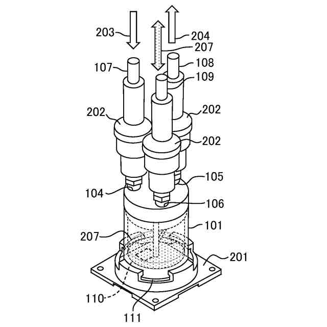
【解決手段】本発明に係る蒸発乾固装置100は、放射性物質が溶解した溶液207を保持し、蒸発乾固するための蒸発乾固容器101と、前記蒸発乾固容器101を加熱する加熱装置102と、前記蒸発乾固容器101に気体を供給する気体供給装置103と、を備え、前記加熱装置102は、前記蒸発乾固容器101の下面または下方の位置を加熱する加熱手段110と、前記蒸発乾固容器101の規定位置の温度を検出する温度検出手段111と、を備え、前記温度検出手段111が、前記蒸発乾固容器101の下面または下方の位置の温度を検出する。
【選択図】図1
特許請求の範囲
【請求項1】
放射性物質が溶解した溶液を保持し、蒸発乾固するための蒸発乾固容器と、前記蒸発乾固容器を加熱する加熱装置と、前記蒸発乾固容器に気体を供給する気体供給装置と、を備え、
前記蒸発乾固容器は、外気と遮断された封止構造であるとともに、気体を供給できる少なくとも1つの気体供給孔と、気体を排出できる少なくとも1つの気体排出孔と、を備え、
前記加熱装置は、前記蒸発乾固容器の下面または下方の位置を加熱する加熱手段と、前記蒸発乾固容器の規定位置の温度を検出する温度検出手段と、前記温度検出手段の検出値により前記加熱手段を制御する加熱制御手段と、を備え、
前記気体供給装置は、前記気体供給孔に供給する送気体量を制御する気体供給量制御手段を備え、
前記気体供給孔および前記気体排出孔は、前記蒸発乾固容器の上面または上方の位置に配置され、
前記温度検出手段が、前記蒸発乾固容器の下面または下方の位置の温度を検出することを特徴とする蒸発乾固装置。
続きを表示(約 530 文字)
【請求項2】
前記蒸発乾固容器の加熱時に前記蒸発乾固容器の側面を囲むように配置された壁状部材である遮熱板を備えていることを特徴とする請求項1に記載の蒸発乾固装置。
【請求項3】
前記加熱制御手段が、連続加温時の安定溶液液温を沸点より1℃~10℃低く加温制御することを特徴とする請求項1に記載の蒸発乾固装置。
【請求項4】
前記加熱制御手段は、前記温度検出手段の検出値および前記加熱手段の加熱出力値のうちの少なくとも一方を用い、前記蒸発乾固容器内の溶液の完全蒸発を検知することを特徴とする請求項1に記載の蒸発乾固装置。
【請求項5】
前記気体供給量制御手段による前記蒸発乾固容器への送気体量が、
排気体量(L/min)=気化溶媒体積速度(L/min)×(気体温度での大気圧/気体温度での溶媒の飽和蒸気圧)
で求められる排気体量になるように制御することを特徴とする請求項1に記載の蒸発乾固装置。
【請求項6】
請求項1~5のうちのいずれか一項に記載の蒸発乾固装置を用いて前記放射性物質が溶解した溶液を蒸発させ、前記放射性物質を析出させることを特徴とする蒸発乾固方法。
発明の詳細な説明
【技術分野】
【0001】
本発明は、放射性物質が溶解した溶液の蒸発乾固装置およびそれを用いた蒸発乾固方法に関する。
続きを表示(約 1,800 文字)
【背景技術】
【0002】
放射性物質は、放射性同位元素(ラジオアイソトープ)の放射線を用いる放射性医薬品として使用されており、体内に投与して放射線を撮影することで臓器の状態を検査したり、注射や経口投与によりがん細胞を死滅させたりする治療に使われている。
【0003】
一方で、放射性医薬品を得るには、原子炉で中性子を照射する等で製造した放射性物質から、所望の放射性物質を分離したり、不純物を取り除いたりするための分離精製工程が必要である。この放射性物質の分離精製工程においては、溶解させる溶液を適宜変えて、樹脂(レジン)に吸着・溶出させる工程を繰り返す。そのため、放射性物質が溶解した溶液を加熱し、溶媒を蒸発させ、放射性物質(固体)を析出させる蒸発乾固工程が必要不可欠である。放射性物質に限らず、物質を含む溶液の蒸発乾固装置およびそれを用いた蒸発乾固方法に関しては、これまでいろいろな検討がなされている。
【0004】
例えば、特許文献1には、ジルコニウムイオンが溶解しており、かつ水よりも沸点が低い、ジルコニウムが溶出した酸性有機溶媒を回収通過液として収容した回収バイアルをヒータによって加熱し、収容された回収通過液が加熱される旨記載されている。特許文献1には、回収バイアルの内部を減圧しながら、気体供給部から、例えば不活性ガス等の気体を回収バイアルの内部に供給してバブリングによる攪拌を行うことによって、蒸発乾固の所要時間を短縮する蒸発乾固工程が記載されている。
【先行技術文献】
【特許文献】
【0005】
特開2020-169358号公報(例えば、段落0039)
【発明の概要】
【発明が解決しようとする課題】
【0006】
物質を含む溶液の蒸発乾固を完了させるには、溶媒を最後まで蒸発させる必要がある。溶液をバブリングにより攪拌する蒸発乾固方法や、溶液をミスト化する蒸発乾固方法においては、液体を液滴化することにより液体の比表面積が大きくなり、与えた熱をより均一に伝えることができる。しかし、これらの方法は蒸発乾固を効率よく行うことができる一方で、溶液のバブリングや溶液のミスト化により、放射性物質が溶解した溶液が飛び散るという問題がある。
【0007】
また、高温減圧下での蒸発乾固方法においては、高温で蒸発乾固を効率よく行うことができるものの、過熱により放射性物質が溶解した溶液が飛び散る可能性がある。逆に、沸点以下の温度での蒸発乾固方法においては、蒸発に時間がかかるため、放射性物質を含むガスの排出量が増加するという問題がある。
【0008】
本発明は、前記状況に鑑みてなされたものである。本発明は、放射性物質が溶解した溶液の飛び散りが抑制され、放射性物質を含むガスの排出量が少ない蒸発乾固装置および蒸発乾固方法を提供することを課題とする。
【課題を解決するための手段】
【0009】
前記課題を解決した本発明に係る蒸発乾固装置は、放射性物質が溶解した溶液を保持し、蒸発乾固するための蒸発乾固容器と、前記蒸発乾固容器を加熱する加熱装置と、前記蒸発乾固容器に気体を供給する気体供給装置と、を備え、前記蒸発乾固容器は、外気と遮断された封止構造であるとともに、気体を供給できる少なくとも1つの気体供給孔と、気体を排出できる少なくとも1つの気体排出孔と、を備え、前記加熱装置は、前記蒸発乾固容器の下面または下方の位置を加熱する加熱手段と、前記蒸発乾固容器の規定位置の温度を検出する温度検出手段と、前記温度検出手段の検出値により前記加熱手段を制御する加熱制御手段と、を備え、前記気体供給装置は、前記気体供給孔に供給する気体量を制御する気体供給量制御手段を備え、前記気体供給孔および前記気体排出孔は、前記蒸発乾固容器の上面または上方の位置に配置され、前記温度検出手段が、前記蒸発乾固容器の下面または下方の位置の温度を検出する。
【発明の効果】
【0010】
本発明は、放射性物質が溶解した溶液の飛び散りが抑制され、放射性物質を含むガスの排出量が少ない蒸発乾固装置および蒸発乾固方法を提供できる。
【図面の簡単な説明】
(【0011】以降は省略されています)
この特許をJ-PlatPat(特許庁公式サイト)で参照する
関連特許
株式会社日立製作所
鉄道車両
1か月前
株式会社日立製作所
鉄道車両
17日前
株式会社日立製作所
半導体装置
1か月前
株式会社日立製作所
放射線モニタ
10日前
株式会社日立製作所
形状制御システム
1か月前
株式会社日立製作所
ガス分離システム
17日前
株式会社日立製作所
ガス濃度測定装置
1か月前
株式会社日立製作所
調停案提示システム
18日前
株式会社日立製作所
欠陥知識循環システム
1か月前
株式会社日立製作所
部品管理装置及び方法
24日前
株式会社日立製作所
計画装置および計画方法
1か月前
株式会社日立製作所
データ変換装置および方法
11日前
株式会社日立製作所
署名照合システム及び方法
4日前
株式会社日立製作所
ソフトウェア生成システム
27日前
株式会社日立製作所
管理システムおよび管理方法
1か月前
株式会社日立製作所
訓練システムおよび訓練方法
1か月前
株式会社日立製作所
情報処理装置、情報処理方法
26日前
株式会社日立製作所
状態検知装置及び状態検知方法
1か月前
株式会社日立製作所
費用対効果算出方法および装置
1か月前
株式会社日立製作所
情報処理装置及び情報処理方法
1か月前
株式会社日立製作所
人物特性推定システム及び方法
1か月前
株式会社日立製作所
情報処理装置及び情報処理方法
1か月前
株式会社日立製作所
回転電機および電動機システム
1か月前
株式会社日立製作所
治療効果予測システムおよび方法
18日前
株式会社日立製作所
電子機器および電子機器制御方法
1か月前
株式会社日立製作所
物体検出装置および物体検出方法
4日前
株式会社日立製作所
電力変換器およびインバータ装置
1か月前
株式会社日立製作所
情報処理システム、及び予測方法
1か月前
株式会社日立製作所
蒸発乾固装置および蒸発乾固方法
25日前
株式会社日立製作所
音声分析システム及び音声分析方法
1か月前
株式会社日立製作所
昇降機システム及び昇降機制御方法
1か月前
株式会社日立製作所
Webページ更新管理装置及び方法
1か月前
株式会社日立製作所
建物管理システム及び建物管理方法
1か月前
株式会社日立製作所
異常検知システム及び異常検知方法
1か月前
株式会社日立製作所
物流計画システム及び物流計画方法
1か月前
株式会社日立製作所
計算機システム及びデータ検索方法
1か月前
続きを見る
他の特許を見る