TOP
|
特許
|
意匠
|
商標
特許ウォッチ
Twitter
他の特許を見る
10個以上の画像は省略されています。
公開番号
2025174039
公報種別
公開特許公報(A)
公開日
2025-11-28
出願番号
2024080028
出願日
2024-05-16
発明の名称
検証システムおよび検証方法
出願人
株式会社日立製作所
代理人
弁理士法人サンネクスト国際特許事務所
主分類
G06F
21/64 20130101AFI20251120BHJP(計算;計数)
要約
【課題】ユーザのプライバシを保護しつつ、様々な形式の証明書情報の検証を行う検証システムを提供する。
【解決手段】ユーザの属性を示す属性情報と、ユーザの資格の検証に係る検証用情報とを含む証明書情報の検証を行う検証システムであって、証明書情報の形式を特定する特定部と、特定部による特定の結果をもとに、証明書情報から検証用情報を抽出する抽出部と、証明書情報の属性情報を含む所定の箇所を秘匿化して秘匿属性情報を生成する秘匿部と、抽出部により抽出された検証用情報と秘匿部により生成された秘匿属性情報とをもとに検証を行う検証部と、を設けるようにした。
【選択図】図12
特許請求の範囲
【請求項1】
ユーザの属性を示す属性情報と、前記ユーザの資格の検証に係る検証用情報とを含む証明書情報の検証を行う検証システムであって、
前記証明書情報の形式を特定する特定部と、
前記特定部による特定の結果をもとに、前記証明書情報から検証用情報を抽出する抽出部と、
前記証明書情報の属性情報を含む所定の箇所を秘匿化して秘匿属性情報を生成する秘匿部と、
前記抽出部により抽出された検証用情報と前記秘匿部により生成された秘匿属性情報とをもとに検証を行う検証部と、
を備える検証システム。
続きを表示(約 2,000 文字)
【請求項2】
前記特定部は、前記証明書情報において検証用情報が含まれている検証箇所を特定し、前記所定の箇所として、前記証明書情報の属性情報を含む秘匿箇所を特定し、
前記抽出部は、前記特定部により特定された検証箇所をもとに前記証明書情報から検証用情報を抽出し、
前記秘匿部は、前記特定部により特定された秘匿箇所を秘匿化して秘匿属性情報を生成する、
請求項1に記載の検証システム。
【請求項3】
前記証明書情報の形式を特定可能な形式特定情報と、前記証明書情報において検証用情報が含まれている検証箇所を示す検証箇所情報と、前記証明書情報の属性情報を含む秘匿箇所を示す秘匿箇所情報とが対応付けられた情報を記憶する記憶部を備え、
前記特定部は、前記記憶部に記憶されている形式特定情報をもとに前記証明書情報の形式を特定し、特定した形式の形式特定情報に対応付けられている検証箇所情報と秘匿箇所情報とを特定する、
請求項2に記載の検証システム。
【請求項4】
前記証明書情報には、ユーザの属性を示す属性情報と、前記ユーザの資格の検証に係る検証用情報と、が含まれ、
前記検証用情報には、
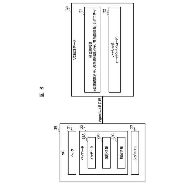
前記資格を発行した発行元の秘密鍵に対応する公開鍵を特定可能な公開鍵特定情報と、前記資格が失効しているか否かを特定可能な失効特定情報と、前記資格の有効性を特定可能な有効性特定情報とが含まれる検証情報と、
前記属性情報および前記検証情報が秘匿化された情報が前記発行元の秘密鍵で署名されたシグニチャと、が含まれ、
前記抽出部は、前記特定部による特定の結果をもとに、前記証明書情報から公開鍵特定情報と失効特定情報と有効性特定情報とシグニチャとを抽出する、
請求項1に記載の検証システム。
【請求項5】
前記秘匿部は、前記特定部による特定の結果をもとに、前記証明書情報の属性情報を含む所定の箇所を秘匿化して秘匿属性情報を生成する、
請求項1に記載の検証システム。
【請求項6】
前記秘匿部は、前記特定部による特定の結果をもとに、前記証明書情報の属性情報を含む所定の箇所をハッシュ化し、秘匿属性情報としてハッシュ値を生成する、
請求項5に記載の検証システム。
【請求項7】
前記証明書情報には、ユーザの属性を示す属性情報と、前記ユーザの資格の検証に係る検証用情報と、が含まれ、
前記検証用情報には、前記属性情報を含む箇所が秘匿化された秘匿属性情報について所定の処理が行われた秘匿属性処理情報が含まれ、
前記検証部は、前記秘匿部により生成された秘匿属性情報と、前記証明書情報に含まれる秘匿属性処理情報とをもとに署名検証を行う、
請求項1に記載の検証システム。
【請求項8】
前記証明書情報には、ユーザの属性を示す属性情報と、前記ユーザの資格の検証に係る検証用情報とが含まれ、
前記検証用情報には、前記資格が失効しているか否かを特定可能な失効特定情報が含まれ、
前記抽出部は、前記証明書情報の検証用情報に含まれる失効特定情報を抽出し、
前記検証部は、前記抽出部により抽出された失効特定情報をもとに失効検証を行う、
請求項1に記載の検証システム。
【請求項9】
前記証明書情報には、ユーザの属性を示す属性情報と、前記ユーザの資格の検証に係る検証用情報とが含まれ、
前記検証用情報には、前記資格の有効性を特定可能な有効性特定情報が含まれ、
前記抽出部は、前記証明書情報の検証用情報に含まれる有効性特定情報を抽出し、
前記検証部は、前記抽出部により抽出された有効性特定情報をもとに有効性検証を行う、
請求項1に記載の検証システム。
【請求項10】
ユーザの属性を示す属性情報と、前記ユーザの資格の検証に係る検証用情報とを含む証明書情報を発行する発行装置と、前記証明書情報を保持する保持装置と、前記証明書情報の検証を行う検証装置と、前記証明書情報と前記検証装置の検証結果とをもとに前記ユーザに係る処理を行う処理装置と、が通信可能に接続され、
前記処理装置は、前記特定部と、前記抽出部と、前記秘匿部と、前記抽出部により抽出された検証用情報と前記秘匿部により生成された秘匿属性情報とを前記検証装置に送信する第1の送信部と、を備え、
前記検証装置は、前記第1の送信部により送信された検証用情報と秘匿属性情報とを受信する第1の受信部と、前記検証部と、前記検証部による検証結果を前記処理装置に送信する第2の送信部と、を備え、
前記処理装置は、前記第2の送信部により送信された検証結果を受信する第2の受信部を備える、
請求項1に記載の検証システム。
(【請求項11】以降は省略されています)
発明の詳細な説明
【技術分野】
【0001】
本発明は、概して、ユーザのプライバシを保護しつつ証明書情報の検証を行う技術に関する。
続きを表示(約 1,900 文字)
【背景技術】
【0002】
アイデンティティ管理において、管理主体を介在せずに、個人が自分自身のアイデンティティをコントロールするというSSI(Self-Sovereign Identity)の考えが、近年注目されている。特に、個人のプライバシ保護が重要視されるユースケースにおいて、SSIに基づいたアイデンティティ管理の導入が期待されている。このSSIを実現するための要素技術として、DID(Decentralized Identifier)およびVC(Verifiable Credential)がある。
【0003】
プライバシ保護および可用性の観点から、検証可能な証明書の一例としてVCを活用した認可システムがある。例えば、一般的なVCを用いた認可システムは、Issuer、Holder、VerifierおよびVDR(Verifiable Data Registry)から構成される。VCには、Verifierに対して認可を要求するHolderを利用するユーザの属性情報が記載されており、VerifierがHolderから単一または複数のVCから構成されるVP(Verifiable Presentation)を受け取ると、VPに記載されている属性情報をもとに認可が行われる。このとき、Verifierは、認可判断を行う前に、提示されたVPとVPに含まれるVC群とが有効なものであるかの検証を行う必要がある。
【0004】
一般的な証明書を活用した認可において、検証にかかるVerifierの負担を軽減するための検証サーバが提案されている(特許文献1参照)。例えば、特許文献1では、検証サーバの基本機能が開示されている。
【0005】
また、Holderは、Verifierに対して、提示したい属性情報のみ渡し、それ以外は秘匿するための選択提示可能なVCの形式および提示方法が提案されている(非特許文献1参照)。例えば、非特許文献1では、SD-JWT(Selective Disclosure JWT)という任意の属性情報のみ選択提示するためのVCの形式が定義されている。
【先行技術文献】
【特許文献】
【0006】
特開2009-205230号公報
Daniel Fett、外2名、“Selective Disclosure for JWTs(SD-JWT)”、[online]、2024年3月4日、IETF Datatracker、[2024年4月23日検索]、インターネット〈URL:https://datatracker.ietf.org/doc/draft-ietf-oauth-selective-disclosure-jwt/>
【発明の概要】
【発明が解決しようとする課題】
【0007】
Issuerが発行するVCには様々なデータフォーマットがあり、検証サーバにおいて、ユーザのプライバシを保護しながら検証を行うことができない問題がある。特許文献1では、検証サーバは、様々なフォーマットに対応しておらず、また、ユーザのプライバシを保護することができない。また、非特許文献1では、検証時のユーザのプライバシを保護することはできるが、VCの形式(データフォーマット)が限定される。
【0008】
本発明は、以上の点を考慮してなされたもので、ユーザのプライバシを保護しつつ、様々な形式の証明書情報の検証を行う検証システム等を提案しようとするものである。
【課題を解決するための手段】
【0009】
かかる課題を解決するため本発明においては、ユーザの属性を示す属性情報と、前記ユーザの資格の検証に係る検証用情報とを含む証明書情報の検証を行う検証システムであって、前記証明書情報の形式を特定する特定部と、前記特定部による特定の結果をもとに、前記証明書情報から検証用情報を抽出する抽出部と、前記証明書情報の属性情報を含む所定の箇所を秘匿化して秘匿属性情報を生成する秘匿部と、前記抽出部により抽出された検証用情報と前記秘匿部により生成された秘匿属性情報とをもとに検証を行う検証部と、を設けるようにした。
【0010】
上記構成では、証明書情報の形式に応じて抽出された検証用情報と、ユーザの属性情報ではなく、当該属性情報が秘匿化された秘匿属性情報とが検証に用いられるので、例えば、ユーザのプライバシを保護しつつ、様々な形式の証明書情報の検証を行うことができる。
【発明の効果】
(【0011】以降は省略されています)
この特許をJ-PlatPat(特許庁公式サイト)で参照する
関連特許
株式会社日立製作所
回転電機
1日前
株式会社日立製作所
鉄道車両
1か月前
株式会社日立製作所
演算装置
1日前
株式会社日立製作所
放射線モニタ
1か月前
株式会社日立製作所
ガス分離システム
1か月前
株式会社日立製作所
電力変換システム
9日前
株式会社日立製作所
システム検証方法
24日前
株式会社日立製作所
調停案提示システム
1か月前
株式会社日立製作所
鉄道車両用空調装置
23日前
株式会社日立製作所
部品管理装置及び方法
1か月前
株式会社日立製作所
店舗管理装置および方法
24日前
株式会社日立製作所
乗降床及び乗客コンベア
22日前
株式会社日立製作所
生産ライン設計システム
17日前
株式会社日立製作所
施設管理装置および方法
9日前
株式会社日立製作所
飲食店提案装置および方法
24日前
株式会社日立製作所
乗りかご及びエレベーター
25日前
株式会社日立製作所
署名照合システム及び方法
1か月前
株式会社日立製作所
乗りかご及びエレベーター
24日前
株式会社日立製作所
検索システム及び検索方法
24日前
株式会社日立製作所
データ変換装置および方法
1か月前
株式会社日立製作所
膜分離設備設計支援システム
9日前
株式会社日立製作所
宇宙機、地上局及びアンテナ
9日前
株式会社日立製作所
検証システムおよび検証方法
1日前
株式会社日立製作所
生体認証装置、生体認証方法
23日前
株式会社日立製作所
ソースコードを生成する方法
17日前
株式会社日立製作所
モータ、及びロータ固定構造
1日前
株式会社日立製作所
ソフトエラー率評価システム
10日前
株式会社日立製作所
IT運用管理装置および方法
2日前
株式会社日立製作所
設計支援装置及び設計支援方法
1日前
株式会社日立製作所
立体構造宇宙機及びその制御方法
22日前
株式会社日立製作所
ガス分離システムの劣化診断装置
9日前
株式会社日立製作所
スカートモール及び乗客コンベア
9日前
株式会社日立製作所
購入関連行動分析装置および方法
23日前
株式会社日立製作所
水素製造制御システムおよび方法
3日前
株式会社日立製作所
広告支援装置および広告支援方法
2日前
株式会社日立製作所
物体検出装置および物体検出方法
1か月前
続きを見る
他の特許を見る