TOP
|
特許
|
意匠
|
商標
特許ウォッチ
Twitter
他の特許を見る
10個以上の画像は省略されています。
公開番号
2025147382
公報種別
公開特許公報(A)
公開日
2025-10-07
出願番号
2024047611
出願日
2024-03-25
発明の名称
ソフトウェア生成システム
出願人
株式会社日立製作所
代理人
弁理士法人信友国際特許事務所
主分類
G06F
8/36 20180101AFI20250930BHJP(計算;計数)
要約
【課題】アプリケーションプログラムのモダナイゼーション等の適切な修正や生成を、整合性を確保した上で自動的に行えるようにする。
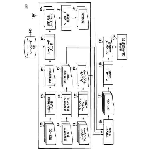
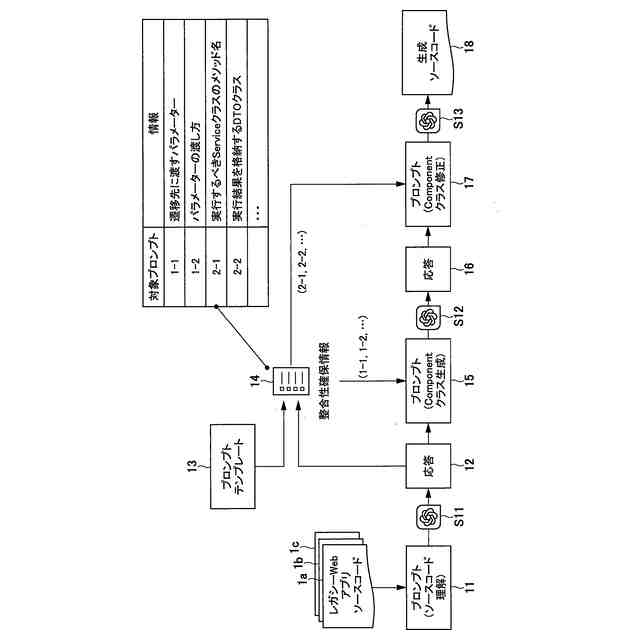
【解決手段】Webアプリケーションプログラムの複数画面間又はクラス間の整合性を確保する情報である、整合性確保情報を得る整合性確保情報入力部と、Webアプリケーションプログラムを生成又は修正する際の、生成又は修正についての指示であるプロンプトテンプレートを得るプロンプトテンプレート入力部と、整合性確保情報入力部に入力された整合性確保情報に基づいて、プロンプトテンプレートに整合性確保情報が埋め込まれたプロンプトを生成するプロンプト生成部と、プロンプト生成部が生成したプロンプトに基づいて、Webアプリケーションプログラムの生成箇所又は修正箇所のソースコードを生成するソースコード生成部と、を備える。
【選択図】図2
特許請求の範囲
【請求項1】
Webアプリケーションプログラムの複数画面間又はクラス間の整合性を確保する情報である、整合性確保情報を得る整合性確保情報入力部と、
前記Webアプリケーションプログラムを生成又は修正する際の、生成又は修正についての指示であるプロンプトテンプレートを得るプロンプトテンプレート入力部と、
前記整合性確保情報入力部に入力された整合性確保情報に基づいて、前記プロンプトテンプレートに前記整合性確保情報が埋め込まれたプロンプトを生成するプロンプト生成部と、
前記プロンプト生成部が生成したプロンプトに基づいて、前記Webアプリケーションプログラムの生成箇所又は修正箇所のソースコードを生成するソースコード生成部と、を備える
ソフトウェア生成システム。
続きを表示(約 610 文字)
【請求項2】
前記Webアプリケーションプログラムは、既に作成されたレガシーWebアプリケーションプログラムであり、
前記レガシーWebアプリケーションプログラムのソースコードを解析するソースコード解析部を備え、
前記プロンプト生成部は、前記整合性確保情報入力部に入力された整合性確保情報と、前記プロンプトテンプレート入力部に入力されたプロンプトテンプレートと、前記ソースコード解析部の解析結果とに基づいて、前記整合性確保情報が埋め込まれたプロンプトを生成する
請求項1に記載のソフトウェア生成システム。
【請求項3】
前記ソースコード生成部で生成された生成ソースコードについても、前記ソースコード解析部に入力させて解析させる
請求項2に記載のソフトウェア生成システム。
【請求項4】
前記整合性確保情報は、異なるソースコード間で共通的に使用されるデータ、又は異なるソースコード間で連携が必要なデータである
請求項1に記載のソフトウェア生成システム。
【請求項5】
前記ソースコード生成部が生成するソースコードは、前記Webアプリケーションプログラムのプレゼンテーション層を、マルチページアプリケーションを行うものから、シングルページアプリケーションを行うものに修正するものである
請求項1に記載のソフトウェア生成システム。
発明の詳細な説明
【技術分野】
【0001】
本発明は、ソフトウェア生成システムに関する。
続きを表示(約 1,900 文字)
【背景技術】
【0002】
Webアプリケーションプログラムは、一度作成されると、長期間に亘って使用されることが多く、Webアプリケーションプログラムを利用する環境などの変化に応じて、プログラムをアップデートする必要がある。例えば、従来のWebアプリケーションプログラムは、マルチページアプリケーション(MPA)で構成されていたが、近年は、シングルページアプリケーション(SPA)が主流であり、WebアプリケーションプログラムをSPA化する必要が生じている。
【0003】
MPAは、ユーザ端末からのWebサイトの特定ページの表示のリクエストがあると、そのページを表示させるHTMLデータを全て送信するのに対して、SPAは、直前に表示していたページとの差分のデータのみを送信するものである。WebアプリケーションプログラムをMPAからSPAにアップデートするのは一例であり、様々な要因で、Webアプリケーションプログラムのアップデートが必要になる。
【0004】
このようなWebアプリケーションプログラムのアップデートは、アプリケーションのモダナイゼーション等と称される。
モダナイゼーションを行うためには、該当するプログラムのコードなどを熟知した有識者が必要であるが、過去に開発されたレガシーシステムの開発に携わった有識者は既に退職している場合が多く、必要な人材の確保が困難であるという問題がある。
このため、プログラムの改変を自動的に行う技術の開発が望まれていた。
特許文献1には、過去の類似した仕様で開発されたソースコードを検索し、そのソースコードを遺伝的アルゴリズムなどで改変して、プログラムを生成する技術が記載されている。
【先行技術文献】
【特許文献】
【0005】
特許第737535号公報
【発明の概要】
【発明が解決しようとする課題】
【0006】
特許文献1に記載された技術によると、ソースコードの生成が可能になる。しかしながら、取得したいソースコードが複数ファイルで利用される場合に、複数ファイルでの相互の関連性をソースコードに反映して、整合性を確保する必要があるが、特許文献1に記載された技術では、そのような整合性を確保することは困難である。
【0007】
例えばWebアプリケーションプログラムを改変する際に、特許文献1に記載の技術を適用して、ある1つのWebページを、改変前と見た目が同じように改変することができたとする。しかしながら、Webページの表示形態が改変前と同じであっても、そのWebページの特定箇所のクリックや入力で、別のWebページに遷移するための改変が行えない可能性がある。
【0008】
本発明は、かかる点に鑑み、アプリケーションプログラムのモダナイゼーション等の適切な修正や生成を、整合性を確保した上で自動的に行うことができるソフトウェア生成システムを提供することを目的とする。
【課題を解決するための手段】
【0009】
上記課題を解決するために、例えば請求の範囲に記載の構成を採用する。
本願は、上記課題を解決する手段を複数含んでいるが、その一例を挙げるならば、ソフトウェア生成システムとして、Webアプリケーションプログラムの複数画面間又はクラス間の整合性を確保する情報である、整合性確保情報を得る整合性確保情報入力部と、Webアプリケーションプログラムを生成又は修正する際の、生成又は修正についての指示であるプロンプトテンプレートを得るプロンプトテンプレート入力部と、整合性確保情報入力部に入力された整合性確保情報と、整合性確保情報入力部に入力された整合性確保情報に基づいて、プロンプトテンプレートに整合性確保情報が埋め込まれたプロンプトを生成するプロンプト生成部と、プロンプト生成部が生成したプロンプトに基づいて、Webアプリケーションプログラムの生成箇所又は修正箇所のソースコードを生成するソースコード生成部と、を備える。
【発明の効果】
【0010】
本発明によれば、複数ファイルでの相互の整合性を確保した上でWebアプリケーションプログラムの生成又は修正が可能になり、適切なWebアプリケーションプログラムの生成や修正を行うことができる。
上記した以外の課題、構成及び効果は、以下の実施形態の説明により明らかにされる。
【図面の簡単な説明】
(【0011】以降は省略されています)
この特許をJ-PlatPat(特許庁公式サイト)で参照する
関連特許
株式会社日立製作所
鉄道車両
15日前
株式会社日立製作所
放射線モニタ
8日前
株式会社日立製作所
ガス分離システム
15日前
株式会社日立製作所
調停案提示システム
16日前
株式会社日立製作所
部品管理装置及び方法
22日前
株式会社日立製作所
データ変換装置および方法
9日前
株式会社日立製作所
署名照合システム及び方法
2日前
株式会社日立製作所
情報処理装置、情報処理方法
24日前
株式会社日立製作所
物体検出装置および物体検出方法
2日前
株式会社日立製作所
治療効果予測システムおよび方法
16日前
株式会社日立製作所
蒸発乾固装置および蒸発乾固方法
23日前
株式会社日立製作所
計算機システム及びデータ送信方法
3日前
株式会社日立製作所
情報処理システム、及び情報処理方法
22日前
株式会社日立製作所
情報処理システム、及び情報処理方法
24日前
株式会社日立製作所
計算機システム及び障害対処支援方法
16日前
株式会社日立製作所
説明情報生成装置及び説明情報生成方法
23日前
株式会社日立製作所
圧延設定支援装置及び圧延設定支援方法
15日前
株式会社日立製作所
故障要因分析装置及び故障要因分析方法
23日前
株式会社日立製作所
半導体装置および半導体装置の駆動方法
25日前
株式会社日立製作所
計算機システム及び予測モデルの学習方法
3日前
株式会社日立製作所
燃料電池ブロックおよび燃料電池システム
16日前
株式会社日立製作所
支援装置、支援方法、及び支援プログラム
3日前
株式会社日立製作所
対話型時系列分析システムおよびその方法
4日前
株式会社日立製作所
臨床試験計画装置および臨床試験計画方法
24日前
株式会社日立製作所
商品演出支援システム、及び商品演出支援方法
9日前
株式会社日立製作所
設計支援装置、設計支援方法およびプログラム
2日前
株式会社日立製作所
発電計画策定システム並びに発電計画策定方法
3日前
株式会社日立製作所
不具合文書処理装置、及び不具合文書処理方法
10日前
株式会社日立製作所
制御装置,移動体,制御システム及び制御方法
18日前
株式会社日立製作所
搬送装置を制御する制御システム及び制御方法
15日前
株式会社日立製作所
生産ラインを編成する装置、システムおよび方法
17日前
株式会社日立製作所
充放電計画最適化装置及び充放電計画最適化方法
3日前
株式会社日立製作所
事象分析装置、事象分析方法および分析システム
9日前
株式会社日立製作所
エンティティ抽出システム、エンティティ選択方法
17日前
株式会社日立製作所
情報処理システム、情報処理方法およびプログラム
9日前
株式会社日立製作所
異常事象対処支援装置および異常事象対処支援方法
17日前
続きを見る
他の特許を見る