TOP
|
特許
|
意匠
|
商標
特許ウォッチ
Twitter
他の特許を見る
公開番号
2025171402
公報種別
公開特許公報(A)
公開日
2025-11-20
出願番号
2024076719
出願日
2024-05-09
発明の名称
ガス分離システムおよびガス分離プラント
出願人
株式会社日立製作所
代理人
弁理士法人磯野国際特許商標事務所
主分類
B01D
53/22 20060101AFI20251113BHJP(物理的または化学的方法または装置一般)
要約
【課題】複数の分離膜モジュールを備える構成において、ガスグリッドの特定ガス濃度がユーザの指定する濃度を挟んで変動する場合にも容易な操作でユーザの指定する濃度範囲に制御が可能となるガス分離システムおよびガス分離プラントを提供する。
【解決手段】複数の分離膜モジュールから排出された非透過ガスと透過ガスを再混合し特定ガス濃度を指定した範囲内に制御するガス分離システム1であって、供給ガス調整弁10の開度と供給側特定ガス濃度計52と第1圧力計55と第2圧力計56の信号を受け取って、第1流量調整弁11と第2流量調整弁12と第1圧力調整弁13と第2圧力調整弁14の開度を調整する信号を発生する制御装置を備える。
【選択図】図1
特許請求の範囲
【請求項1】
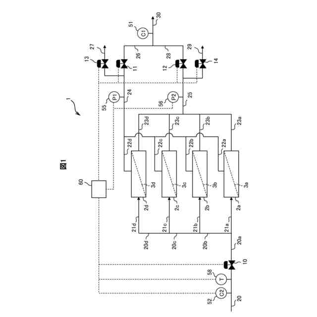
複数の分離膜モジュールから排出された非透過ガスと透過ガスを再混合し特定ガス濃度を指定した範囲内に制御するガス分離システムであって、
前記ガス分離システムにガスを供給する供給ガス配管と、
前記供給ガス配管から分岐して、前記複数の分離膜モジュールのそれぞれにガスを供給する供給ガス分岐配管と、
前記複数の分離膜モジュールから排出された前記非透過ガスが流れる非透過ガス配管を合流させた非透過ガス合流配管と、
前記複数の分離膜モジュールから排出された前記透過ガスが流れる透過ガス配管を合流させた透過ガス合流配管と、
前記非透過ガス合流配管から前記非透過ガスが流れるとともに、第1流量調整弁を有する非透過ガス供給配管と、
前記透過ガス合流配管から前記透過ガスが流れるとともに、第2流量調整弁を有する透過ガス供給配管と、
前記第1流量調整弁および前記第2流量調整弁の下流側において、前記非透過ガス供給配管および前記透過ガス供給配管から接続される製品ガス配管と、
前記第1流量調整弁の上流側において、前記非透過ガス合流配管から分岐し、第1圧力調整弁を有する非透過ガス戻し配管と、
前記第2流量調整弁の上流側において、前記透過ガス合流配管から分岐し、第2圧力調整弁を有する透過ガス戻し配管と、
前記供給ガス配管において、供給ガスの流量または圧力を調整する供給ガス調整弁と、
前記供給ガス配管において、特定ガスの濃度を測定する供給側特定ガス濃度計と、
前記非透過ガス合流配管において、非透過側の圧力を測定する第1圧力計と、
前記透過ガス合流配管において、透過側の圧力を測定する第2圧力計と、を備え、
前記供給ガス調整弁の開度と前記供給側特定ガス濃度計と前記第1圧力計と前記第2圧力計の信号を受け取って、前記第1流量調整弁と前記第2流量調整弁と前記第1圧力調整弁と前記第2圧力調整弁の開度を調整する信号を発生する制御装置を備える
ことを特徴とするガス分離システム。
続きを表示(約 1,200 文字)
【請求項2】
請求項1に記載のガス分離システムにおいて、
前記制御装置は、前記供給ガス調整弁の開度と、前記供給側特定ガス濃度計と前記第1圧力計の測定値と、前記第2圧力計の測定値と、前記供給側特定ガス濃度計から前記複数の分離膜モジュールまでの配管の長さと、の情報に基づいて、前記第1流量調整弁と前記第2流量調整弁と前記第1圧力調整弁と前記第2圧力調整弁の開度を算出するデータベースを備える
ことを特徴とするガス分離システム。
【請求項3】
請求項1に記載のガス分離システムにおいて、
前記供給ガス分岐配管に流量制限機構を備え、前記供給ガス配管に第3圧力計を備える
ことを特徴とするガス分離システム。
【請求項4】
請求項3に記載のガス分離システムにおいて、
前記制御装置は、さらに前記第3圧力計の情報を追加し、前記第1流量調整弁と前記第2流量調整弁と前記第1圧力調整弁と前記第2圧力調整弁の開度を算出するデータベースを備えている
ことを特徴とするガス分離システム。
【請求項5】
複数のガス分離システムを備えるガス分離プラントであって、
前記ガス分離プラントにガスを供給するプラント供給ガス配管と、
前記プラント供給ガス配管から分岐して、前記複数のガス分離システムのそれぞれにガスを供給するプラント供給ガス分岐配管と、
前記複数のガス分離システムから排出された戻し非透過ガスが流れるプラント非透過ガス配管を合流させたプラント非透過ガス合流配管と、
前記複数のガス分離システムから排出された戻し透過ガスが流れるプラント透過ガス配管を合流させたプラント透過ガス合流配管と、
製品ガスが流れる製品ガス配管を合流させたプラント製品ガス合流配管と、を備え、
前記複数のガス分離システムが、請求項1から請求項4のいずれか1項に記載のガス分離システムである
ことを特徴とするガス分離プラント。
【請求項6】
請求項5に記載のガス分離プラントにおいて、
前記ガス分離システムの前記供給側特定ガス濃度計の代わりに、前記プラント供給ガス配管に前記特定ガスの濃度を測定するプラント特定ガス濃度計を備え、
前記プラント特定ガス濃度計の信号を前記ガス分離システムの前記制御装置に送る信号送信装置を備え、
前記ガス分離システムの前記制御装置は、さらに前記信号送信装置からの特定ガス濃度と、前記プラント特定ガス濃度計から前記複数の分離膜モジュールまでの配管の長さと、の情報を追加し、前記第1流量調整弁と前記第2流量調整弁と前記第1圧力調整弁と前記第2圧力調整弁の開度を算出するデータベースを備えている
ことを特徴とするガス分離プラント。
発明の詳細な説明
【技術分野】
【0001】
本発明は、ガス分離システムおよびガス分離プラントに関する。
続きを表示(約 2,700 文字)
【背景技術】
【0002】
複数の成分を含む混合ガスから特定のガスを分離する方法として、ガスを選択的に透過する分離膜を利用する方法がある。例えば、セラミック膜に代表される分子径の差により分離する分子ふるい膜や膜へのガスの溶解性の差を利用した高分子膜等がある。これらの分離膜では、透過させたい特定ガス以外も一定量透過する。分離膜を透過させる前を非透過側、透過させた後を透過側と呼ぶ。分離膜のガス透過量は、非透過側のガス分圧と透過側のガス分圧の差に膜面積を乗じたものに比例する。高分子素材は比較的加工が容易であり、中空糸状やシート状にしたものを容器に封入したモジュールが実用化されている。分離膜を用いて特定ガスを必要な濃度に制御する方法が特許文献1に記載されている。
【先行技術文献】
【特許文献】
【0003】
特許第5111829号公報
【発明の概要】
【発明が解決しようとする課題】
【0004】
特許文献1では、透過ガスにバイパスした原料ガスを混ぜて透過ガスの純度を一定に維持しつつ回収率を高めている。透過ガスの純度が変化する要因として、分離膜モジュールに供給される原料ガス流量が挙げられている。例えば、原料ガス流量が減少すると、分離膜モジュール出口付近で難透過性ガスの分圧が上昇して難透過性ガスの透過量が増え、透過ガスの純度が低下する。この場合、バイパスする純度の低い原料ガスの流量を低下させて透過ガスの純度を一定以上に維持する。
【0005】
既存ガスグリッドに特定ガスとして水素を混合させて輸送する場合、ユーザにより必要とする水素濃度は様々であり、利用状況によりガスグリッド内の水素濃度が変動する。例えば、水素濃度20%を必要とするユーザには、ガスグリッドの水素濃度が20%よりも小さければ特許文献1の構成で水素濃度20%に制御できるが、ガスグリッドの水素濃度が20%を超えると、分離膜を透過するガスの水素濃度は20%以上となり、バイパスガスの水素濃度も20%を超えているので、特許文献1の構成で透過ガス配管の水素濃度を20%に制御することはできない。
【0006】
特許文献1の構成において非透過ガス配管の水素濃度を20%に制御して製品ガスとして取り出すことは可能であるが、非透過ガス配管を製品ガス配管に接続して、非透過ガス配管及び透過ガス配管に弁を取り付ける必要がある。ガスグリッドの水素濃度が20%を挟んで変動した場合、20%以下では透過ガス配管のガスを取出し、20%を超えると非透過ガス配管のガスを取り出すことになり、各配管の弁を不連続に切り替える必要がある。配管の切り替え時にユーザに供給するガスの水素濃度が大きく変動する可能性がある。このため、ガスグリッドの特定ガス濃度がユーザの指定する濃度を挟んで変動する場合にも容易に操作できることが望まれていた。
【0007】
また、必要な製品ガスの流量に応じて、ガス分離システムは複数の分離膜モジュールで構成される。供給ガス配管から分岐されて各分離膜モジュールに混合ガスが供給されるが、分離膜モジュールの配置によって分岐部から各分離膜モジュール入口まで距離が異なる。供給ガス配管に設置したガス濃度計の値により製品ガスの特定ガス濃度を制御する場合、ガス濃度計で特定ガス濃度の変化を検知してから、分離膜モジュール入口まで濃度変化したガスが到達するまでの時間が分離膜モジュールごとに異なる。この時間差を考慮して制御しないと製品ガスの特定ガス濃度がユーザが指定する濃度範囲で制御できなくなる可能性がある。
【0008】
本発明の目的は、複数の分離膜モジュールを備える構成において、ガスグリッドの特定ガス濃度がユーザの指定する濃度を挟んで変動する場合にも容易な操作でユーザの指定する濃度範囲に制御が可能となるガス分離システムおよびガス分離プラントを提供することである。
【課題を解決するための手段】
【0009】
前記した課題を解決するために、本発明に係るガス分離システムは、複数の分離膜モジュールから排出された非透過ガスと透過ガスを再混合し特定ガス濃度を指定した範囲内に制御するガス分離システムであって、前記ガス分離システムにガスを供給する供給ガス配管と、前記供給ガス配管から分岐して、前記複数の分離膜モジュールのそれぞれにガスを供給する供給ガス分岐配管と、前記複数の分離膜モジュールから排出された前記非透過ガスが流れる非透過ガス配管を合流させた非透過ガス合流配管と、前記複数の分離膜モジュールから排出された前記透過ガスが流れる透過ガス配管を合流させた透過ガス合流配管と、前記非透過ガス合流配管から前記非透過ガスが流れるとともに、第1流量調整弁を有する非透過ガス供給配管と、前記透過ガス合流配管から前記透過ガスが流れるとともに、第2流量調整弁を有する透過ガス供給配管と、前記第1流量調整弁および前記第2流量調整弁の下流側において、前記非透過ガス供給配管および前記透過ガス供給配管から接続される製品ガス配管と、前記第1流量調整弁の上流側において、前記非透過ガス合流配管から分岐し、第1圧力調整弁を有する非透過ガス戻し配管と、前記第2流量調整弁の上流側において、前記透過ガス合流配管から分岐し、第2圧力調整弁を有する透過ガス戻し配管と、前記供給ガス配管において、供給ガスの流量または圧力を調整する供給ガス調整弁と、前記供給ガス配管において、特定ガスの濃度を測定する供給側特定ガス濃度計と、前記非透過ガス合流配管において、非透過側の圧力を測定する第1圧力計と、前記透過ガス合流配管において、透過側の圧力を測定する第2圧力計と、を備え、前記供給ガス調整弁の開度と前記供給側特定ガス濃度計と前記第1圧力計と前記第2圧力計の信号を受け取って、前記第1流量調整弁と前記第2流量調整弁と前記第1圧力調整弁と前記第2圧力調整弁の開度を調整する信号を発生する制御装置を備えることとした。
本発明のその他の態様については、後記する実施形態において説明する。
【発明の効果】
【0010】
本発明によれば、複数の分離膜モジュールを備えるガス分離装置およびガス分離プラントにおいて、ガスグリッドの特定ガス濃度がユーザの指定する濃度を挟んで変動する場合にも容易な操作でユーザの指定する濃度範囲に制御が可能となる。
【図面の簡単な説明】
(【0011】以降は省略されています)
この特許をJ-PlatPat(特許庁公式サイト)で参照する
関連特許
株式会社日立製作所
鉄道車両
1か月前
株式会社日立製作所
放射線モニタ
28日前
株式会社日立製作所
ガス分離システム
1か月前
株式会社日立製作所
システム検証方法
16日前
株式会社日立製作所
電力変換システム
1日前
株式会社日立製作所
調停案提示システム
1か月前
株式会社日立製作所
鉄道車両用空調装置
15日前
株式会社日立製作所
店舗管理装置および方法
16日前
株式会社日立製作所
乗降床及び乗客コンベア
14日前
株式会社日立製作所
生産ライン設計システム
9日前
株式会社日立製作所
施設管理装置および方法
1日前
株式会社日立製作所
乗りかご及びエレベーター
16日前
株式会社日立製作所
データ変換装置および方法
29日前
株式会社日立製作所
署名照合システム及び方法
22日前
株式会社日立製作所
乗りかご及びエレベーター
17日前
株式会社日立製作所
飲食店提案装置および方法
16日前
株式会社日立製作所
検索システム及び検索方法
16日前
株式会社日立製作所
ソフトエラー率評価システム
2日前
株式会社日立製作所
ソースコードを生成する方法
9日前
株式会社日立製作所
膜分離設備設計支援システム
1日前
株式会社日立製作所
宇宙機、地上局及びアンテナ
1日前
株式会社日立製作所
生体認証装置、生体認証方法
15日前
株式会社日立製作所
立体構造宇宙機及びその制御方法
14日前
株式会社日立製作所
治療効果予測システムおよび方法
1か月前
株式会社日立製作所
購入関連行動分析装置および方法
15日前
株式会社日立製作所
物体検出装置および物体検出方法
22日前
株式会社日立製作所
スカートモール及び乗客コンベア
1日前
株式会社日立製作所
ガス分離システムの劣化診断装置
1日前
株式会社日立製作所
計算機システム及びデータ送信方法
23日前
株式会社日立製作所
単体テスト装置及び単体テスト方法
17日前
株式会社日立製作所
テスト支援装置及びテスト支援方法
1日前
株式会社日立製作所
情報処理方法及び情報処理システム
17日前
株式会社日立製作所
欠陥検査システム、及び欠陥検査方法
1日前
株式会社日立製作所
計算機システム及び障害対処支援方法
1か月前
株式会社日立製作所
データ処理装置およびデータ処理方法
14日前
株式会社日立製作所
計算機システムおよびアクセス検証方法
14日前
続きを見る
他の特許を見る