TOP
|
特許
|
意匠
|
商標
特許ウォッチ
Twitter
他の特許を見る
公開番号
2025171062
公報種別
公開特許公報(A)
公開日
2025-11-20
出願番号
2024076041
出願日
2024-05-08
発明の名称
移動式昇降台装置
出願人
日本リフト株式会社
代理人
個人
,
個人
主分類
B66F
7/06 20060101AFI20251113BHJP(巻上装置;揚重装置;牽引装置)
要約
【課題】昇降台の下降限位置を充分低くして、台車やローラー付パレット等を載せるのを容易にする。
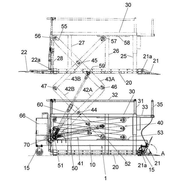
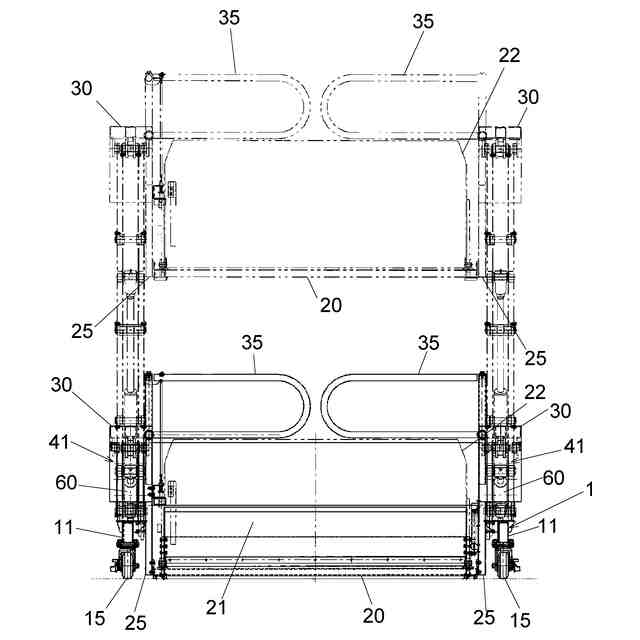
【解決手段】移動式昇降台装置は、ベースフレーム1が有する一対のサイドフレーム部10と、一対のサイドフレーム部10を移動自在に支持するキャスタ15と、一対のサイドフレーム部10間に配置される昇降台20と、昇降台20の両縁部から上方に延びる立設部材を介して昇降台20に固定され、昇降台の両縁部上方に位置する一対の昇降フレーム30と、サイドフレーム部10と昇降フレーム30とを連結するリンク機構41と、リンク機構41を伸縮させ、昇降台20を水平姿勢を保って昇降駆動するシリンダ60と、を備える。
【選択図】図1
特許請求の範囲
【請求項1】
一対のサイドフレーム部を有するベースフレームと、
前記ベースフレームを移動自在に支持する車輪と、
前記一対のサイドフレーム部の間に配置される昇降台と、
前記昇降台に固定されて、前記昇降台の両縁上方に位置する一対の昇降フレームと、
前記一対のサイドフレーム部と前記一対の昇降フレームとをそれぞれ連結するリンク機構と、
前記リンク機構を伸縮させ、前記昇降台を水平姿勢を保って昇降駆動するシリンダと、を備える移動式昇降台装置。
続きを表示(約 440 文字)
【請求項2】
前記昇降台の前縁にはキャスタストッパが起伏自在に連結され、前記昇降台の後縁には渡し板が起伏自在に連結されている、請求項1に記載の移動式昇降台装置。
【請求項3】
前記リンク機構は、少なくとも一対の交差リンクを有し、前記交差リンクの一方のリンクの下側部分は前記サイドフレームに枢着され、他方のリンクの下端部は前記サイドフレームに沿って移動自在である請求項1又は2に記載の移動式昇降台装置。
【請求項4】
一対の前記リンク機構がそれぞれ有する前記交差リンクのうちの前記一方のリンクの下側部分は前記サイドフレームに枢着され、前記一方のリンクの枢着点から離れた下端部同士が、連結部材を介して連結されて、一対の前記リンク機構が連動する、請求項3に記載の移動式昇降台装置。
【請求項5】
前記昇降台の後縁に渡し板が起伏自在に連結され、前記連結部材は展開状態の前記渡し板の下方に位置する、請求項4に記載の移動式昇降台装置。
発明の詳細な説明
【技術分野】
【0001】
本発明は、荷役等に使用する移動式昇降台装置に関する。
続きを表示(約 1,000 文字)
【背景技術】
【0002】
従来の昇降台装置は、昇降台を昇降させるリンク機構が昇降台の真下に配置されているため、リンク機構が縮んだ状態であっても昇降台の位置が高く、台車やローラー付パレットを昇降台上に載せるのが困難であった。従来の昇降台装置の公知例としては下記特許文献1がある。
【先行技術文献】
【特許文献】
【0003】
特開2021-17354号公報
【発明の概要】
【発明が解決しようとする課題】
【0004】
昇降台をリンク機構で昇降させる昇降装置の場合、昇降台の下降限位置での高さを充分低くできないため、台車やローラー付パレットを昇降台上に載せるのが困難であった。
【0005】
本発明の目的は、昇降台をリンク機構で昇降させる昇降装置において、昇降台の下降限位置を充分低くして、台車やローラー付パレット等を載せるのを容易とする移動式昇降台装置を提供することにある。本発明の他の目的は、本明細書の記載から明らかになるであろう。
【課題を解決するための手段】
【0006】
本発明のある態様は移動式昇降台装置である。この移動式昇降台装置は、
一対のサイドフレーム部を有するベースフレームと、
前記ベースフレームを移動自在に支持する車輪と、
前記一対のサイドフレーム部の間に配置される昇降台と、
前記昇降台に固定されて、前記昇降台の両縁上方に位置する一対の昇降フレームと、
前記一対のサイドフレーム部と前記一対の昇降フレームとをそれぞれ連結するリンク機構と、
前記リンク機構を伸縮させ、前記昇降台を水平姿勢を保って昇降駆動するシリンダと、
を備える。
【0007】
前記昇降台の両側に設けられた一対の前記リンク機構の下段リンクの下端部同士が、連結部材を介して連結されて、一対の前記リンク機構が連動するとよい。
【0008】
前記昇降台の前縁にはキャスタストッパが起伏自在に連結され、前記昇降台の後縁には渡し板が起伏自在に連結されているとよい。
【0009】
前記連結部材は展開状態の前記渡し板の下方に位置するとよい。
【0010】
なお、以上の構成要素の任意の組合せ、本発明の表現を方法やシステムなどの間で変換したものもまた、本発明の態様として有効である。
【発明の効果】
(【0011】以降は省略されています)
この特許をJ-PlatPat(特許庁公式サイト)で参照する
関連特許
日本リフト株式会社
移動式昇降台装置
8日前
個人
自走手摺
4か月前
個人
転落防止階段
29日前
個人
小型クレーン
23日前
ユニパルス株式会社
吊具
5か月前
個人
海上コンテナ昇降装置
11か月前
ユニパルス株式会社
荷役装置
10か月前
株式会社いうら
車椅子用昇降機
4か月前
ユニパルス株式会社
リフト装置
6か月前
株式会社豊田自動織機
産業車両
2か月前
株式会社豊田自動織機
荷役車両
11か月前
株式会社豊田自動織機
荷役車両
10か月前
水戸工業株式会社
吊り具
7か月前
愛知製鋼株式会社
受け架台
3か月前
ユニパルス株式会社
荷役助力装置
7か月前
個人
エアバック式レスキュー用品
1か月前
ユニパルス株式会社
荷役助力装置
4か月前
白山工業株式会社
バランサ
8か月前
個人
垂直自動搬送機
2か月前
大栄産業株式会社
クランプ
6か月前
株式会社大林組
安全支援システム
3か月前
株式会社伊藤
滑り止め装置
3か月前
ユニパルス株式会社
荷役助力装置
5か月前
岐阜工業株式会社
運搬台車
1か月前
個人
アウトリガー用転倒防止ベース
22日前
株式会社キトー
タイヤ用吊具
7か月前
株式会社ユピテル
システム等
7か月前
株式会社キトー
コンテナ吊り具
2日前
新英運輸株式会社
自動車用台車
7か月前
株式会社豊田自動織機
フォークリフト
2か月前
株式会社五十鈴製作所
搬送装置
5か月前
フジテック株式会社
エレベータ
10か月前
中国計量大学
電子安全クランプ
2か月前
株式会社豊田自動織機
フォークリフト
9か月前
大和ハウス工業株式会社
吊上具
3か月前
山崎産業株式会社
手摺り拭用器具
2か月前
続きを見る
他の特許を見る