TOP
|
特許
|
意匠
|
商標
特許ウォッチ
Twitter
他の特許を見る
公開番号
2025170469
公報種別
公開特許公報(A)
公開日
2025-11-19
出願番号
2024075048
出願日
2024-05-07
発明の名称
3段ブーム伸縮機構
出願人
株式会社タダノ
代理人
個人
主分類
B66C
23/693 20060101AFI20251112BHJP(巻上装置;揚重装置;牽引装置)
要約
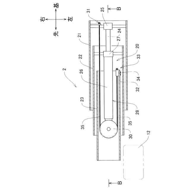
【課題】合理的な配置構成に基づく3段ブーム伸縮機構を提供することにより、基段ブームの断面寸法に対する中段ブーム及び先段ブームの断面寸法の最大化を達成する。
【解決手段】基段ブーム21の基端部にピストンロッド24の基端部が枢着され、中段ブーム22の基端部にシリンダチューブ26のロッド側端部が枢着され、縮小時の先段ブーム23内に内装される伸縮シリンダ28と、前記伸縮シリンダ28のシリンダチューブ26のボトム側端部に配置され、水平面内で回転自在な伸長用シーブ30と、一端が前記基段ブーム21の基端部に連結され、他端が前記先段ブーム23の基端部の側板32内面に連結され、前記伸長用シーブ30に掛け回される伸長用ワイヤ35と、前記先段ブーム23の基端部の側板32内面に着脱自在な、前記伸長用ワイヤ35のワイヤエンドサポート45と、を備える。
【選択図】 図2
特許請求の範囲
【請求項1】
基段ブームの基端部にピストンロッドの基端部が枢着され、中段ブームの基端部にシリンダチューブのロッド側端部が枢着され、縮小時の先段ブーム内に内装される伸縮シリンダと、
前記伸縮シリンダのシリンダチューブのボトム側端部に配置され、水平面内で回転自在な伸長用シーブと、
一端が前記基段ブームの基端部に連結され、他端が前記先段ブームの基端部の側板内面に連結され、前記伸長用シーブに掛け回される伸長用ワイヤと、
前記先段ブームの基端部の側板内面に着脱自在な、前記伸長用ワイヤのワイヤエンドサポートと、
を備えた3段ブーム伸縮機構。
続きを表示(約 570 文字)
【請求項2】
前記中段ブームの基端部に配置され、回転面がブーム軸線に対し平行かつ略垂直な回転自在な縮小用シーブと、
一端が前記基段ブームの先端部に連結され、他端が前記先段ブームの基端部の側板内面に連結され、前記縮小用シーブに掛け回される縮小用ワイヤと、
前記先段ブームの基端部の側板内面に着脱自在な、前記縮小用ワイヤのワイヤエンドサポートと、
をさらに備えた、請求項1に記載の3段ブーム伸縮機構。
【請求項3】
前記ワイヤエンドサポートは、
ネジ端子加工されたワイヤエンドが挿通されるワイヤ挿通穴と、
前記ワイヤ挿通穴に平行な装着面と、
当該装着面から突出し、前記ワイヤ挿通穴と直交するワイヤ張力伝達面と、
前記装着面に穿孔される取付けボルト穴又はタップ穴と、
を備え、
前記先段ブームの基端部の側板は、
前記ワイヤエンドサポートの前記装着面が当接されるブーム側装着面と、
当該ブーム側装着面に連続しかつ直交すると共に、前記ワイヤエンドサポートの前記ワイヤ張力伝達面が当接されるブーム側ワイヤ張力伝達面と、
前記ブーム側装着面に穿孔されるブーム側取付けボルト穴と、
を備えた、請求項1又は2に記載の3段ブーム伸縮機構。
発明の詳細な説明
【技術分野】
【0001】
本発明は、伸縮シリンダとワイヤ・シーブ同時伸縮機構とにより構成される3段ブーム伸縮機構の技術に関する。
続きを表示(約 1,600 文字)
【背景技術】
【0002】
伸縮シリンダとワイヤ・シーブ同時伸縮機構とにより構成される3段ブーム伸縮機構に関し、それらを構成する伸縮シリンダ、ワイヤ、シーブ等の3段ブーム内における配置構成について、これまで多くのバリエーションが考え出されてきている。伸縮シリンダ、ワイヤ、シーブ等の配置構成は、各段ブームの断面寸法やその他の部品のレイアウトに大きく影響する。そのため、3段ブーム内におけるより合理的な伸縮シリンダ、ワイヤ、シーブ等の配置構成が望まれる。
【0003】
ところで、伸縮ブームに対する長尺化・軽量化の要請から伸縮ブームを構成する鋼板のいっそうの高張力化が進んでいる。より高張力の鋼板を用いると鋼板を薄くできるので、伸縮ブームをより長尺化・軽量化することができる。
【0004】
一方、板厚が薄くなると伸縮ブームを構成する各段ブームの断面二次モーメントが減少することで、各段ブームの曲げ剛性が低下し伸縮ブーム全体のタワミが大きくなってしまう。そのため、各段ブームの断面二次モーメントの低下を極力抑えることが必要となる。それには、各段ブームの断面の高さ寸法、あるいは幅寸法を出来るだけ大きくする必要がある。
【0005】
通常、3段ブームにおける基段ブーム断面の高さと幅の寸法は、当該3段ブームが搭載される作業車の全体レイアウト等の他の要因から、その取り得る最大寸法が決まってくる場合が多い。そのため、基段ブームに嵌装される中段ブームの断面寸法、および中段ブームに嵌装される先段ブームの断面寸法をできるだけ大きく取ることにより、3段ブーム全体としての断面二次モーメントの低下を極力抑える必要がある。中段ブーム及び先段ブームの断面寸法を大きくするためには、各段ブームの断面間の隙間は極力抑えることが望ましい。
【0006】
ブーム断面寸法に有利な3段ブーム伸縮機構として特許文献1に記載された伸縮シリンダ、ワイヤ、シーブ等についての配置構成が知られている。特許文献1の3段ブーム伸縮機構は、伸縮シリンダが縮小時の先段ブーム内に内装されており、基段ブームの基端部にピストンロッドの基端部が枢着され、中段ブームの基端部にシリンダチューブのロッド側端部が枢着されている。垂直面内で回転自在な伸長用シーブが伸縮シリンダのシリンダチューブのボトム側端部に配置されている。そして、伸長用シーブに掛け回される伸長用ワイヤの一端が基段ブームの基端部に連結され、他端が先段ブームの基端部に連結されている。
【0007】
特許文献1に記載された3段ブーム伸縮機構によれば、伸縮シリンダと伸長用シーブ及び伸長用ワイヤを全て先段ブーム内に配置できるので、中段ブームに対する先段ブームの断面寸法を最大化できる。
【0008】
ところが、伸長用ワイヤは伸縮ブームの軸方向の荷重を支持しなければならないため、縮小用ワイヤよりもワイヤ径が大きい。また、シーブ径対ワイヤ径の比は所定の値以上であることが求められる。そのため、伸長用シーブは縮小用シーブに比べ外径が大きい。
【0009】
大きな外径の伸長用シーブが垂直面内で回転自在に配置されると、先段ブーム断面内に配置される送油ホース、信号ケーブル等の各種部品のレイアウトの自由度を制約してしまう。そこで、特許文献1記載の3段ブーム伸縮機構と基本的な配置構成は同じではあるが、伸長用シーブを水平面内で回転自在となるよう配置する3段ブーム伸縮機構が提案された(特許文献2)。
【先行技術文献】
【特許文献】
【0010】
実開昭52-108766号公報 図1等
実公平7-54228号公報 図2等
【発明の概要】
【発明が解決しようとする課題】
(【0011】以降は省略されています)
この特許をJ-PlatPat(特許庁公式サイト)で参照する
関連特許
株式会社タダノ
介錯ロボット
1日前
株式会社タダノ
クレーン装置
23日前
株式会社タダノ
3段ブーム伸縮機構
23日前
株式会社タダノインフラソリューションズ
機器管理支援装置および機器管理支援方法
2日前
株式会社タダノインフラソリューションズ
設備利用支援装置および設備利用支援方法
2日前
東亜建設工業株式会社
浮体式洋上風力発電施設の施工方法
1か月前
株式会社タダノ
ロープ絡まり防止装置および、ロープ絡まり防止装置を用いたグラブバケットの使用方法
8日前
個人
自走手摺
4か月前
個人
転落防止階段
1か月前
個人
小型クレーン
1か月前
ユニパルス株式会社
吊具
6か月前
個人
海上コンテナ昇降装置
12か月前
ユニパルス株式会社
荷役装置
11か月前
株式会社豊田自動織機
荷役車両
11か月前
株式会社いうら
車椅子用昇降機
4か月前
株式会社豊田自動織機
荷役車両
10か月前
ユニパルス株式会社
リフト装置
6か月前
水戸工業株式会社
吊り具
8か月前
株式会社豊田自動織機
産業車両
3か月前
個人
エアバック式レスキュー用品
2か月前
株式会社伊藤
滑り止め装置
4か月前
ユニパルス株式会社
荷役助力装置
7か月前
ユニパルス株式会社
荷役助力装置
5か月前
岐阜工業株式会社
運搬台車
1か月前
白山工業株式会社
バランサ
8か月前
ユニパルス株式会社
荷役助力装置
6か月前
大栄産業株式会社
クランプ
6か月前
株式会社大林組
安全支援システム
3か月前
個人
垂直自動搬送機
3か月前
愛知製鋼株式会社
受け架台
3か月前
株式会社キトー
タイヤ用吊具
7か月前
個人
アウトリガー用転倒防止ベース
1か月前
株式会社ユピテル
システム等
8か月前
株式会社五十鈴製作所
搬送装置
6か月前
フジテック株式会社
エレベータ
10か月前
株式会社キトー
コンテナ吊り具
16日前
続きを見る
他の特許を見る