TOP
|
特許
|
意匠
|
商標
特許ウォッチ
Twitter
他の特許を見る
10個以上の画像は省略されています。
公開番号
2025176304
公報種別
公開特許公報(A)
公開日
2025-12-04
出願番号
2024082333
出願日
2024-05-21
発明の名称
ロープ絡まり防止装置および、ロープ絡まり防止装置を用いたグラブバケットの使用方法
出願人
株式会社タダノ
代理人
個人
,
個人
,
個人
,
個人
主分類
B66C
3/12 20060101AFI20251127BHJP(巻上装置;揚重装置;牽引装置)
要約
【課題】グラブバケット操作用のロープが絡まることを防止して、安定してグラブバケットを操作することができるロープ絡まり防止装置および、ロープ絡まり防止装置を用いたグラブバケットの使用方法を提供する。
【解決手段】ロープ絡まり防止装置1は、軸線が水平方向へ向けられた状態に上部ブロックの上に取り付けられるシャフト21、31と、延在方向の一方向と他方向とにシャフト21,31を中心にして揺動することが可能なフレーム22、32と、フレーム22、32が有する一方向の第1端部に設けられ、それ自体が有する外周部の一方向の側に第1ロープが掛け回される前方シーブ23、33と、フレーム22、32が有する他方向の第2端部に設けられ、それ自体が有する外周部の他方向の側に第2ロープが掛け回される後方シーブ24、34と、を備える。
【選択図】図5
特許請求の範囲
【請求項1】
第1ロープが接続される接続部と第2ロープが挿通される挿通部とを有し、前記第1ロープに吊り下げられる上部ブロックと、
前記挿通部に通された前記第2ロープにより吊り下げられると共に、前記第2ロープが前記第1ロープよりも相対的に長く巻き取りまたは繰り出しをされることにより、前記上部ブロックに対して上昇する、または下降する下部ブロックと、
前記上部ブロックに連結されると共に、前記下部ブロックに支持され、前記下部ブロックの前記上部ブロックに対する上昇または下降によって開閉する一対のバケットと、
を備えるグラブバケットに取り付けられる、前記第1ロープと前記第2ロープの絡まりを防ぐロープ絡まり防止装置であって、
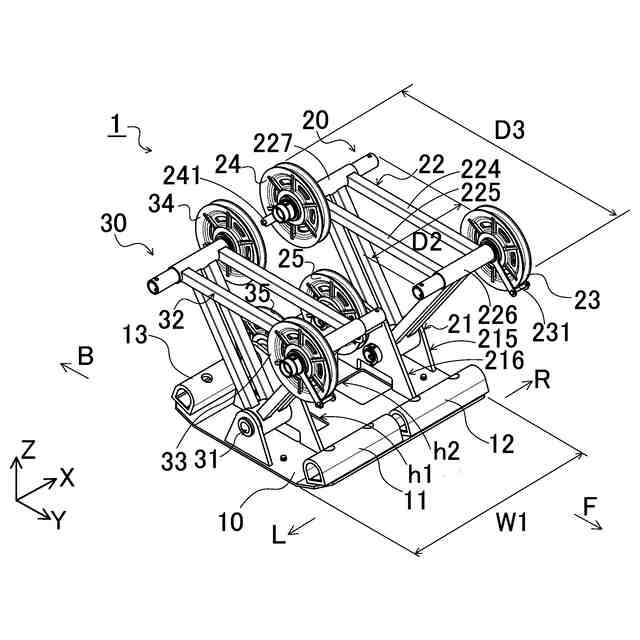
軸線が水平方向へ向けられた状態に前記上部ブロックの上に取り付けられ、前記上部ブロックの前記接続部へ向かって延びる前記第1ロープと前記上部ブロックの前記挿通部へ向かって延びる前記第2ロープの間に配置されるシャフトと、
前記シャフトと直交する方向へ延在すると共に、その延在方向の一方向と他方向とに前記シャフトを中心にして揺動することが可能なフレームと、
前記フレームが有する前記一方向の第1端部に設けられ、それ自体が有する外周部の前記一方向の側に、前記上部ブロックの前記接続部へ向かって延びる前記第1ロープが掛け回される第1シーブと、
前記フレームが有する前記他方向の第2端部に設けられ、それ自体が有する外周部の前記他方向の側に、前記上部ブロックの前記挿通部へ向かって延びる前記第2ロープが掛け回される第2シーブと、
を備える、
ロープ絡まり防止装置。
続きを表示(約 1,200 文字)
【請求項2】
前記シャフトは、前記上部ブロックの前記接続部と前記挿通部が配列する配列方向へ前記軸線が向けられた状態で、前記接続部と前記挿通部の間の上に配置される、
請求項1に記載のロープ絡まり防止装置。
【請求項3】
前記フレームには、前記第1シーブと前記第2シーブが前記配列方向へ前記接続部から前記挿通部までの距離だけ離れて設けられている、
請求項2に記載のロープ絡まり防止装置。
【請求項4】
前記上部ブロックの上に設けられ、前記グラブバケットの前記挿通部の上に外周部が位置する状態に配置される第3シーブをさらに備え、
前記第3シーブには、前記グラブバケットの前記下部ブロックから延び、かつ前記挿通部を通された前記第2ロープが掛け回され、
前記第2シーブには、前記第3シーブに掛け回された後の前記第2ロープが掛け回される、
請求項1または2に記載のロープ絡まり防止装置。
【請求項5】
前記第1シーブは、前記第1シーブの外周部と対向して該外周部との間に前記第1ロープを案内する第1ガイド部材を有し、
前記第2シーブは、前記第1シーブの外周部と対向して該外周部との間に前記第1ロープを案内する第2ガイド部材を有する、
請求項1または2に記載のロープ絡まり防止装置。
【請求項6】
前記上部ブロックの上に取り付けられ、前記シャフトを回動可能に保持するベースをさらに備え、
前記ベースは、前記フレームが前記シャフトを中心にして前記一方向へ揺動したときに前記フレームと当接してその揺動の限界位置を規定する第1弾性体と、前記フレームが前記シャフトを中心にして前記他方向へ揺動したときに前記フレームと当接してその揺動の限界位置を規定する第2弾性体と、を有する、
請求項1または2に記載のロープ絡まり防止装置。
【請求項7】
請求項1または2に記載のロープ絡まり防止装置を用いた前記グラブバケットの使用方法であって、
前記ロープ絡まり防止装置が備える前記シャフトを前記グラブバケットが備える前記上部ブロックに取りつけるステップと、
前記上部ブロックの前記接続部から延びる前記第1ロープを前記第1シーブに掛け回すと共に、前記上部ブロックの前記挿通部を通って延びる前記第2ロープを前記第2シーブに掛け回し、さらに、前記第1ロープと前記第2ロープのいずれか一方をクレーンが備える主巻き上げ装置に接続し、前記第1ロープと前記第2ロープのいずれか他方を前記クレーンが備える補巻き上げ装置に接続するステップと、
前記主巻き上げ装置と前記補巻き上げ装置による前記第1ロープと前記第2ロープの巻き上げ、または巻き下げを制御することにより、前記グラブバケットが備える一対の前記バケットの開閉するステップと、
を備える、
ロープ絡まり防止装置を用いたグラブバケットの使用方法。
発明の詳細な説明
【技術分野】
【0001】
本発明はロープ絡まり防止装置および、ロープ絡まり防止装置を用いたグラブバケットの使用方法に関する。
続きを表示(約 1,700 文字)
【背景技術】
【0002】
グラブバケットには、グラブバケットそれ自体を昇降させる支持用ロープと、繰り出し、巻き取りによりグラブバケットそれ自体を開閉する開閉用ロープとの2つの索状部材により操作される、いわゆる複索状式のグラブバケットがある。
【0003】
例えば、特許文献1には、ピンそれぞれの抜き差しにより、支持用ロープと開閉用ロープのそれぞれの着脱を行うグラブバケットが開示されている。このグラブバケットは、このような構成を備えることにより、クレーンへのグラブバケットの着脱を容易にしている。
【0004】
また、特許文献2には、トロリーが備える旋回部に、支持用ロープと開閉用ロープが接続され、その旋回部の旋回により向きを変更することが可能なグラブバケットが開示されている。
【先行技術文献】
【特許文献】
【0005】
実公昭43―9891号公報
特公昭39―28910号公報
【発明の概要】
【発明が解決しようとする課題】
【0006】
このようなグラブバケットでは、グラブバケット使用時にバケットそれ自体が外力によって回転してしまい、その結果、支持用ロープと開閉用ロープが絡まってしまうことがある。その場合、グラブバケットを昇降させたり開閉したりする操作が困難になってしまう。
【0007】
本発明は上記の課題を解決するためになされたもので、グラブバケット操作用のロープが絡まることを防止して、安定してグラブバケットを操作することができるロープ絡まり防止装置および、ロープ絡まり防止装置を用いたグラブバケットの使用方法を提供することを目的とする。
【課題を解決するための手段】
【0008】
上記の目的を達成するため、本発明の第1の観点に係るロープ絡まり防止装置は、
第1ロープが接続される接続部と第2ロープが挿通される挿通部とを有し、前記第1ロープに吊り下げられる上部ブロックと、
前記挿通部に通された前記第2ロープにより吊り下げられると共に、前記第2ロープが前記第1ロープよりも相対的に長く巻き取りまたは繰り出しをされることにより、前記上部ブロックに対して上昇する、または下降する下部ブロックと、
前記上部ブロックに連結されると共に、前記下部ブロックに支持され、前記下部ブロックの前記上部ブロックに対する上昇または下降によって開閉する一対のバケットと、
を備えるグラブバケットに取り付けられる、前記第1ロープと前記第2ロープの絡まりを防ぐロープ絡まり防止装置であって、
軸線が水平方向へ向けられた状態に前記上部ブロックの上に取り付けられ、前記上部ブロックの前記接続部へ向かって延びる前記第1ロープと前記上部ブロックの前記挿通部へ向かって延びる前記第2ロープの間に配置されるシャフトと、
前記シャフトと直交する方向へ延在すると共に、その延在方向の一方向と他方向とに前記シャフトを中心にして揺動することが可能なフレームと、
前記フレームが有する前記一方向の第1端部に設けられ、それ自体が有する外周部の前記一方向の側に、前記上部ブロックの前記接続部へ向かって延びる前記第1ロープが掛け回される第1シーブと、
前記フレームが有する前記他方向の第2端部に設けられ、それ自体が有する外周部の前記他方向の側に、前記上部ブロックの前記挿通部へ向かって延びる前記第2ロープが掛け回される第2シーブと、
を備えることを特徴とする。
【0009】
前記シャフトは、前記上部ブロックの前記接続部と前記挿通部が配列する配列方向へ前記軸線が向けられた状態で、前記接続部と前記挿通部の間の上に配置されてもよい。
【0010】
前記フレームには、前記第1シーブと前記第2シーブが前記配列方向へ前記接続部から前記挿通部までの距離だけ離れて設けられていてもよい。
(【0011】以降は省略されています)
この特許をJ-PlatPat(特許庁公式サイト)で参照する
関連特許
他の特許を見る