TOP
|
特許
|
意匠
|
商標
特許ウォッチ
Twitter
他の特許を見る
10個以上の画像は省略されています。
公開番号
2025170680
公報種別
公開特許公報(A)
公開日
2025-11-19
出願番号
2024075462
出願日
2024-05-07
発明の名称
クレーン装置
出願人
株式会社タダノ
代理人
個人
,
個人
主分類
B66D
1/54 20060101AFI20251112BHJP(巻上装置;揚重装置;牽引装置)
要約
【課題】メンテナンスが容易であり、且つ操縦者の負担が少ないクレーン装置を提供する。
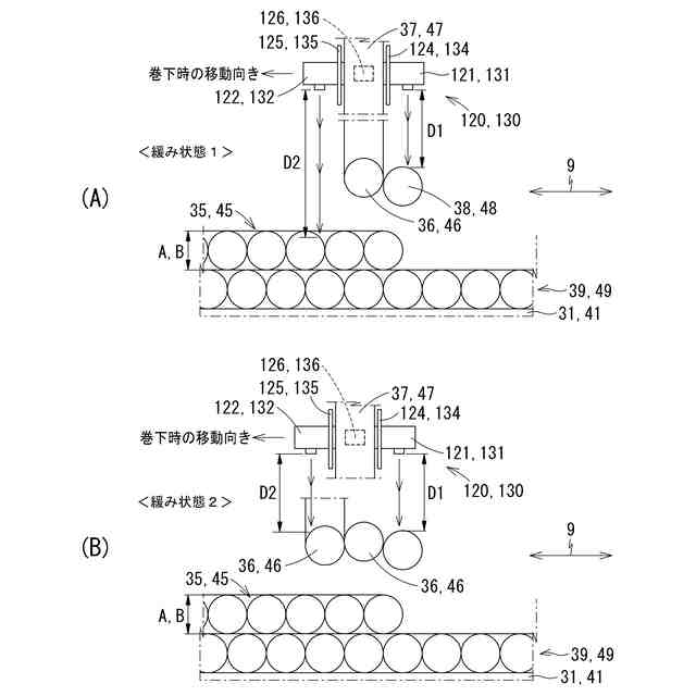
【解決手段】メインウインチの第1ドラム31の周面に対向してガイドレールが設けられている。ガイドレールは、第1センサユニット120を、第1ドラム31の軸線方向に沿ってスライド可能に支持している。第1センサユニット120は、レーザ測距センサである第1測距センサ121及び第2測距センサ122を備える。第1測距センサ121及び第2測距センサ122は、第1ドラム31に巻き付けられたメインワイヤ35が形成する段差86の両側において、メインワイヤ35までの距離をそれぞれ検出する。第1測距センサ121が検出した第1検出距離及び第2測距センサ122が検出した第2検出距離に基づいて、メインワイヤ35が第1ドラム31に正常に巻き付いているか否かが判断される。
【選択図】図7
特許請求の範囲
【請求項1】
先端部にシーブを有し、基端部を支点として起伏可能なブームと、
上記ブームの基端部側に位置し、上記シーブに掛け回されるワイヤロープが巻き付けられたドラムを有するウインチと、
上記ドラムの軸線方向に沿って移動されることによって、上記ワイヤロープにおける上記ドラムへの巻付部分と対向され、当該巻付部分までの距離を検出する測距センサと、
上記測距センサの検出距離が入力されるコントローラと、を備え、
上記コントローラは、
上記検出距離に基づいて正常か異常かを判断する判断処理と、
異常と判断したことに基づいて、異常報知情報、或いは上記ドラムの駆動を停止させる停止情報の少なくとも一方を出力する出力処理と、を実行する、クレーン装置。
続きを表示(約 2,300 文字)
【請求項2】
上記ドラムの軸線方向に沿って延びるガイドレールと、
上記軸線方向に沿って移動可能に上記ガイドレールに支持され、且つ上記測距センサが取り付けられたスライダと、
上記スライダに設けられており、上記軸線方向において上記ワイヤロープの近傍に配置された当接部材と、を備える、請求項1に記載のクレーン装置。
【請求項3】
上記ドラムの回転量を検出するドラムセンサと、
上記ドラムの軸線方向に沿って延びるガイドレールと、
上記軸線方向に沿って移動可能に上記ガイドレールに支持され、且つ上記測距センサが取り付けられたスライダと、
上記軸線方向に沿って上記スライダを移動させる駆動装置と、をさらに備え、
上記コントローラは、
上記ドラムセンサが検出した回転量及び上記ワイヤロープの直径に基づいて移動量を算出する移動量算出処理と、
上記移動量だけ上記スライダを上記軸線方向に沿って移動させる第1移動処理と、を実行する、請求項1に記載のクレーン装置。
【請求項4】
上記測距センサは、上記ドラムの軸線方向において所定距離だけ離間して配置された第1測距センサ及び第2測距センサを含み、
上記判断処理は、上記第1測距センサが検出した第1検出距離と上記第2測距センサが検出した第2検出距離との差分が、上記ワイヤロープの直径に応じた第1適正範囲内にあることに基づいて正常と判断し、当該差分が当該第1適正範囲内にないことに基づいて異常と判断する処理を含む、請求項1に記載のクレーン装置。
【請求項5】
上記コントローラは、
ワイヤ径を取得するワイヤ径取得処理と、
上記ワイヤ径が示す上記ワイヤロープの半径に応じた値から直径に応じた値を上記第1適正範囲に決定する第1適正範囲決定処理と、を実行する、請求項4に記載のクレーン装置。
【請求項6】
上記ドラムの回転量を検出するドラムセンサをさらに備え、
上記測距センサは、上記ドラムの軸線方向において所定距離だけ離間して配置された第1測距センサ及び第2測距センサを含み、
上記コントローラは、
上記ドラムセンサが検出した回転量、上記測距センサから上記ドラムの周面までの距離、及び上記ワイヤロープの直径に基づいて、段差の低位側までの距離の適正範囲を示す低位側適正範囲及び段差の高位側までの距離の適正範囲を示す高位側適正範囲を算出する適正範囲算出処理を実行し、
上記判断処理は、上記第1測距センサが検出した第1検出距離及び上記第2測距センサが検出した第2検出距離の一方が上記低位側適正範囲内にあり、且つ他方が上記高位側適正範囲内にあることに基づいて正常と判断し、他の場合に異常と判断する処理を含む、請求項1に記載のクレーン装置。
【請求項7】
上記ドラムの回転量を検出するドラムセンサをさらに備え、
上記コントローラは、
上記ドラムセンサが検出した回転量、上記測距センサから上記ドラムの周面までの距離、及び上記ワイヤロープの直径に基づいて、段差の低位側までの距離の適正範囲を示す低位側適正範囲及び段差の高位側までの距離の適正範囲を示す高位側適正範囲を算出する適正範囲算出処理を実行し、
上記判断処理は、上記差分が上記第1適正範囲内にあり、上記第1検出距離及び第2検出距離の一方が上記低位側適正範囲内にあり、且つ他方が上記高位側適正範囲内にあることに基づいて正常と判断し、他の場合に異常と判断する処理を含む、請求項4に記載のクレーン装置。
【請求項8】
上記コントローラは、
上記軸線方向に沿って上記スライダを所定範囲内で往復移動させる第2移動処理をさらに実行し、
上記測距センサは、往復移動されつつ距離の検出を行い、
上記判断処理における上記検出距離に基づく正常か異常かの判断とは、上記測距センサが往復移動において検出した複数の検出距離に基づいて正常か異常かを判断する処理を含む、請求項3に記載のクレーン装置。
【請求項9】
上記測距センサは、上記ドラムの軸線方向において所定距離だけ離間して配置された第1測距センサ及び第2測距センサを含み、
上記第1測距センサ及び上記第2測距センサは、所定の時間間隔で繰り返し距離の検出を行ない、
上記コントローラは、
上記第1測距センサが経時的に検出した2つの第1検出距離の差である第1差分、及び上記第2測距センサが経時的に検出した2つの第2検出距離の差である第2差分をそれぞれ算出する差分算出処理をさらに実行し、
上記判断処理は、上記第1差分及び上記第2差分が、上記ワイヤロープの直径に応じた第2適正範囲内にあることに基づいて正常と判断し、上記第1差分及び上記第2差分が上記第2適正範囲内にないことに基づいて異常と判断する処理を含む、請求項1に記載のクレーン装置。
【請求項10】
上記ウインチは、
上記軸線方向にスライド可能であって、且つ上記シーブと上記ドラムとの間に位置してワイヤロープを掛けられるスライドシーブをさらに備え、
上記当接部材は、上記ワイヤロープのうち、上記スライドシーブと上記ドラムとの間の部分の近傍に配置される、請求項2に記載のクレーン装置。
(【請求項11】以降は省略されています)
発明の詳細な説明
【技術分野】
【0001】
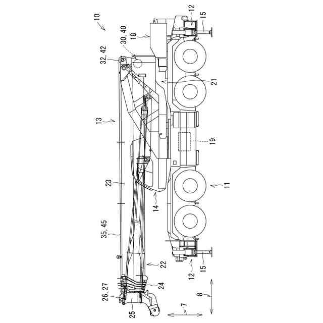
本発明は、ブーム及びウインチを備えたクレーン装置に関する。
続きを表示(約 1,400 文字)
【背景技術】
【0002】
ブーム及びウインチを備えたクレーン装置は、クレーン車や設置型のタワークレーンに使用される。
【0003】
ウインチは、ワイヤロープが巻き付けられたドラムを有しており、ブームの基端側に配置される。ドラムから繰り出されたワイヤロープは、ブームの先端部に設けられたシーブに掛け回されるとともに、吊荷用フックを取り付けられる。ドラムが回転駆動されることにより、吊荷用フックに吊られた吊荷が昇降される。
【0004】
特許文献1は、ドラムにおけるワイヤロープの異常巻き付きを検知する乱巻き検出装置を開示する。この乱巻き検出装置は、ねじ軸、取付台、リミットスイッチ、及び検知レバーを備える。ねじ軸は、ドラムの周面に対向して配置されており、ドラムの回転に連動して回転する。取付台は、ねじ軸に取り付けられており、ねじ軸が回転するとドラムの軸線方向に沿って移動する。リミットスイッチは、取付台に搭載されて取付台と一体でドラムの軸線方向に移動する。検知レバーは、リミットスイッチからドラムに向かって延びており、ワイヤロープにおけるドラムへの巻き付き開始部分に側方から当接する。乱巻きが生じると、検知レバーがワイヤロープに当接しなくなり、リミットスイッチが作動してドラムの回転駆動が停止される。
【0005】
一方、ドラムを撮影するカメラを搭載したクレーン装置も存在する。カメラが撮影したドラム映像は、クレーン装置の操縦室に設置されたモニタに表示される。操縦者は、ドラム映像を確認しながらクレーン装置を操縦する。
【先行技術文献】
【特許文献】
【0006】
実開昭54-132169号公報
【発明の概要】
【発明が解決しようとする課題】
【0007】
特許文献1に開示された乱巻き検出装置では、検知レバーは、繰り出し或いは巻き取りされるワイヤロープに常に当接する。したがって、検知レバーの摩耗が激しく、且つリミットスイッチに常に負荷が加わり、検知レバー及びリミットスイッチの検査及び交換等のメンテナンスに手間がかかるという問題がある。
【0008】
一方、ドラムを撮影するカメラを搭載したクレーン装置では、操縦者は、吊荷とドラム映像との両方の確認を常に行なわなければならず、操縦者に多大な負担を強いることになる。
【0009】
本発明は、前述された事情に鑑みてなされたものであり、その目的は、メンテナンスが容易であり、且つ操縦者の負担が少ないクレーン装置を提供することである。
【課題を解決するための手段】
【0010】
(1) 本発明に係るクレーン装置は、先端部にシーブを有し、基端部を支点として起伏可能なブームと、上記ブームの基端部側に位置し、上記シーブに掛け回されるワイヤロープが巻き付けられたドラムを有するウインチと、上記ドラムの軸線方向に沿って移動されることによって、上記ワイヤロープにおける上記ドラムへの巻付部分と対向され、当該巻付部分までの距離を検出する測距センサと、上記測距センサの検出距離が入力されるコントローラと、を備える。上記コントローラは、上記検出距離に基づいて正常か異常かを判断する判断処理と、異常と判断したことに基づいて、異常報知情報、或いは上記ドラムの駆動を停止させる停止情報の少なくとも一方を出力する出力処理と、を実行する。
(【0011】以降は省略されています)
この特許をJ-PlatPat(特許庁公式サイト)で参照する
関連特許
株式会社タダノ
クレーン装置
2日前
株式会社タダノ
荷重検出装置
1か月前
株式会社タダノ
3段ブーム伸縮機構
2日前
東亜建設工業株式会社
浮体式洋上風力発電施設の施工方法
15日前
個人
自走手摺
4か月前
個人
転落防止階段
22日前
ユニパルス株式会社
吊具
5か月前
個人
小型クレーン
16日前
個人
海上コンテナ昇降装置
11か月前
ユニパルス株式会社
吊具装置
11か月前
ユニパルス株式会社
荷役装置
10か月前
水戸工業株式会社
吊り具
7か月前
株式会社豊田自動織機
産業車両
2か月前
株式会社いうら
車椅子用昇降機
3か月前
株式会社豊田自動織機
荷役車両
11か月前
株式会社豊田自動織機
荷役車両
10か月前
ユニパルス株式会社
リフト装置
5か月前
岐阜工業株式会社
運搬台車
23日前
個人
エアバック式レスキュー用品
1か月前
大栄産業株式会社
クランプ
6か月前
愛知製鋼株式会社
受け架台
3か月前
ユニパルス株式会社
荷役助力装置
5か月前
ユニパルス株式会社
荷役助力装置
6か月前
株式会社大林組
安全支援システム
2か月前
白山工業株式会社
バランサ
8か月前
ユニパルス株式会社
荷役助力装置
4か月前
個人
垂直自動搬送機
2か月前
株式会社伊藤
滑り止め装置
3か月前
株式会社キトー
タイヤ用吊具
6か月前
株式会社ユピテル
システム等
7か月前
個人
アウトリガー用転倒防止ベース
15日前
中国計量大学
電子安全クランプ
1か月前
株式会社豊田自動織機
フォークリフト
2か月前
株式会社豊田自動織機
フォークリフト
8か月前
株式会社五十鈴製作所
搬送装置
5か月前
フジテック株式会社
エレベータ
10か月前
続きを見る
他の特許を見る