TOP
|
特許
|
意匠
|
商標
特許ウォッチ
Twitter
他の特許を見る
公開番号
2025168906
公報種別
公開特許公報(A)
公開日
2025-11-12
出願番号
2024073762
出願日
2024-04-30
発明の名称
吊具
出願人
神鋼物流株式会社
代理人
弁理士法人ATEN
主分類
B66C
1/12 20060101AFI20251105BHJP(巻上装置;揚重装置;牽引装置)
要約
【課題】簡素な構成で、吊荷から玉掛ロープを外す玉外し作業を自動化する。
【解決手段】連結部51は、吊天秤23に取り付けられる。移動部60は、吊天秤23よりも下側Z2に配置され、連結部51により吊天秤23に連結される。連結部51は、移動部60が吊荷11の上面(11a)に接触した状態のときに、吊天秤23の下側Z2への移動を、移動部60の玉外し側(X1)への移動に変換するように構成される。移動部60は、吊荷11の上面(11a)に接触した状態で玉外し側(X1)に移動したときに、玉掛ロープ25を玉外し側(X1)に押すように構成される。
【選択図】図1
特許請求の範囲
【請求項1】
吊荷の姿勢を安定させるための吊天秤と、
前記吊天秤から吊り下げられ、前記吊荷に掛けることが可能な玉掛ロープと、
前記吊天秤に取り付けられる連結部と、
前記吊天秤よりも下側に配置され、前記連結部により前記吊天秤に連結される移動部と、
を備え、
上下方向に交差する方向であって前記玉掛ロープが前記吊荷から外される向きを玉外し側としたとき、
前記連結部は、前記移動部が前記吊荷の上面に接触した状態のときに、前記吊天秤の下側への移動を、前記移動部の前記玉外し側への移動に変換するように構成され、
前記移動部は、前記吊荷の上面に接触した状態で前記玉外し側に移動したときに、前記玉掛ロープを前記玉外し側に押すように構成される、
吊具。
続きを表示(約 500 文字)
【請求項2】
請求項1に記載の吊具であって、
前記連結部は、アーム状であり、前記吊天秤に回転可能に取り付けられ、
前記連結部が前記移動部に取り付けられる位置は、前記吊天秤に対する前記連結部の回転軸よりも、前記玉外し側に配置される、
吊具。
【請求項3】
請求項1に記載の吊具であって、
前記玉掛ロープが前記吊荷を吊り上げた状態のときの前記吊天秤に対する前記移動部の位置よりも、前記玉外し側に前記移動部が配置されるように、前記吊天秤に対する前記移動部の位置を保持する保持部を備える、
吊具。
【請求項4】
請求項1に記載の吊具であって、
前記玉外し側とは逆側に前記玉掛ロープを引く玉掛ロープ引込部を備える、
吊具。
【請求項5】
請求項1に記載の吊具であって、
前記移動部は、
前記玉掛ロープを前記玉外し側に押す部分である玉掛ロープ押部と、
前記玉掛ロープ押部に対する前記玉掛ロープの位置を所定範囲内に制限する玉掛ロープ移動制限部と、
を備える、
吊具。
発明の詳細な説明
【技術分野】
【0001】
本発明は、吊荷を吊るための吊具に関する。
続きを表示(約 1,300 文字)
【背景技術】
【0002】
例えば特許文献1に、従来の吊具が記載されている。同文献に記載の吊具では、吊ビーム(吊天秤)から吊索を介して吊りフックが吊り下げられ、吊りフックに玉掛ワイヤー(玉掛けロープ)が吊り下げられ、玉掛ワイヤーが長尺材(吊荷)に掛けられている。同文献に記載の吊具では、玉掛ワイヤーが、吊りフックから自動的に外れる。
【先行技術文献】
【特許文献】
【0003】
特開2003-300689号公報
【発明の概要】
【発明が解決しようとする課題】
【0004】
一方、簡素な構成で、吊荷から玉掛ロープを外す玉外し作業を自動化できることが望まれている。
【0005】
そこで、本発明は、簡素な構成で玉外し作業を自動化することができる吊具を提供することを目的とする。
【課題を解決するための手段】
【0006】
吊具は、吊天秤と、玉掛ロープと、連結部と、移動部と、を備える。前記吊天秤は、吊荷の姿勢を安定させるためのものである。前記玉掛ロープは、前記吊天秤から吊り下げられ、前記吊荷に掛けることが可能である。前記連結部は、前記吊天秤に取り付けられる。前記移動部は、前記吊天秤よりも下側に配置され、前記連結部により前記吊天秤に連結される。上下方向に交差する方向であって前記玉掛ロープが前記吊荷から外される向きを玉外し側とする。前記連結部は、前記移動部が前記吊荷の上面に接触した状態のときに、前記吊天秤の下側への移動を、前記移動部の前記玉外し側への移動に変換するように構成される。前記移動部は、前記吊荷の上面に接触した状態で前記玉外し側に移動したときに、前記玉掛ロープを前記玉外し側に押すように構成される。
【発明の効果】
【0007】
上記の吊具により、簡素な構成で玉外し作業を自動化することができる。
【図面の簡単な説明】
【0008】
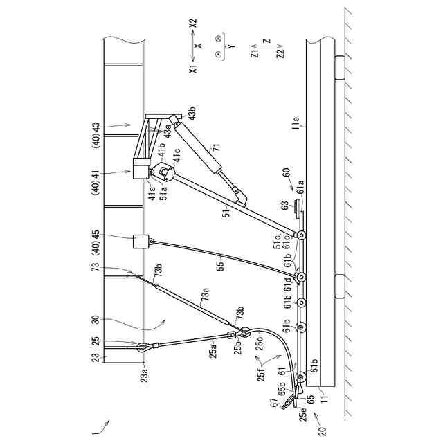
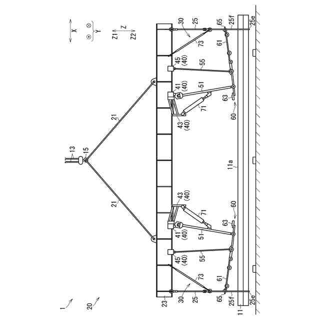
吊具20を含む吊装置1を横方向Yから見た図である。
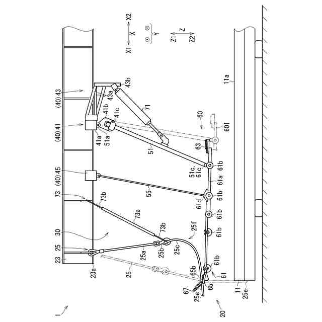
図1に示す移動部60が吊荷11に接触した状態を横方向Yから見た図である。
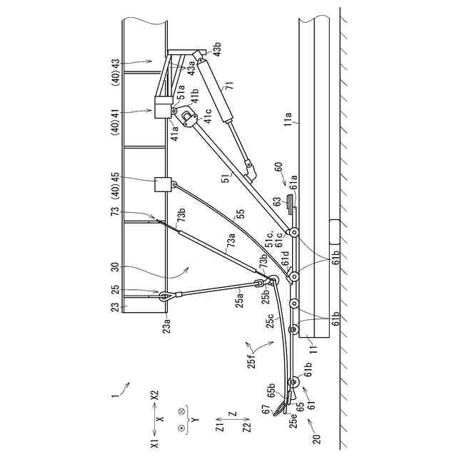
図1に示す移動部60を上側Z1から見た図である。
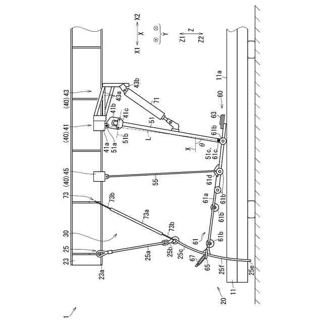
図2に示す移動部60が、図2に示す状態よりも前側X1に移動した状態を示す図2相当図である。
図4に示す吊天秤23が、図4に示す状態よりも上側Z1に移動した状態を示す図4相当図である。
図5に示す吊天秤23が、図5に示す状態よりも上側Z1に移動した状態を示す図5相当図である。
【発明を実施するための形態】
【0009】
図1~図6を参照して、吊具20を備える吊装置1について説明する。
【0010】
吊装置1は、図1に示すように、吊荷11を吊り上げ、吊荷11を移動させる装置である。例えば、吊装置1は、岸壁および船倉内で吊荷11を移動させるものでもよく、建物内で吊荷11を移動させるものでもよく、建設現場などで吊荷11を移動させるものでもよい。吊装置1は、吊荷11と、主ロープ13と、主フック15と、吊具20と、を備える。
(【0011】以降は省略されています)
この特許をJ-PlatPat(特許庁公式サイト)で参照する
関連特許
他の特許を見る