TOP
|
特許
|
意匠
|
商標
特許ウォッチ
Twitter
他の特許を見る
公開番号
2025163722
公報種別
公開特許公報(A)
公開日
2025-10-30
出願番号
2024067191
出願日
2024-04-18
発明の名称
チェーン式バランス吊具
出願人
イーグルクランプ株式会社
代理人
個人
主分類
B66C
13/08 20060101AFI20251023BHJP(巻上装置;揚重装置;牽引装置)
要約
【課題】チェーン式バランス吊具において、吊り上げ時にチェーンが勢いよく移動した場合であっても、チェーンガイドの跳ね上がりを抑えて、チェーンがスプロケットから外れることを防止し、チェーンの破断や吊荷の落下などの危険を未然に回避する。
【解決手段】本体10の中心軸線X上において本体に対して回動自在に設けられるスプロケット15と、本体の中心軸線に対して対称であってスプロケットに近接した地点で本体に対して回動自在に設けられる一対のチェーンガイド17,18を有するチェーン式バランス吊具1において、スプロケットに係合しながらスプロケットとチェーンガイドとの間を通過するように架け渡されるチェーンを常にスプロケットに押し付ける方向に回転付勢されたスプリング手段、たとえば、一対のチェーンガイドの間に架け渡されてこれらを同時に且つ反対方向に回転付勢する引きバネ22,23が設けられる。
【選択図】図2
特許請求の範囲
【請求項1】
本体と、本体の中心軸線上において本体に対して回動自在に設けられるスプロケットと、本体の中心軸線に対して対称であってスプロケットに近接した地点で本体に対して回動自在に設けられる一対のチェーンガイドと、多数のチェーン素子が連結されてなるチェーンであって、その両端が吊荷に連結されると共にその略中間部においてチェーン素子がスプロケットに係合しながらスプロケットとチェーンガイドとの間を通過するように架け渡されるチェーンと、各チェーンガイドをチェーンを介してスプロケットに押し付ける方向に回転付勢するスプリング手段と、を有してなることを特徴とするチェーン式バランス吊具。
続きを表示(約 100 文字)
【請求項2】
前記スプリング手段が、一対のチェーンガイドの間に架け渡される引きバネであり、一対のチェーンガイドを同時に且つ反対方向に回転付勢することを特徴とする、請求項1記載のチェーン式バランス吊具。
発明の詳細な説明
【技術分野】
【0001】
本発明は、異形鉄鋼構造物のようにバランスを取りにくい吊荷であっても自動的にバランスを取りながら安定した姿勢で吊り上げ作業を行うことができるチェーン式バランス吊具に関する。
続きを表示(約 2,100 文字)
【背景技術】
【0002】
下記特許文献1には、本体と、本体に対して回動自在に設けられるスプロケットと、スプロケットの上方において本体に回動自在に設けられる一対のチェーンガイドと、その両端が吊荷に連結されると共にその略中間部においてチェーン素子がスプロケットと係合してスプロケットとチェーンガイドとの間に架け渡されるチェーンと、を有してなるチェーン式バランス吊具が記載されている。
【0003】
このようなチェーン式バランス吊具は、チェーンを所定の吊角度以上(たとえば60度以上)に開いて吊荷に連結した状態で、吊り上げ装置を起動して吊り上げることにより、偏重心の吊荷であっても、吊荷の重心位置がバランス吊具の中心軸線上となるように自動的にスプロケットが回動してチェーンが移動し、バランスを取ることができる。したがって、特に偏重心の吊荷の引き起こし作業や反転作業等を安定した姿勢で円滑に行うことができるという利点を有する(特許文献1の段落0033~0036,図5,図6参照)。
【先行技術文献】
【特許文献】
【0004】
特許第4297486号公報
【発明の概要】
【発明が解決しようとする課題】
【0005】
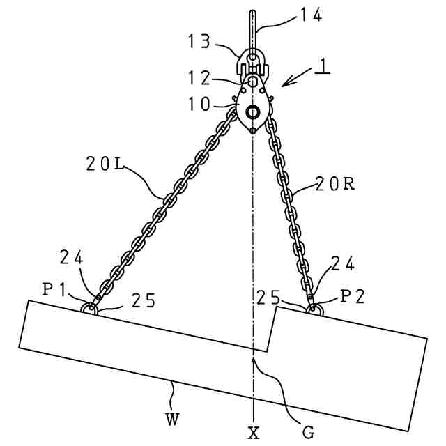
このようなチェーン式バランス吊具を用いて吊荷を吊り上げるために、チェーンの両端を吊荷にセットしたときに、当初からバランスが取れた状態が得られることは稀であり、ほとんどの場合はバランスが取られていない状態でチェーン式バランス吊具に連結されることになる。段差のある片重心吊荷Wをチェーン式バランス吊具で吊り上げる場合を想定して、以下、図5および図6を参照して説明する。なお、図5および図6は、特許文献1の図5および図6とそれぞれ実質的に同一の状態を示す。
【0006】
この吊荷Wが床置きされた状態(図5)で、地点P1およびP2にチェーン20の両端をセットして吊り上げると、吊荷Wが床から離れると同時に、スプロケット15が同図において時計方向に回転すると共にチェーン20が左側から右側へと移動して、バランスが取れた同6の状態に移行することになる。
【0007】
このときに、特に吊荷Wの質量が大きい場合や、チェーン20を連結する2地点P1,P2の位置ずれ(高低差および/または中心軸線Xからの距離差)が大きい場合などでは、セット時の図5の状態から図6のバランス状態に移行する間に、スプロケット15が高速回転すると共に、このスプロケット15に係合するチェーン20がチェーン式バランス吊具内で勢いよく移動するので、チェーンガイド17を跳ね上げてしまい、チェーン20がスプロケット15から外れやすくなることがあった(図7参照)。チェーン式バランス吊具内でチェーン20がスプロケット15から外れたままで吊り上げを継続すると、チェーン20に捩れが生じ、チェーン本来の使用荷重以下でも破断する恐れがある。また、このような状態になると、チェーンの移動がスムーズに行われなくなるため、バランスが取れた図6の状態に移行することができず、チェーン式バランス吊具の両側のチェーン20に均等に荷重が掛からなくなって、チェーンが破断する恐れもある。チェーンの破断は、吊荷の落下などの大事故につながる。
【0008】
したがって、本発明が解決しようとする課題は、チェーン式バランス吊具における上記問題を解決し、アンバランス状態からバランス状態へと移行する際にチェーンが勢いよく移動した場合であっても、チェーンガイドの跳ね上がりを抑えて、チェーンがスプロケットから外れることを防止し、チェーンの破断や吊荷の落下などの危険を未然に回避することを可能にする新規構造を提供することである。
【課題を解決するための手段】
【0009】
この課題を解決するため、請求項1に係る本発明は、本体と、本体の中心軸線上において本体に対して回動自在に設けられるスプロケットと、本体の中心軸線に対して対称であってスプロケットに近接した地点で本体に対して回動自在に設けられる一対のチェーンガイドと、多数のチェーン素子が連結されてなるチェーンであって、その両端が吊荷に連結されると共にその略中間部においてチェーン素子がスプロケットに係合しながらスプロケットとチェーンガイドとの間を通過するように架け渡されるチェーンと、各チェーンガイドをチェーンを介してスプロケットに押し付ける方向に回転付勢するスプリング手段と、を有してなることを特徴とするチェーン式バランス吊具である。
【0010】
請求項2に係る本発明は、請求項1記載のチェーン式バランス吊具において、前記スプリング手段が、一対のチェーンガイドの間に架け渡される引きバネであり、一対のチェーンガイドを同時に且つ反対方向に回転付勢することを特徴とする。
【発明の効果】
(【0011】以降は省略されています)
この特許をJ-PlatPat(特許庁公式サイト)で参照する
関連特許
個人
自走手摺
4か月前
個人
転落防止階段
28日前
個人
小型クレーン
22日前
ユニパルス株式会社
吊具
5か月前
個人
海上コンテナ昇降装置
11か月前
ユニパルス株式会社
荷役装置
10か月前
株式会社いうら
車椅子用昇降機
4か月前
株式会社豊田自動織機
産業車両
2か月前
株式会社豊田自動織機
荷役車両
11か月前
株式会社豊田自動織機
荷役車両
10か月前
水戸工業株式会社
吊り具
7か月前
ユニパルス株式会社
リフト装置
6か月前
株式会社大林組
安全支援システム
3か月前
個人
垂直自動搬送機
2か月前
株式会社伊藤
滑り止め装置
3か月前
白山工業株式会社
バランサ
8か月前
愛知製鋼株式会社
受け架台
3か月前
ユニパルス株式会社
荷役助力装置
4か月前
ユニパルス株式会社
荷役助力装置
7か月前
個人
エアバック式レスキュー用品
1か月前
ユニパルス株式会社
荷役助力装置
5か月前
岐阜工業株式会社
運搬台車
29日前
大栄産業株式会社
クランプ
6か月前
個人
アウトリガー用転倒防止ベース
21日前
株式会社キトー
タイヤ用吊具
7か月前
株式会社ユピテル
システム等
7か月前
株式会社豊田自動織機
フォークリフト
2か月前
株式会社豊田自動織機
フォークリフト
9か月前
中国計量大学
電子安全クランプ
1か月前
大和ハウス工業株式会社
吊上具
3か月前
フジテック株式会社
エレベータ
10か月前
株式会社キトー
コンテナ吊り具
1日前
新英運輸株式会社
自動車用台車
7か月前
株式会社五十鈴製作所
搬送装置
5か月前
山崎産業株式会社
手摺り拭用器具
2か月前
中坪造園有限会社
吊り荷降ろし具
6か月前
続きを見る
他の特許を見る