TOP
|
特許
|
意匠
|
商標
特許ウォッチ
Twitter
他の特許を見る
公開番号
2025172598
公報種別
公開特許公報(A)
公開日
2025-11-26
出願番号
2024078195
出願日
2024-05-13
発明の名称
昇降路内作業装置
出願人
フジテック株式会社
代理人
弁理士法人藤本パートナーズ
主分類
B66B
7/00 20060101AFI20251118BHJP(巻上装置;揚重装置;牽引装置)
要約
【課題】操作ミスによる損傷を防ぐことができる昇降路内作業装置を提供することを課題とする。
【解決手段】本発明は、昇降路における作業対象物に対して作業する作業部を有し、昇降路を昇降可能な本体部と、本体部に対する上昇指示と下降指示とを入力する昇降用入力部と、を備え、作業部の作業中に昇降用入力部に入力があったときには、本体部が昇降せず且つ作業部が作業を止める、ことを特徴とする。
【選択図】図3
特許請求の範囲
【請求項1】
昇降路における作業対象物に対して作業する作業部を有し、前記昇降路を昇降可能な本体部と、
前記本体部に対する上昇指示と下降指示とを入力する昇降用入力部と、を備え、
前記作業部の前記作業中に前記昇降用入力部に前記入力があったときには、前記本体部が昇降せず且つ前記作業部が前記作業を止める、昇降路内作業装置。
続きを表示(約 650 文字)
【請求項2】
前記作業部は、
前記作業時に前記作業対象物に接する作用部と、
該作用部の位置を変更可能な位置変更部と、を有し、
前記昇降用入力部への前記入力によって前記作業部が前記作業を停止するときに、前記作用部は、前記作業対象物から離れた位置である退避位置まで移動する、請求項1に記載の昇降路内作業装置。
【請求項3】
前記作用部が前記退避位置にあることを検出可能な検出部を備え、
前記昇降用入力部への前記入力によって前記作業部が前記作業を停止したときに、前記作用部が前記退避位置にあることを前記検出部が検出すると、前記昇降用入力部への前記入力に基づいて前記本体部が昇降する、請求項2に記載の昇降路内作業装置。
【請求項4】
前記作業部は、前記本体部の昇降中は作業できない状態になり、該本体部が前記昇降を止めることによって作業可能な状態になる、請求項3に記載の昇降路内作業装置。
【請求項5】
前記作業部への指示を入力する作業用入力部を備え、
前記作業部は、前記本体部が前記昇降を止めた後は、前記作業用入力部からの入力がないと前記作業を開始しない、請求項4に記載の昇降路内作業装置。
【請求項6】
前記本体部を昇降させる昇降手段を備え、
前記昇降手段は、前記昇降用入力部からの前記入力に基づいて前記本体部を昇降させる、請求項1~5のいずれか1項に記載の昇降路内作業装置。
発明の詳細な説明
【技術分野】
【0001】
本発明は、エレベータの昇降路において作業を行う昇降路内作業装置に関する。
続きを表示(約 1,400 文字)
【背景技術】
【0002】
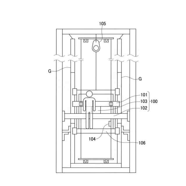
従来から、昇降路内にエレベータのガイドレールが据え付けられる際に、ガイドレール(作業対象物)の自動位置決めを行う昇降路内作業装置(以下、単に「作業装置」とも称する。)が知られている(特許文献1参照)。
【0003】
この作業装置100は、図5に示すように、1対のガイドレールGを両端に把持する冶具101と、昇降路の対向する側面のうちのガイドレールGを据え付け可能な取付可能面に、両端を水平に押し当てて固定する冶具受102と、冶具101と冶具受102との間に配置され、冶具受102に対する冶具101の相対位置を電動で変更し固定する位置決め機構103と、冶具101が昇降路に設置した基準に対して所定の相対位置をとるように、位置決め機構103による位置決め動作を自動制御する制御装置104と、を備える。
【0004】
この作業装置100は、ガイドレールGの位置決め(いわゆる芯出し作業)の際には、昇降路の上部に配置された揚重機105に吊り下げられた作業床106の上に設置される。そして、揚重機105が作業床106を昇降させて作業床106の上下方向の位置を変更し、この変更した位置に作業床106が停止した状態で作業装置100がガイドレールGの自動位置決め(芯出し作業)を行う。
【先行技術文献】
【特許文献】
【0005】
特開2019-142622号公報
【発明の概要】
【発明が解決しようとする課題】
【0006】
上記の作業装置100では、該作業装置100が作業を行っているときに、作業者が作業装置100を操作しようとして揚重機105を操作したり、作業装置100が作業しているのを忘れて揚重機105を操作したりする等、作業者の操作ミスによって作業床を昇降させた場合、作業装置100や作業対象物が損傷する場合がある。
【0007】
そこで、本発明は、操作ミスによる損傷を防ぐことができる昇降路内作業装置を提供することを課題とする。
【課題を解決するための手段】
【0008】
本発明の昇降路内作業装置は、
昇降路における作業対象物に対して作業する作業部を有し、前記昇降路を昇降可能な本体部と、
前記本体部に対する上昇指示と下降指示とを入力する昇降用入力部と、を備え、
前記作業部の前記作業中に前記昇降用入力部に前記入力があったときには、前記本体部が昇降せず且つ前記作業部が前記作業を停止する。
【0009】
かかる構成によれば、作業部が作業中に本体部を昇降させようとしても、本体部が昇降せず且つ前記作業部が前記作業を停止するため、作業者等が本体部を昇降させるか作業部を操作するかを確認することができ、これにより、操作ミスによる損傷を防ぐことができる。
【0010】
また、前記昇降路内作業装置では、
前記作業部は、
前記作業時に前記作業対象物に接する作用部と、
該作用部の位置を変更可能な位置変更部と、を有し、
前記昇降用入力部への前記入力によって前記作業部が前記作業を停止するときに、前記作用部は、前記作業対象物から離れた位置である退避位置まで移動してもよい。
(【0011】以降は省略されています)
この特許をJ-PlatPat(特許庁公式サイト)で参照する
関連特許
フジテック株式会社
乗客コンベア
20日前
フジテック株式会社
情報提供システム
今日
フジテック株式会社
昇降路内作業装置
1日前
フジテック株式会社
エレベータ、及びエレベータの行先階登録装置
今日
フジテック株式会社
エレベータかご、エレベータ及びエレベータかごの製造方法
今日
個人
自走手摺
4か月前
個人
転落防止階段
28日前
個人
小型クレーン
22日前
ユニパルス株式会社
吊具
5か月前
個人
海上コンテナ昇降装置
11か月前
ユニパルス株式会社
荷役装置
10か月前
株式会社いうら
車椅子用昇降機
4か月前
株式会社豊田自動織機
産業車両
2か月前
株式会社豊田自動織機
荷役車両
11か月前
株式会社豊田自動織機
荷役車両
10か月前
水戸工業株式会社
吊り具
7か月前
ユニパルス株式会社
リフト装置
6か月前
株式会社大林組
安全支援システム
3か月前
個人
垂直自動搬送機
2か月前
株式会社伊藤
滑り止め装置
3か月前
白山工業株式会社
バランサ
8か月前
愛知製鋼株式会社
受け架台
3か月前
ユニパルス株式会社
荷役助力装置
4か月前
ユニパルス株式会社
荷役助力装置
7か月前
個人
エアバック式レスキュー用品
1か月前
ユニパルス株式会社
荷役助力装置
5か月前
岐阜工業株式会社
運搬台車
29日前
大栄産業株式会社
クランプ
6か月前
個人
アウトリガー用転倒防止ベース
21日前
株式会社キトー
タイヤ用吊具
7か月前
株式会社ユピテル
システム等
7か月前
株式会社豊田自動織機
フォークリフト
2か月前
株式会社豊田自動織機
フォークリフト
9か月前
中国計量大学
電子安全クランプ
1か月前
大和ハウス工業株式会社
吊上具
3か月前
フジテック株式会社
エレベータ
10か月前
続きを見る
他の特許を見る