TOP
|
特許
|
意匠
|
商標
特許ウォッチ
Twitter
他の特許を見る
公開番号
2025173306
公報種別
公開特許公報(A)
公開日
2025-11-27
出願番号
2024078829
出願日
2024-05-14
発明の名称
情報提供システム
出願人
フジテック株式会社
代理人
弁理士法人 HARAKENZO WORLD PATENT & TRADEMARK
主分類
B66B
3/00 20060101AFI20251119BHJP(巻上装置;揚重装置;牽引装置)
要約
【課題】利用者の端末装置とエレベータ制御装置とが直接接続されることなく利用者の行先階呼びの登録を行い、さらに該利用者が利用する予定のエレベータ号機の動作状況に関する情報を当該利用者に提供する。
【解決手段】情報提供システム(100)は、エレベータ(1)の号機の動作状況に関する動作情報を提供する情報提供システムであって、端末装置(9)から行先階登録装置(300)を介して送信された出発階および行先階を示す情報を含む呼び登録依頼に基づいて呼びが登録された注目号機を識別する号機情報を行先階登録装置から取得した端末装置からの要求に対する応答として、号機情報で識別される注目号機の運行を制御するエレベータ制御装置(2)から、注目号機の動作情報を取得し、取得した動作情報を端末装置へ送信するデータ送信システム(200)を含む。
【選択図】図1
特許請求の範囲
【請求項1】
複数階床を有する建物に設けられた1または複数の号機を備えるエレベータの前記号機の動作状況に関する動作情報を提供する情報提供システムであって、
前記エレベータの利用者の端末装置であって、前記端末装置から行先階登録装置を介して送信された出発階および行先階を示す情報を含む呼び登録依頼に基づいて呼びが登録された注目号機を識別する号機情報を前記行先階登録装置から取得した前記端末装置からの要求に対する応答として、前記号機情報で識別される前記注目号機の運行を制御するエレベータ制御装置から、前記注目号機の前記動作情報を取得し、取得した前記動作情報を前記端末装置へ送信するデータ送信システムを含む、
情報提供システム。
続きを表示(約 850 文字)
【請求項2】
前記動作情報は、前記注目号機の最新の移動方向を示す情報を含む、
請求項1に記載の情報提供システム。
【請求項3】
前記動作情報は、前記注目号機が位置する最新の階数を示す情報を含む、
請求項1に記載の情報提供システム。
【請求項4】
前記動作情報は、前記注目号機の最新の混雑状況を示す情報を含む、
請求項2または3に記載の情報提供システム。
【請求項5】
前記行先階登録装置は、前記端末装置から受信した前記呼び登録依頼を、前記エレベータ制御装置へ送信する、
請求項1に記載の情報提供システム。
【請求項6】
前記エレベータ制御装置は、前記呼び登録依頼に基づく呼びの登録可否を示す可否情報を、前記行先階登録装置を介して前記端末装置へ送信する、
請求項1に記載の情報提供システム。
【請求項7】
前記エレベータ制御装置は、前記可否情報が登録可を示す場合、前記号機情報を、前記行先階登録装置を介して前記端末装置へ送信する、
請求項6に記載の情報提供システム。
【請求項8】
前記行先階登録装置は、前記端末装置から受信した前記呼び登録依頼を、前記呼び登録依頼に対して前記号機の割当を行う群管理制御装置へ送信する、
請求項1に記載の情報提供システム。
【請求項9】
前記呼び登録依頼に対して前記号機の割当を行う群管理制御装置は、前記呼び登録依頼に基づく呼びの登録可否を示す可否情報を、前記行先階登録装置を介して前記端末装置へ送信する、
請求項1に記載の情報提供システム。
【請求項10】
前記群管理制御装置は、前記可否情報が登録可を示す場合、前記号機情報を、前記行先階登録装置を介して前記端末装置へ送信する、
請求項9に記載の情報提供システム。
(【請求項11】以降は省略されています)
発明の詳細な説明
【技術分野】
【0001】
本発明はエレベータを利用する利用者に情報を提供する情報提供システムに関する。
続きを表示(約 1,600 文字)
【背景技術】
【0002】
従来、スマートフォン等の端末装置を用いて行先階登録を行うことが可能なシステムが知られている。例えば、特許文献1には、エレベータ制御装置とスマホが直接接続して、スマホから行先階情報が送信され、エレベータ制御装置からは割当号機情報およびかご情報が送信される技術が開示されている。
【先行技術文献】
【特許文献】
【0003】
特開2014-118263号公報
【発明の概要】
【発明が解決しようとする課題】
【0004】
従来のシステムでは、利用者が多くなればなるほどエレベータ制御装置に負荷が掛かるという問題があった。また、利用者にエレベータ制御装置と接続するための設定情報を公開することも好ましくはなかった。
【0005】
本発明の一態様は、利用者の端末装置とエレベータ制御装置とが直接接続されることなく利用者の行先階呼びの登録を行い、さらに該利用者が利用する予定のエレベータ号機の動作状況に関する情報を当該利用者に提供することを目的とする。
【課題を解決するための手段】
【0006】
上記の課題を解決するために、本発明の一態様に係る情報提供システムは、複数階床を有する建物に設けられた1または複数の号機を備えるエレベータの前記号機の動作状況に関する動作情報を提供する情報提供システムであって、前記エレベータの利用者の端末装置であって、前記端末装置から行先階登録装置を介して送信された出発階および行先階を示す情報を含む呼び登録依頼に基づいて呼びが登録された注目号機を識別する号機情報を前記行先階登録装置から取得した前記端末装置からの要求に対する応答として、前記号機情報で識別される前記注目号機の運行を制御するエレベータ制御装置から、前記注目号機の前記動作情報を取得し、取得した前記動作情報を前記端末装置へ送信するデータ送信システムを含む。
【0007】
本発明の各態様に係る情報提供システムは、コンピュータによって実現してもよく、この場合には、コンピュータを前記情報提供システムが備える各部(ソフトウェア要素)として動作させることにより前記情報提供システムをコンピュータにて実現させる情報提供システムの制御プログラム、およびそれを記録したコンピュータ読み取り可能な記録媒体も、本発明の範疇に入る。
【発明の効果】
【0008】
本発明の一態様によれば、利用者の端末装置とエレベータ制御装置とが直接接続されることなく利用者の行先階呼びの登録を行い、さらに該利用者が利用する予定のエレベータ号機の動作状況に関する情報を当該利用者に提供することができる。
【図面の簡単な説明】
【0009】
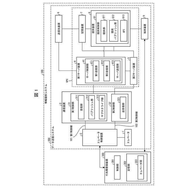
本発明の実施形態1に係る情報提供システムの構成を示すブロック図である。
初回のAPIの利用に基づくデータの流れの一例を示すシーケンスである。
送信モードに切り替わった後の、2回目以降のAPIの利用に基づくデータの流れの一例を示すシーケンスである。
APIの利用が所定期間なされなかった場合のデータの流れの一例を示すシーケンスである。
実施形態2に係る情報提供システムの構成を示すブロック図である。
【発明を実施するための形態】
【0010】
〔実施形態1〕
以下、本発明の一実施形態について、詳細に説明する。図1は、本発明の実施形態1に係る情報提供システム100の構成を示すブロック図である。本実施形態に係る情報提供システム100は、複数階床を有する建物に設けられた複数の号機を備えるエレベータ1の号機の動作状況に関する動作情報を提供するシステムである。
(【0011】以降は省略されています)
この特許をJ-PlatPat(特許庁公式サイト)で参照する
関連特許
フジテック株式会社
乗客コンベア
20日前
フジテック株式会社
マンコンベヤ
20日前
フジテック株式会社
マンコンベヤ
1か月前
フジテック株式会社
フック掛け器具
22日前
フジテック株式会社
情報提供システム
今日
フジテック株式会社
昇降路内作業装置
1日前
フジテック株式会社
マーカー設置治具
1か月前
フジテック株式会社
マーカー設置治具
1か月前
フジテック株式会社
エレベータ、及びエレベータの行先階登録装置
今日
フジテック株式会社
表示装置、表示制御方法、および、表示制御プログラム
22日前
フジテック株式会社
表示装置、表示制御方法、および、表示制御プログラム
28日前
フジテック株式会社
エレベータかご、エレベータ及びエレベータかごの製造方法
今日
フジテック株式会社
マンコンベヤ、保守装置及びマンコンベヤのステップ取り外し方法
28日前
フジテック株式会社
施工参照情報生成装置、施工参照情報生成方法、および、施工参照情報生成プログラム
20日前
個人
自走手摺
4か月前
個人
転落防止階段
28日前
個人
小型クレーン
22日前
ユニパルス株式会社
吊具
5か月前
個人
海上コンテナ昇降装置
11か月前
ユニパルス株式会社
荷役装置
10か月前
株式会社いうら
車椅子用昇降機
4か月前
株式会社豊田自動織機
産業車両
2か月前
株式会社豊田自動織機
荷役車両
11か月前
株式会社豊田自動織機
荷役車両
10か月前
水戸工業株式会社
吊り具
7か月前
ユニパルス株式会社
リフト装置
6か月前
株式会社大林組
安全支援システム
3か月前
個人
垂直自動搬送機
2か月前
株式会社伊藤
滑り止め装置
3か月前
白山工業株式会社
バランサ
8か月前
愛知製鋼株式会社
受け架台
3か月前
ユニパルス株式会社
荷役助力装置
4か月前
ユニパルス株式会社
荷役助力装置
7か月前
個人
エアバック式レスキュー用品
1か月前
ユニパルス株式会社
荷役助力装置
5か月前
岐阜工業株式会社
運搬台車
29日前
続きを見る
他の特許を見る