TOP
|
特許
|
意匠
|
商標
特許ウォッチ
Twitter
他の特許を見る
公開番号
2025173242
公報種別
公開特許公報(A)
公開日
2025-11-27
出願番号
2024078735
出願日
2024-05-14
発明の名称
エレベータ、及びエレベータの行先階登録装置
出願人
フジテック株式会社
代理人
弁理士法人藤本パートナーズ
主分類
B66B
1/14 20060101AFI20251119BHJP(巻上装置;揚重装置;牽引装置)
要約
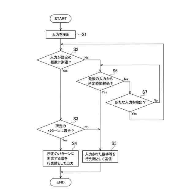
【課題】行先階の入力を短時間でできるエレベータ、及びエレベータの行先階登録装置を提供することを課題とする。
【解決手段】本発明のエレベータ、及びエレベータの行先階登録装置は、行先階を入力する入力部を備え、入力部からの入力が規定の桁数に達し且つ入力が行先階と対応する所定のパターンのときに、該入力が行先階として登録又は出力される。
【選択図】図1
特許請求の範囲
【請求項1】
行先階を入力する入力部を備え、
前記入力部からの入力が規定の桁数に達し且つ前記入力が行先階と対応する所定のパターンのときに、前記入力が行先階として登録される、エレベータ。
続きを表示(約 380 文字)
【請求項2】
前記規定の桁数が二桁以上であり、
前記所定のパターンは、前記規定の桁数より小さな桁数の行先階を登録する場合、前記規定の桁数において後詰めで前記行先階の階数に対応する英数字が入力されるように、前記後詰めの英数字より大きい桁に0が入力されたものである、請求項1に記載のエレベータ。
【請求項3】
前記規定の桁数が二桁以上であり、
前記所定のパターンに対応する行先階は、同じ一桁の英数字が全ての桁に入力された場合、前記一桁の英数字である、請求項1又は2に記載のエレベータ。
【請求項4】
行先階を入力する入力部を備え、
前記入力部からの入力が規定の桁数に達し且つ該入力が行先階と対応する所定のパターンのときに、前記入力された行先階についての情報を出力する、エレベータの行先階登録装置。
発明の詳細な説明
【技術分野】
【0001】
本発明は、エレベータ、及びエレベータの行先階登録装置に関する。
続きを表示(約 1,100 文字)
【背景技術】
【0002】
従来から、利用者が行先階を入力する行先階登録装置を備えたエレベータが知られている(特許文献1参照)。このエレベータでは、行先階登録装置に対し、行先階として、例えば、12階を入力(登録)する場合、一つ目の数字(1)が入力された後、二つ目の数字(2)の入力待ち時間が発生する。
【先行技術文献】
【特許文献】
【0003】
国際公開第2017/098620号公報
【発明の概要】
【発明が解決しようとする課題】
【0004】
上記のエレベータでは、行先階登録装置に対し、行先階として、例えば、3階を入力(登録)する場合であっても、一つ目の数字(3)が入力された後、二つ目の数字の所定の入力待ち時間が発生してしまい、この所定の入力待ち時間分だけ行先階の登録が遅れるため、利用者の快適性が損なわれる。
【0005】
そこで、本発明は、行先階の入力を短時間でできるエレベータ、及びエレベータの行先階登録装置を提供することを課題とする。
【課題を解決するための手段】
【0006】
本発明のエレベータは、
行先階を入力する入力部を備え、
前記入力部からの入力が規定の桁数に達し且つ前記入力が行先階と対応する所定のパターンのときに、前記入力が行先階として登録される。
【0007】
かかる構成によれば、入力部から所定のパターンとなるように規定の桁数の入力が行われることで、入力待ち時間なしに行先階の入力ができる、即ち、行先階の入力を短時間で行うことができる。
【0008】
前記エレベータにおいて、
前記規定の桁数が二桁以上であり、
前記所定のパターンは、前記規定の桁数より小さな桁数の行先階を登録する場合、前記規定の桁数において後詰めで前記行先階の階数に対応する英数字が入力されるように、前記後詰めの英数字より大きい桁に0が入力されたものであってもよい。
【0009】
かかる構成によれば、規定の桁数より小さな桁数の行先階を入力する際にも、入力する階数より大きい桁(入力順の早い桁)に0を入力する構成とすることで、入力待ち時間なしに行先階を入力することができる。
【0010】
また、前記エレベータでは、
前記規定の桁数が二桁以上であり、
前記所定のパターンに対応する行先階は、同じ一桁の英数字が全ての桁に入力された場合、前記一桁の英数字であってもよい。
(【0011】以降は省略されています)
この特許をJ-PlatPat(特許庁公式サイト)で参照する
関連特許
フジテック株式会社
乗客コンベア
20日前
フジテック株式会社
マンコンベヤ
20日前
フジテック株式会社
フック掛け器具
22日前
フジテック株式会社
情報提供システム
今日
フジテック株式会社
昇降路内作業装置
1日前
フジテック株式会社
エレベータ、及びエレベータの行先階登録装置
今日
フジテック株式会社
表示装置、表示制御方法、および、表示制御プログラム
22日前
フジテック株式会社
表示装置、表示制御方法、および、表示制御プログラム
28日前
フジテック株式会社
エレベータかご、エレベータ及びエレベータかごの製造方法
今日
フジテック株式会社
施工参照情報生成装置、施工参照情報生成方法、および、施工参照情報生成プログラム
20日前
個人
自走手摺
4か月前
個人
転落防止階段
28日前
個人
小型クレーン
22日前
ユニパルス株式会社
吊具
5か月前
個人
海上コンテナ昇降装置
11か月前
ユニパルス株式会社
荷役装置
10か月前
株式会社いうら
車椅子用昇降機
4か月前
株式会社豊田自動織機
産業車両
2か月前
株式会社豊田自動織機
荷役車両
11か月前
株式会社豊田自動織機
荷役車両
10か月前
水戸工業株式会社
吊り具
7か月前
ユニパルス株式会社
リフト装置
6か月前
株式会社大林組
安全支援システム
3か月前
個人
垂直自動搬送機
2か月前
株式会社伊藤
滑り止め装置
3か月前
白山工業株式会社
バランサ
8か月前
愛知製鋼株式会社
受け架台
3か月前
ユニパルス株式会社
荷役助力装置
4か月前
ユニパルス株式会社
荷役助力装置
7か月前
個人
エアバック式レスキュー用品
1か月前
ユニパルス株式会社
荷役助力装置
5か月前
岐阜工業株式会社
運搬台車
29日前
大栄産業株式会社
クランプ
6か月前
個人
アウトリガー用転倒防止ベース
21日前
株式会社キトー
タイヤ用吊具
7か月前
株式会社ユピテル
システム等
7か月前
続きを見る
他の特許を見る