TOP
|
特許
|
意匠
|
商標
特許ウォッチ
Twitter
他の特許を見る
10個以上の画像は省略されています。
公開番号
2025165603
公報種別
公開特許公報(A)
公開日
2025-11-05
出願番号
2024069750
出願日
2024-04-23
発明の名称
フック掛け器具
出願人
フジテック株式会社
代理人
個人
,
個人
主分類
B66B
5/00 20060101AFI20251028BHJP(巻上装置;揚重装置;牽引装置)
要約
【課題】完成後のエレベータにとって不要な穴を開設することなく、墜落制止用器具におけるランヤード末端のフックを掛けることができるフック掛け器具を提供する。
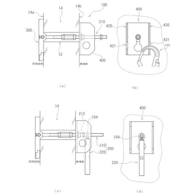
【解決手段】エレベータの設置工事において、乗場作業の際に身に着ける墜落制止用器具におけるランヤード末端のフックHkを掛けるフック掛け器具100であって、乗場側に設けられる機器からの配線を昇降路内へ引き込むため、昇降路壁14に開設された入線孔12に挿入される長手部材200と、長手部材200の昇降路側端部に取り付けられ、昇降路内壁14aに当接して、長手部材200の乗場側への抜け止めとなる抜け止め部材300と、長手部材200の乗場側露出部分に取り付けられ、フックHkが掛けられるフック掛け部材400とを含み、昇降路壁14に固定される構成とした。
【選択図】図9
特許請求の範囲
【請求項1】
エレベータの設置工事において、乗場作業の際に身に着ける墜落制止用器具におけるランヤード末端のフックを掛けるフック掛け器具であって、
乗場側に設けられる機器からの配線の昇降路内への引き込み用として昇降路壁に開設された入線孔に挿入される長手部材と、
前記長手部材の昇降路側端部に取り付けられ、昇降路内壁に当接して、前記長手部材の乗場側への抜け止めとなる抜け止め部材と、
前記長手部材の乗場側露出部分に取り付けられ、前記フックが掛けられるフック掛け部材と、
を含み、
前記昇降路壁に固定される構成とされていることを特徴とするフック掛け器具。
続きを表示(約 900 文字)
【請求項2】
前記抜け止め部材は、前記長手部材への取付部位を中心として、前記長手部材とT字状に交差する展開姿勢と、前記長手部材の長さ方向に沿った姿勢の折り畳み姿勢とに回転可能に前記長手部材に取り付けられており、
前記折り畳み姿勢の状態で、前記抜け止め部材を先頭に前記入線孔に、前記乗場側から前記抜け止め部材の全部が前記昇降路内へ突出するまで挿入でき、前記展開姿勢で、前記昇降路内壁に当接する構成とされていることを特徴とする請求項1に記載のフック掛け器具。
【請求項3】
前記折り畳みの姿勢で前記抜け止め部材の全部が前記昇降路内へ突出した状態で、前記抜け止め部材を前記折り畳み姿勢から前記展開姿勢に変更する姿勢変更手段を設けたことを特徴とする請求項2に記載のフック掛け器具。
【請求項4】
前記姿勢変更手段は、
前記抜け止め部材の前記取付部位から第1端部までの第1端部側部分の前記取付部材を中心とする力の第1モーメントが、第2端部までの第2端部側部分の力の第2モーメントよりも大きく設定されてなる構成であり、
前記第1端部側部分が前記長手部材に上方から当接するか、または、前記第2端部側部分が前記長手部材に下方から当接することにより前記折り畳み姿勢となり、
前記折り畳み姿勢から、前記長手部材をその軸心周りに半回転させることにより、前記第1モーメントと前記第2モーメントの大小関係に起因して、前記第1端部側部分が下方へ回転すると共に、前記第2端部側部分が上方へ回転して前記展開姿勢となることを特徴とする請求項3に記載のフック掛け器具。
【請求項5】
前記長手部材は、前記抜け止め部材が取り付けられた本体部と、当該本体部に取り付け取り外し可能に設けられた延長部とを含み、
少なくとも前記入線孔に挿入する際には、前記本体部に前記延長部を取り付けた状態とし、
前記昇降路壁に固定した状態では、前記本体部から前記延長部が取り外された状態で使用されることを特徴とする請求項1~4のいずれか1項に記載のフック掛け工具。
発明の詳細な説明
【技術分野】
【0001】
本発明は、フック掛け器具に関し、特に、エレベータの設置工事において、乗場作業の際に身に着ける墜落制止用器具(旧名称「安全帯」)におけるランヤード末端のフックを掛ける器具に関する。
続きを表示(約 1,600 文字)
【背景技術】
【0002】
エレベータの設置工事の開始前の建物は、建設工事で開設された昇降路と、昇降路と連通し、各階において乗場出入口となる開口部が開設されているだけである。エレベータの設置工事では、昇降路内だけでなく、各階の乗場、すなわち、前記開口部近傍においても各種の作業がなされる。
【0003】
例えば、三方枠、ドアクローザーおよび乗場扉の据付等である。前記据付等の乗場作業では、前記開口部から昇降路内への墜落による大けがを防止するため、作業員は墜落制止用器具を身に着け、そのランヤード末端のフックを適切な設備・器具に掛けて行う。
【0004】
ところが、エレベータ設置工事の初期段階では、前記開口部の近傍には、フックを掛けるのに適切な前記設備・器具が存在しない。このため、例えば、RC構造(鉄筋コンクリート構造)の建物の場合、前記開口部近傍の壁(昇降路外壁)にアンカーを打ち込み、当該アンカーの先端部部分にリング状の部材を固定し、当該リングにフックを掛けている。
【0005】
しかしながら、各階の乗場毎にアンカーを打ち込んだり、所定の乗場作業終了後に不要となったアンカーを取り除いたりといった作業は手間がかかる。また、アンカー打ち込みの為に開設する下穴は、当該乗場作業にだけ必要なものであり、エレベータの完成後(所定の乗場作業終了後)は、不要となるものである。
【0006】
特許文献1、特許文献2には、フックを掛けるための、各階の乗場毎に設けられた器具(特許文献1の安全帯フック装置30(図1、図2)、特許文献2の安全帯フック装置20(図3))が開示されている。しかし、いずれの器具もエレベータ完成後の保守点検の際に使用されるものであって、三方枠に設置されている(特許文献1の[0040]、図1、特許文献2の[0007]、[0008])。そして、当然のことながら、乗場作業の一環である三方枠の据付工事の際に使用することができない。
【先行技術文献】
【特許文献】
【0007】
特開2016-050047号公報
特開2011―190076号公報
【発明の概要】
【発明が解決しようとする課題】
【0008】
本発明は、上記した課題に鑑み、完成後のエレベータにとって不要な穴を開設することなく、エレベータの設置工事において、乗場作業の際に身に着ける墜落制止用器具におけるランヤード末端のフックを掛けることができるフック掛け器具を提供することを目的とする。
【課題を解決するための手段】
【0009】
上記の目的を達成するため、本発明に係るフック掛け器具は、エレベータの設置工事において、乗場作業の際に身に着ける墜落制止用器具におけるランヤード末端のフックを掛けるフック掛け器具であって、乗場側に設けられる機器からの配線の昇降路内への引き込み用として昇降路壁に開設された入線孔に挿入される長手部材と、前記長手部材の昇降路側端部に取り付けられ、昇降路内壁に当接して、前記長手部材の乗場側への抜け止めとなる抜け止め部材と、前記長手部材の乗場側露出部分に取り付けられ、前記フックが掛けられるフック掛け部材と、を含み、前記昇降路壁に固定される構成とされていることを特徴とする。
【0010】
また、前記抜け止め部材は、前記長手部材への取付部位を中心として、前記長手部材とT字状に交差する展開姿勢と、前記長手部材の長さ方向に沿った姿勢の折り畳み姿勢とに回転可能に前記長手部材に取り付けられており、前記折り畳み姿勢の状態で、前記抜け止め部材を先頭に前記入線孔に、前記乗場側から前記抜け止め部材の全部が前記昇降路内へ突出するまで挿入でき、前記展開姿勢で、前記昇降路内壁に当接する構成とされていることを特徴とする。
(【0011】以降は省略されています)
この特許をJ-PlatPat(特許庁公式サイト)で参照する
関連特許
フジテック株式会社
乗客コンベア
23日前
フジテック株式会社
マンコンベヤ
23日前
フジテック株式会社
マンコンベヤ
1か月前
フジテック株式会社
フック掛け器具
25日前
フジテック株式会社
情報提供システム
3日前
フジテック株式会社
昇降路内作業装置
4日前
フジテック株式会社
マンコンベヤ手摺ベルト及びマンコンベヤ
2日前
フジテック株式会社
エレベータ、及びエレベータの行先階登録装置
3日前
フジテック株式会社
表示装置、表示制御方法、および、表示制御プログラム
2日前
フジテック株式会社
表示装置、表示制御方法、および、表示制御プログラム
25日前
フジテック株式会社
表示装置、表示制御方法、および、表示制御プログラム
1か月前
フジテック株式会社
エレベータかご、エレベータ及びエレベータかごの製造方法
3日前
フジテック株式会社
マンコンベヤ、保守装置及びマンコンベヤのステップ取り外し方法
1か月前
フジテック株式会社
施工参照情報生成装置、施工参照情報生成方法、および、施工参照情報生成プログラム
23日前
個人
自走手摺
4か月前
個人
転落防止階段
1か月前
個人
小型クレーン
25日前
ユニパルス株式会社
吊具
5か月前
個人
海上コンテナ昇降装置
11か月前
ユニパルス株式会社
荷役装置
10か月前
株式会社いうら
車椅子用昇降機
4か月前
ユニパルス株式会社
リフト装置
6か月前
株式会社豊田自動織機
産業車両
2か月前
株式会社豊田自動織機
荷役車両
11か月前
株式会社豊田自動織機
荷役車両
10か月前
水戸工業株式会社
吊り具
7か月前
愛知製鋼株式会社
受け架台
3か月前
ユニパルス株式会社
荷役助力装置
7か月前
個人
エアバック式レスキュー用品
1か月前
ユニパルス株式会社
荷役助力装置
4か月前
白山工業株式会社
バランサ
8か月前
個人
垂直自動搬送機
2か月前
大栄産業株式会社
クランプ
6か月前
株式会社大林組
安全支援システム
3か月前
株式会社伊藤
滑り止め装置
3か月前
ユニパルス株式会社
荷役助力装置
5か月前
続きを見る
他の特許を見る