TOP
|
特許
|
意匠
|
商標
特許ウォッチ
Twitter
他の特許を見る
公開番号
2025164542
公報種別
公開特許公報(A)
公開日
2025-10-30
出願番号
2024068575
出願日
2024-04-19
発明の名称
表示装置、表示制御方法、および、表示制御プログラム
出願人
フジテック株式会社
代理人
弁理士法人 HARAKENZO WORLD PATENT & TRADEMARK
主分類
G06T
19/00 20110101AFI20251023BHJP(計算;計数)
要約
【課題】現実空間の位置に応じた配置で仮想オブジェクトをオーバーレイ表示する表示装置において、施工参照情報としてのデータのサイズを小さくし、データの作成の手間を少なくすることが可能な表示装置を提供する。
【解決手段】オーバーレイ表示のための表示データから、仮想オブジェクトに関する施工参照情報(D)を読み出して表示する表示制御部(21)を備え、表示データは、複数の特定階に共通のデータを共通階データ(D2・D3)として含んでおり、表示制御部(21)は、特定階に関して施工参照情報(D)を表示する際には、共通階データ(D2・D3)を読み出す。
【選択図】図1
特許請求の範囲
【請求項1】
エレベータの昇降路および乗場の少なくともいずれか一方を含む現実空間を視る作業者の視界、または、前記現実空間を表す画像に対し、前記現実空間の位置に応じた配置で仮想オブジェクトをオーバーレイ表示する表示装置であって、
前記オーバーレイ表示のための表示データから、前記仮想オブジェクトに関する施工参照情報を読み出して表示する表示制御部を備え、
前記表示データは、複数の特定階に共通のデータを共通階データとして含んでおり、
前記表示制御部は、前記特定階に関して前記施工参照情報を表示する際には、前記共通階データを読み出す、表示装置。
続きを表示(約 890 文字)
【請求項2】
前記施工参照情報を表示する前記現実空間の位置を認識する位置認識部を備え、
前記位置認識部によって認識された階が前記特定階である場合に、前記表示制御部は、前記共通階データを読み出して前記施工参照情報を表示する、請求項1に記載の表示装置。
【請求項3】
前記表示制御部は、前記作業者によって指示入力された階が前記特定階である場合に、前記共通階データを読み出して前記施工参照情報を表示する、請求項1に記載の表示装置。
【請求項4】
前記エレベータが設けられる建築物の階のそれぞれに対応した位置に設置されたマーカーのうち、前記作業者が存在している前記階に対応する前記マーカーを、前記作業者からの指示に応じて画像認識することによって、前記エレベータの前記昇降路を含む前記現実空間の位置を認識する位置認識部を備え、
前記表示制御部は、前記作業者によって指示入力された階に対応する前記表示データを読み出して、前記施工参照情報を、前記作業者が存在している前記階に対応する前記現実空間に表示する、請求項1に記載の表示装置。
【請求項5】
エレベータの昇降路および乗場の少なくともいずれか一方を含む現実空間を視る作業者の視界、または、前記現実空間を表す画像に対し、前記現実空間の位置に応じた配置で仮想オブジェクトをオーバーレイ表示する表示制御方法であって、
前記オーバーレイ表示のための表示データから、前記仮想オブジェクトに関する施工参照情報を読み出して表示する表示制御ステップを有し、
前記表示データは、複数の特定階に共通のデータを共通階データとして含んでおり、
前記表示制御ステップにおいて、前記特定階に関して前記施工参照情報を表示する際には、前記共通階データを読み出す、表示制御方法。
【請求項6】
請求項1に記載の表示装置としてコンピュータを機能させるための表示制御プログラムであって、前記表示制御部としてコンピュータを機能させるための表示制御プログラム。
発明の詳細な説明
【技術分野】
【0001】
本発明は、建築物の施工対象となる現実空間を視る作業者の視界、または、現実空間を表す画像に対し、現実空間の位置に応じた配置で仮想オブジェクトをオーバーレイ表示する表示装置に関する。
続きを表示(約 2,100 文字)
【背景技術】
【0002】
従来、建設作業などにおいて、作業者に装着されるスマートグラスなどの表示装置に、施工作業に必要な情報を現実空間と重ね合わせて表示させた状態で施工作業を行う手法が提案されている。例えば特許文献1には、現実空間をスキャンして空間形状を認識し、図面データを現実空間に合わせてスケーリングして、現実空間にマッピングして表示する投影装置が開示されている。
【先行技術文献】
【特許文献】
【0003】
特開2018-163466号公報
【発明の概要】
【発明が解決しようとする課題】
【0004】
上記の技術を利用して、施工対象物の設置位置を表す画像を作業対象となる現実空間にオーバーレイ表示させることが考えられる。例えばビルの建設において、エレベータの昇降路や乗場を施工する場合に、このオーバーレイ表示の技術を利用することが考えられる。昇降路はビルの最下階と最上階との間に設けられ、上下に長い構造となっている。また乗場は各階に設けられる。このような昇降路や乗場には多数の各種部材が設置されるため、オーバーレイ表示を行うための施工参照情報としてのデータは膨大なものとなる。また、このような膨大なデータの作成に必要とされる手間も大きくなるという問題がある。
【0005】
本発明の一態様は、現実空間の位置に応じた配置で仮想オブジェクトをオーバーレイ表示する表示装置において、施工参照情報としてのデータのサイズを小さくし、データの作成の手間を少なくすることが可能な表示装置を提供することを目的とする。
【課題を解決するための手段】
【0006】
上記の課題を解決するために、本発明に係る表示装置は、エレベータの昇降路および乗場の少なくともいずれか一方を含む現実空間を視る作業者の視界、または、前記現実空間を表す画像に対し、前記現実空間の位置に応じた配置で仮想オブジェクトをオーバーレイ表示する表示装置であって、前記オーバーレイ表示のための表示データから、前記仮想オブジェクトに関する施工参照情報を読み出して表示する表示制御部を備え、前記表示データは、複数の特定階に共通のデータを共通階データとして含んでおり、前記表示制御部は、前記特定階に関して前記施工参照情報を表示する際には、前記共通階データを読み出す、構成である。
【0007】
上記の課題を解決するために、本発明に係る表示制御方法は、エレベータの昇降路および乗場の少なくともいずれか一方を含む現実空間を視る作業者の視界、または、前記現実空間を表す画像に対し、前記現実空間の位置に応じた配置で仮想オブジェクトをオーバーレイ表示する表示制御方法であって、前記オーバーレイ表示のための表示データから、前記仮想オブジェクトに関する施工参照情報を読み出して表示する表示制御ステップを有し、前記表示データは、複数の特定階に共通のデータを共通階データとして含んでおり、前記表示制御ステップにおいて、前記特定階に関して前記施工参照情報を表示する際には、前記共通階データを読み出す、方法である。
【0008】
本発明の各態様に係る表示装置は、コンピュータによって実現してもよく、この場合には、コンピュータを前記表示装置が備える各部(ソフトウェア要素)として動作させることにより前記表示装置をコンピュータにて実現させる表示制御プログラム、およびそれを記録したコンピュータ読み取り可能な記録媒体も、本発明の範疇に入る。
【発明の効果】
【0009】
本発明によれば、複数の特定階に関しては、共通階データを読み出して表示すればよいので、表示データのサイズを小さくすることができる。また、複数の特定階に関しては、共通階データを1つ作成すればよいので、表示データの作成の手間を削減できるとともに、表示データの修正時の手間も削減できるという効果を奏する。
【図面の簡単な説明】
【0010】
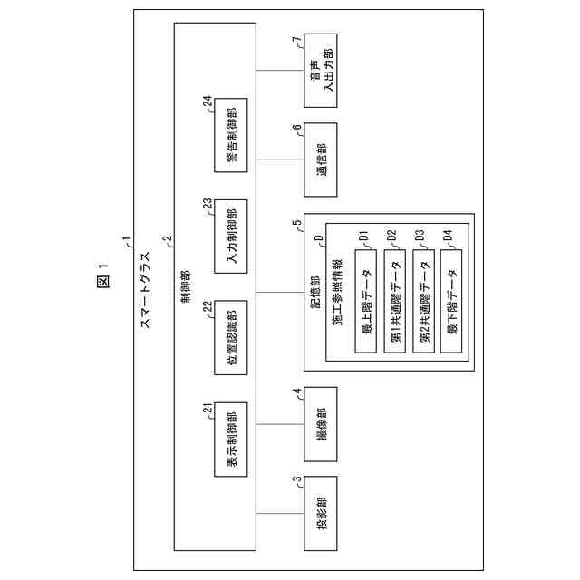
本発明の実施形態に係るスマートグラス1の構成の概略を示すブロック図である。
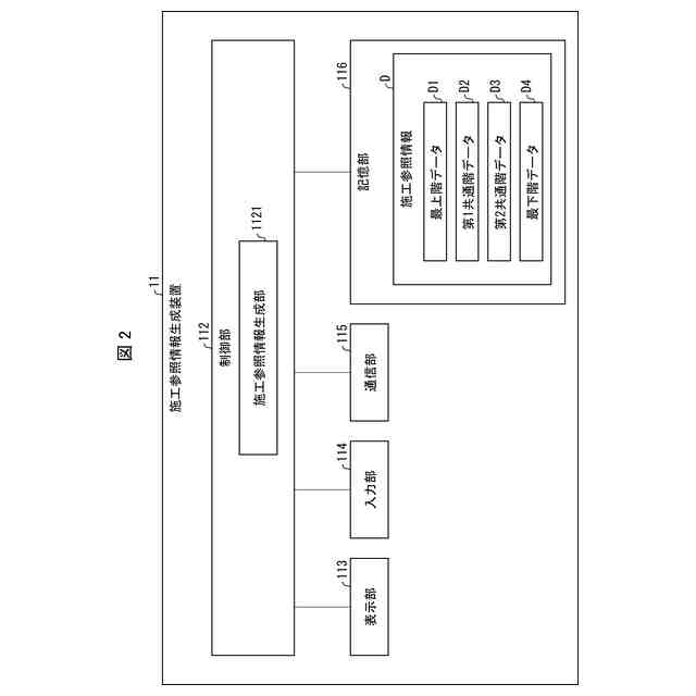
本発明の実施形態に係る施工参照情報生成装置11の概略構成を示すブロック図である。
本実施形態に係るスマートグラス(表示装置)1が安全ヘルメット111に装着された状態を示す図である。
エレベータの施工対象となるエレベータの乗場200および昇降路102の概略を示す斜視図である。
昇降路102の内側から開口部101を見た際の概略を示す斜視図である。
仮想オブジェクトOBがオーバーレイ表示された状態の一例を示す図である。
建築物の一例として、1Fから6Fまでのフロアを有する建築物における昇降路102の側面断面図である。
本発明の実施形態に係るエレベータ施工方法の処理の流れを示すフローチャートである。
【発明を実施するための形態】
(【0011】以降は省略されています)
この特許をJ-PlatPat(特許庁公式サイト)で参照する
関連特許
個人
詐欺保険
18日前
個人
縁伊達ポイン
18日前
個人
RFタグシート
5日前
個人
QRコードの彩色
22日前
個人
ペルソナ認証方式
2日前
個人
地球保全システム
1か月前
個人
自動調理装置
4日前
個人
農作物用途分配システム
17日前
個人
残土処理システム
24日前
個人
表変換編集支援システム
1か月前
個人
知的財産出願支援システム
25日前
個人
インターネットの利用構造
1日前
個人
タッチパネル操作指代替具
11日前
個人
スケジュール調整プログラム
10日前
個人
携帯端末障害問合せシステム
10日前
個人
パスワード管理支援システム
1か月前
株式会社キーエンス
受発注システム
1か月前
個人
システム及びプログラム
1か月前
個人
エリアガイドナビAIシステム
2日前
株式会社キーエンス
受発注システム
1か月前
個人
海外支援型農作物活用システム
1か月前
個人
AIキャラクター制御システム
1か月前
株式会社キーエンス
受発注システム
1か月前
個人
食品レシピ生成システム
1か月前
個人
未来型家系図構築システム
1か月前
大同特殊鋼株式会社
疵判定方法
1か月前
個人
人格進化型対話応答制御システム
1か月前
キヤノン株式会社
表示システム
1か月前
個人
SaaS型勤務調整支援システム
1か月前
個人
音声対話型帳票生成支援システム
1か月前
個人
音声・通知・再配達UX制御構造
25日前
キヤノン株式会社
印刷システム
10日前
個人
帳票自動生成型SaaSシステム
25日前
エッグス株式会社
情報処理装置
11日前
トヨタ自動車株式会社
通知装置
8日前
個人
社会還元・施設向け供給支援構造
1か月前
続きを見る
他の特許を見る