TOP
|
特許
|
意匠
|
商標
特許ウォッチ
Twitter
他の特許を見る
10個以上の画像は省略されています。
公開番号
2025158738
公報種別
公開特許公報(A)
公開日
2025-10-17
出願番号
2024061587
出願日
2024-04-05
発明の名称
マーカー設置治具
出願人
フジテック株式会社
代理人
弁理士法人 HARAKENZO WORLD PATENT & TRADEMARK
主分類
B66B
7/00 20060101AFI20251009BHJP(巻上装置;揚重装置;牽引装置)
要約
【課題】現実空間の位置に応じた配置で仮想オブジェクトをオーバーレイ表示する表示装置が前記現実空間の位置を認識するためのマーカーを設置する際に、位置精度が高く、かつ作業効率の良好なマーカー設置治具を提供する。
【解決手段】2つのマーカー(M1)がそれぞれ保持される2つのマーカー保持板(MJ1)と、2つのマーカー保持板(MJ1)の間の距離を調整する連結部材(MJ3)と、を備える。
【選択図】図6
特許請求の範囲
【請求項1】
エレベータの昇降路を含む現実空間を視る作業者の視界、または、前記現実空間を表す画像に対し、前記現実空間の位置に応じた配置で仮想オブジェクトをオーバーレイ表示する表示装置が前記現実空間の位置を認識するためのマーカーを設置するマーカー設置治具であって、
2つの前記マーカーがそれぞれ保持される2つのマーカー保持部材と、
2つの前記マーカー保持部材の間の距離を調整する距離調整部材と、を備えるマーカー設置治具。
続きを表示(約 330 文字)
【請求項2】
前記マーカー保持部材は、前記マーカーの面が水平となるように該マーカーを載置する載置面を備える、請求項1に記載のマーカー設置治具。
【請求項3】
前記昇降路内に位置基準として鉛直方向に設けられている基準線との相対位置を前記作業者に提示する位置基準部材をさらに備える、請求項1に記載のマーカー設置治具。
【請求項4】
前記マーカー保持部材は、当該マーカー保持部材が載置される面からの前記載置面の高さを変更するための高さ調整部材を備える、請求項2に記載のマーカー設置治具。
【請求項5】
当該マーカー設置治具の載置位置を前記現実空間に固定する固定部材をさらに備える、請求項1に記載のマーカー設置治具。
発明の詳細な説明
【技術分野】
【0001】
本発明は、エレベータの乗場および昇降路を含む現実空間を視る作業者の視界、または、現実空間を表す画像に対し、現実空間の位置に応じた配置で仮想オブジェクトをオーバーレイ表示する表示装置が前記現実空間の位置を認識するためのマーカーを設置するマーカー設置治具に関する。
続きを表示(約 1,900 文字)
【背景技術】
【0002】
従来、建設作業などにおいて、作業者に装着されるスマートグラスなどの表示装置に、施工作業に必要な情報を現実空間と重ね合わせて表示させた状態で施工作業を行う手法が提案されている。例えば特許文献1には、現実空間をスキャンして空間形状を認識し、図面データを現実空間に合わせてスケーリングして、現実空間にマッピングして表示する投影装置が開示されている。
【先行技術文献】
【特許文献】
【0003】
特開2018-163466号公報
【発明の概要】
【発明が解決しようとする課題】
【0004】
建築物の建設途中段階では、エレベータの昇降路と乗場との間には扉が設置されていない状況がある。このような状況において、作業員がスマートグラスを着用し、現実空間の位置認識作業を行うことが想定される。位置認識作業では、現実空間の位置を認識するためのマーカーを現実空間に設置する必要がある。ここで、マーカーの設置位置は、オーバーレイ表示の位置精度に大きく影響するため、高い位置精度が必要とされる。また、昇降路の設計仕様は建築物によって異なるため、これに対応できるような治具が必要とされる。
【0005】
本発明の一態様は、現実空間の位置に応じた配置で仮想オブジェクトをオーバーレイ表示する表示装置が前記現実空間の位置を認識するためのマーカーを設置する際に、様々な設計仕様の昇降路に対応して、位置精度が高く、かつ作業効率の良好なマーカー設置治具を提供することを目的とする。
【課題を解決するための手段】
【0006】
上記の課題を解決するために、本発明に係るマーカー設置治具は、エレベータの昇降路を含む現実空間を視る作業者の視界、または、前記現実空間を表す画像に対し、前記現実空間の位置に応じた配置で仮想オブジェクトをオーバーレイ表示する表示装置が前記現実空間の位置を認識するためのマーカーを設置するマーカー設置治具であって、2つの前記マーカーがそれぞれ保持される2つのマーカー保持部材と、2つの前記マーカー保持部材の間の距離を調整する距離調整部材と、を備える構成である。
【発明の効果】
【0007】
本発明によれば、マーカーが2か所に設けられるので、オーバーレイ表示の位置の基準が2か所となり、より的確にオーバーレイ表示位置を設定することができる。また、マーカー保持部材の間の距離を調整することができるので、エレベータの昇降路や乗場の設計仕様などに応じて最適なマーカー間距離となるように2つのマーカーを配置することができるという効果を奏する。
【図面の簡単な説明】
【0008】
仮想オブジェクトOBがオーバーレイ表示された状態の一例を示す図である。
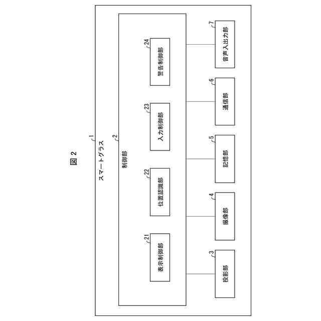
本発明の実施形態に係るスマートグラス1の構成の概略を示すブロック図である。
スマートグラス1が作業用ヘルメット11に装着された状態を示す図である。
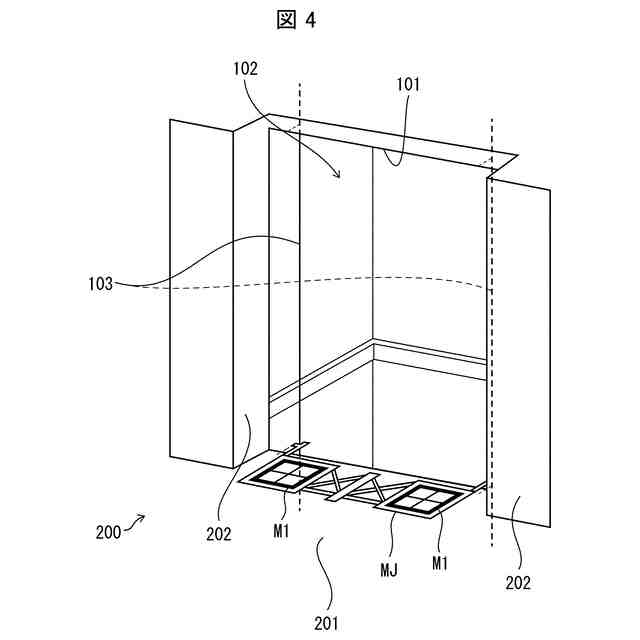
エレベータの施工対象となるエレベータの乗場200および昇降路102の概略を示す斜視図である。
昇降路102の内側から開口部101を見た際の概略を示す斜視図である。
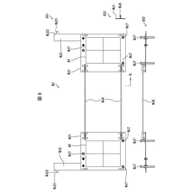
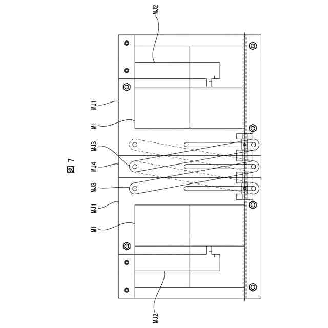
マーカー設置治具MJの平面図、側面図、および矢視断面図である。
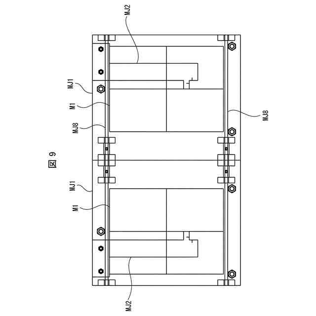
図6に示すマーカー設置治具MJにおいて、一対のマーカー保持板MJ1同士の間の距離を最も縮めた状態を示す平面図である。
変形例1としてのマーカー設置治具MJの平面図、側面図、および矢視断面図である。
図8に示すマーカー設置治具MJにおいて、一対のマーカー保持板MJ1同士の間の距離を最も縮めた状態を示す平面図である。
変形例2としてのマーカー設置治具MJの平面図、側面図である。
図11に示すマーカー設置治具MJを折りたたんだ状態を示す側面図である。
本発明の実施形態に係るエレベータ施工方法の処理の流れを示すフローチャートである。
【発明を実施するための形態】
【0009】
以下、本発明の一実施形態について、詳細に説明する。
【0010】
(スマートグラス適用例の概要)
図3は、本実施形態に係るスマートグラス(表示装置)1が安全ヘルメット11に装着された状態を示す図である。本実施形態では、建築物の建造途中においてエレベータの施工を行う作業者が安全ヘルメット11とともにスマートグラス1を着用する状況が想定されている。
(【0011】以降は省略されています)
この特許をJ-PlatPat(特許庁公式サイト)で参照する
関連特許
フジテック株式会社
マンコンベヤ
9日前
フジテック株式会社
マーカー設置治具
14日前
フジテック株式会社
マーカー設置治具
14日前
フジテック株式会社
情報提供システム
14日前
フジテック株式会社
ロボット管理装置、ロボット、及びプログラム
21日前
フジテック株式会社
表示装置、表示制御方法、および、表示制御プログラム
1日前
フジテック株式会社
マンコンベヤ、保守装置及びマンコンベヤのステップ取り外し方法
1日前
個人
自走手摺
3か月前
個人
転落防止階段
1日前
ユニパルス株式会社
吊具
4か月前
個人
海上コンテナ昇降装置
10か月前
ユニパルス株式会社
吊具装置
11か月前
ユニパルス株式会社
荷役装置
9か月前
水戸工業株式会社
吊り具
6か月前
ユニパルス株式会社
リフト装置
5か月前
株式会社豊田自動織機
荷役車両
9か月前
株式会社豊田自動織機
荷役車両
10か月前
株式会社いうら
車椅子用昇降機
3か月前
株式会社豊田自動織機
産業車両
1か月前
株式会社豊田自動織機
産業車両
11か月前
ユニパルス株式会社
荷役助力装置
4か月前
ユニパルス株式会社
荷役助力装置
3か月前
大栄産業株式会社
クランプ
5か月前
株式会社大林組
安全支援システム
2か月前
株式会社伊藤
滑り止め装置
2か月前
岐阜工業株式会社
運搬台車
2日前
個人
垂直自動搬送機
1か月前
個人
エアバック式レスキュー用品
24日前
愛知製鋼株式会社
受け架台
2か月前
ユニパルス株式会社
荷役助力装置
6か月前
白山工業株式会社
バランサ
7か月前
株式会社ユピテル
システム等
6か月前
株式会社キトー
タイヤ用吊具
6か月前
株式会社豊田自動織機
フォークリフト
1か月前
フジテック株式会社
エレベータ
9か月前
新英運輸株式会社
自動車用台車
6か月前
続きを見る
他の特許を見る