TOP
|
特許
|
意匠
|
商標
特許ウォッチ
Twitter
他の特許を見る
10個以上の画像は省略されています。
公開番号
2025158737
公報種別
公開特許公報(A)
公開日
2025-10-17
出願番号
2024061586
出願日
2024-04-05
発明の名称
マーカー設置治具
出願人
フジテック株式会社
代理人
弁理士法人 HARAKENZO WORLD PATENT & TRADEMARK
主分類
B66B
7/00 20060101AFI20251009BHJP(巻上装置;揚重装置;牽引装置)
要約
【課題】現実空間の位置に応じた配置で仮想オブジェクトをオーバーレイ表示する表示装置が前記現実空間の位置を認識するためのマーカーを設置する際に、位置精度が高く、かつ作業効率の良好なマーカー設置治具を提供する。
【解決手段】昇降路内に位置基準として鉛直方向に設けられている基準線との相対位置を作業者に提示する位置照合板(MJ2)と、マーカー(M1)が保持されるマーカー保持板(MJ1)と、を備える。
【選択図】図6
特許請求の範囲
【請求項1】
エレベータの昇降路を含む現実空間を視る作業者の視界、または、前記現実空間を表す画像に対し、前記現実空間の位置に応じた配置で仮想オブジェクトをオーバーレイ表示する表示装置が前記現実空間の位置を認識するためのマーカーを設置するマーカー設置治具であって、
前記昇降路内に位置基準として鉛直方向に設けられている基準線との相対位置を前記作業者に提示する位置基準部材と、
前記マーカーが保持されるマーカー保持部材と、を備えるマーカー設置治具。
続きを表示(約 530 文字)
【請求項2】
前記位置基準部材は、前記基準線に垂直な水平面、および、該水平面に設けられ、前記基準線が配置されることが想定される位置に対して少なくとも2方向から所定の距離をおいて対向する位置に設けられる基準位置提示部を備える、請求項1に記載のマーカー設置治具。
【請求項3】
前記位置基準部材は、2本の前記基準線にそれぞれ対応して2つ設けられている、請求項1に記載のマーカー設置治具。
【請求項4】
2つの前記位置基準部材の間の距離を調整する距離調整部材をさらに備える、請求項3に記載のマーカー設置治具。
【請求項5】
前記マーカー保持部材は、前記マーカーの面が水平となるように該マーカーを載置する載置面を備え、該マーカー保持部材が2か所に設けられる、請求項1に記載のマーカー設置治具。
【請求項6】
前記マーカー保持部材は、当該マーカー保持部材が載置される面からの前記載置面の高さを変更するための高さ調整部材を備える、請求項5に記載のマーカー設置治具。
【請求項7】
当該マーカー設置治具の載置位置を前記現実空間に固定する固定部材をさらに備える、請求項1に記載のマーカー設置治具。
発明の詳細な説明
【技術分野】
【0001】
本発明は、エレベータの乗場および昇降路を含む現実空間を視る作業者の視界、または、現実空間を表す画像に対し、現実空間の位置に応じた配置で仮想オブジェクトをオーバーレイ表示する表示装置が前記現実空間の位置を認識するためのマーカーを設置するマーカー設置治具に関する。
続きを表示(約 1,800 文字)
【背景技術】
【0002】
従来、建設作業などにおいて、作業者に装着されるスマートグラスなどの表示装置に、施工作業に必要な情報を現実空間と重ね合わせて表示させた状態で施工作業を行う手法が提案されている。例えば特許文献1には、現実空間をスキャンして空間形状を認識し、図面データを現実空間に合わせてスケーリングして、現実空間にマッピングして表示する投影装置が開示されている。
【先行技術文献】
【特許文献】
【0003】
特開2018-163466号公報
【発明の概要】
【発明が解決しようとする課題】
【0004】
建築物の建設途中段階では、エレベータの昇降路と乗場との間には扉が設置されていない状況がある。このような状況において、作業員がスマートグラスを着用し、現実空間の位置認識作業を行うことが想定される。位置認識作業では、現実空間の位置を認識するためのマーカーを現実空間に設置する必要がある。ここで、マーカーの設置位置は、オーバーレイ表示の位置精度に大きく影響するため、高い位置精度が必要とされる。しかしながら、マーカーの設置位置を高めることは容易ではなく、精度を高めるために作業効率が低下することも想定される。
【0005】
本発明の一態様は、現実空間の位置に応じた配置で仮想オブジェクトをオーバーレイ表示する表示装置が前記現実空間の位置を認識するためのマーカーを設置する際に、位置精度が高く、かつ作業効率の良好なマーカー設置治具を提供することを目的とする。
【課題を解決するための手段】
【0006】
上記の課題を解決するために、本発明に係るマーカー設置治具は、エレベータの昇降路を含む現実空間を視る作業者の視界、または、前記現実空間を表す画像に対し、前記現実空間の位置に応じた配置で仮想オブジェクトをオーバーレイ表示する表示装置が前記現実空間の位置を認識するためのマーカーを設置するマーカー設置治具であって、前記昇降路内に位置基準として鉛直方向に設けられている基準線との相対位置を前記作業者に提示する位置基準部材と、前記マーカーが保持されるマーカー保持部材と、を備える構成である。
【0007】
上記の構成によれば、例えばピアノ線やレーザ光などの基準線との相対位置が作業者によって視認されながら、当該マーカー設置治具の配置位置が作業者によって調整されることによって、マーカーを適切な位置に容易に設置することができる。よって、マーカーの位置精度が高く、かつ、作業効率の良好なマーカー設置治具を提供することができる。
【発明の効果】
【0008】
本発明によればマーカーの位置精度が高く、かつ、作業効率の良好なマーカー設置治具を提供することができるという効果を奏する。
【図面の簡単な説明】
【0009】
仮想オブジェクトOBがオーバーレイ表示された状態の一例を示す図である。
本発明の実施形態に係るスマートグラス1の構成の概略を示すブロック図である。
スマートグラス1が作業用ヘルメット11に装着された状態を示す図である。
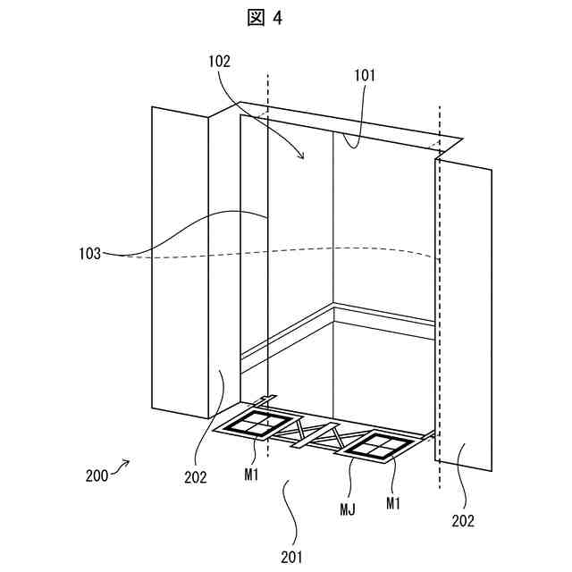
エレベータの施工対象となるエレベータの乗場200および昇降路102の概略を示す斜視図である。
昇降路102の内側から開口部101を見た際の概略を示す斜視図である。
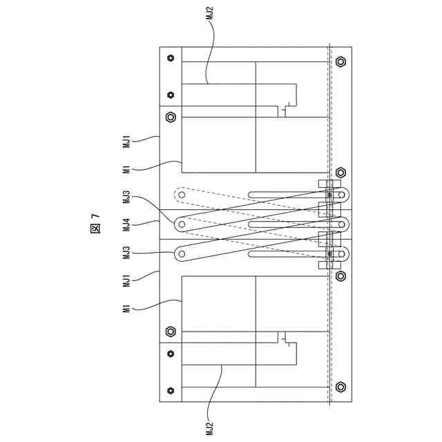
マーカー設置治具MJの平面図、側面図、および矢視断面図である。
図6に示すマーカー設置治具MJにおいて、一対のマーカー保持板MJ1同士の間の距離を最も縮めた状態を示す平面図である。
変形例1としてのマーカー設置治具MJの平面図、側面図、および矢視断面図である。
図8に示すマーカー設置治具MJにおいて、一対のマーカー保持板MJ1同士の間の距離を最も縮めた状態を示す平面図である。
変形例2としてのマーカー設置治具MJの平面図、側面図である。
図11に示すマーカー設置治具MJを折りたたんだ状態を示す側面図である。
本発明の実施形態に係るエレベータ施工方法の処理の流れを示すフローチャートである。
【発明を実施するための形態】
【0010】
以下、本発明の一実施形態について、詳細に説明する。
(【0011】以降は省略されています)
この特許をJ-PlatPat(特許庁公式サイト)で参照する
関連特許
フジテック株式会社
乗客コンベア
21日前
フジテック株式会社
マンコンベヤ
21日前
フジテック株式会社
情報提供システム
1日前
フジテック株式会社
昇降路内作業装置
2日前
フジテック株式会社
エレベータ、及びエレベータの行先階登録装置
1日前
フジテック株式会社
表示装置、表示制御方法、および、表示制御プログラム
23日前
フジテック株式会社
エレベータかご、エレベータ及びエレベータかごの製造方法
1日前
フジテック株式会社
施工参照情報生成装置、施工参照情報生成方法、および、施工参照情報生成プログラム
21日前
個人
自走手摺
4か月前
個人
転落防止階段
29日前
個人
小型クレーン
23日前
ユニパルス株式会社
吊具
5か月前
個人
海上コンテナ昇降装置
11か月前
ユニパルス株式会社
荷役装置
10か月前
株式会社いうら
車椅子用昇降機
4か月前
株式会社豊田自動織機
産業車両
2か月前
株式会社豊田自動織機
荷役車両
11か月前
株式会社豊田自動織機
荷役車両
10か月前
水戸工業株式会社
吊り具
7か月前
ユニパルス株式会社
リフト装置
6か月前
株式会社大林組
安全支援システム
3か月前
個人
垂直自動搬送機
2か月前
株式会社伊藤
滑り止め装置
3か月前
白山工業株式会社
バランサ
8か月前
愛知製鋼株式会社
受け架台
3か月前
ユニパルス株式会社
荷役助力装置
4か月前
ユニパルス株式会社
荷役助力装置
7か月前
個人
エアバック式レスキュー用品
1か月前
ユニパルス株式会社
荷役助力装置
5か月前
岐阜工業株式会社
運搬台車
1か月前
大栄産業株式会社
クランプ
6か月前
個人
アウトリガー用転倒防止ベース
22日前
株式会社キトー
タイヤ用吊具
7か月前
株式会社ユピテル
システム等
7か月前
株式会社豊田自動織機
フォークリフト
2か月前
株式会社豊田自動織機
フォークリフト
9か月前
続きを見る
他の特許を見る