TOP
|
特許
|
意匠
|
商標
特許ウォッチ
Twitter
他の特許を見る
10個以上の画像は省略されています。
公開番号
2025173450
公報種別
公開特許公報(A)
公開日
2025-11-27
出願番号
2024134668
出願日
2024-07-24
発明の名称
飛行体用ウインチ吊フック
出願人
ライセン株式会社
代理人
主分類
B66D
3/26 20060101AFI20251119BHJP(巻上装置;揚重装置;牽引装置)
要約
【課題】近年ドローンを使った物資の運搬の仕事が増え、運送用箱をドローンに吊上げたり、吊下ろしたりするウインチを取付ける事例が増えており,効率的に荷上げ、荷下ろしを行う必要があった。
【解決手段】吊フックの形状を三方から見ても近似楕円形状とし、荷下ろしする時には吊金具から吊フックが外れやすくなる形状や構造とし、荷上げする時にはドローンの吊フック収納口に収納しやすくした事を特徴とする。
【選択図】図3
特許請求の範囲
【請求項1】
飛行体下部に取付けたウインチと、ウインチに内蔵された制御部と、吊具を取り付けた搬送物をフッキングする吊フックと、前記ウインチに設けた前記吊フックを収納する収納ケースとからなり、前記吊フックはその上面、正面、両側面が近似楕円形状であり、前記収納ケースの前記吊フックの収納部入口の開口は、前記吊フックを略垂直状態で収容するための前記上面の近似楕円形状より略大きいことを特徴とした飛行体による搬送物搬送装置。
続きを表示(約 960 文字)
【請求項2】
前記吊フックの両側面の近似楕円形状の略長軸をまたいで始点を有する左右交互に下向きの一定角度の溝を設けたことを特徴とする請求項1記載の飛行体による搬送物搬送装置。
【請求項3】
前記ウインチ収納ケースの収納部入口の近似楕円形状の開口の直軸と短軸で4等分し、各1/4近似楕円形状はそれぞれ短軸と長軸の比を変えた形状となっている事を特徴とする吊フック収納口を持った請求項1記載の飛行体による搬送物搬送装置。
【請求項4】
前記収納ケースの前記吊フックの収納部入口の開口は、その近似楕円形状の短軸を中心として、山形に突出させた形状となっている事を特徴とする請求項1記載の飛行体による搬送物搬送装置。
【請求項5】
前記吊具は、一対の板状部材で構成され、各々の板状部材には前記吊フックによるフッキング用の開口部を有し、搬送箱への取付側の先端と先端から所定長さの位置でL字形に形成したことを特徴とする請求項1記載の飛行体による搬送物搬送装置。
【請求項6】
前記ウインチの回転制御を行う制御部を有する請求項1記載の飛行体による搬送物搬送装置。
【請求項7】
近似楕円形状の前記吊フックの収納部入口の開口の近似楕円形状の短軸をまたいで始点を有する左右交互に、ウインチケース収納ケース内部に向かって、かつ短軸側から長軸側へ一定の角度をつけた溝10が彫られている事を特徴とする請求項1記載の飛行体による搬送物搬送装置。
【請求項8】
前記吊フックとワイヤーの取り付け位置が前記吊フックの中心から略偏芯していることを特徴とする請求項1記載の飛行体による搬送物搬送装置。
【請求項9】
前記吊フックの両側面の近似楕円形状の略長軸を中心とした凸部を前記吊フックの上部中心から左右に設けた事を特徴とする請求項1記載の飛行体による搬送物搬送装置。
【請求項10】
前記ウインチ収納ケースの収納部入口の近似楕円形状の開口縁部に、前記近似楕円形状の開口の短軸を跨いで前記吊フック一対の位置規制部材を前記近似楕円形状の開口の中心に点対称で設けた事を特徴とする請求項1記載の飛行体による搬送物搬送装置。
発明の詳細な説明
【技術分野】
【0001】
本発明は、3つ以上のプロペラを上向き又は下向きに取付けて飛行を行うマルチコプターやマルチコプターの機能を加えた固定翼機(以下ドローンという)に荷物を上げ、下げするためのウインチを取付けた搬送物搬送装置に関するものである。
続きを表示(約 8,000 文字)
【背景技術】
【0002】
従来のドローンに取り付けられたウインチでは荷物をぶらさげたまま飛行を行い、指定地点で荷物を巻き下げて、荷物下ろしを行っていた。
【先行技術文献】
【0003】
【特許文献】
【】
US11,794,901
【発明の概要】
【発明が解決しようとする課題】
【0004】
近年、ドローンを使った物資の運搬の仕事が増え、ウインチをドローンに搭載し、ドローンを着陸させずに荷物だけを下ろすことが増えてきている。これはドローンの高度を保つことにより制御用無線が届きやすくなり、長距離の配送が可能となることや、不整地でも配送できる等のメリットがあった。しかし、ウインチに吊るしたまま飛行させると荷物が左右に振られて、ドローンの重心が常に変化し飛行が安定しないため高速飛行ができないという問題があった。
【課題を解決するための手段】
【0005】
前記課題を解決するために、請求項1の発明においては、飛行体下部に取付けたウインチと、ウインチに内蔵された制御部と、吊具を取り付けた搬送物をフッキングする吊フックと、ウインチケースに設けた吊フックを収納する収納ケースとからなり、前記吊フックはその上面、正面、両側面が近似楕円形状であり、前記収納ケースの前記吊フックの収納部入口の開口は、前記吊フックの前記上面の近似楕円形状より略大きいことを特徴とした飛行体による搬送物搬送装置であるため、搬送物をフッキングした吊フックを収納部入口の開口から収納ケースに容易に収納することができる。
請求項2の発明においては、前記吊フックの両側面の近似楕円形状の長軸線をまたいで始点を有する左右交互に下向きの一定角度の溝を設けたことで、吊フックが収納される時に吊フックの近似楕円形状の長軸と収納口の近似楕円形状の開口の短軸が特に直角方向になったときに吊フック回転を促し、その時の摩擦力を低減させることで近似楕円形状の開口から収納ケースにスムーズに収納をすることができる。
請求項3の発明においては、吊フックが回転し収納しやすくなるよう収納入口の近似楕円形状の開口の直軸と短軸で近似楕円形状を4等分し、それぞれの1/4近似楕円形状は短軸と長軸の比を変えた形状となっている。吊フックが収納部入口の開口に直角方向で入る時に、短軸と長軸の比を変えた形状との接点部に生じる、少し段差になっている所に接触することにより、回転を促し、収納部入口の開口に入りやすくなることに加え、収納部入口の開口の近似楕円形状も大きく崩れることなく保つことがでできる。
請求項4の発明においては、収納ケースの吊フックの収納部入口の開口は、その近似楕円形状の短軸を中心として、山形に突出させた形状となっているので、吊フックが直角方向で前記開口に入る時に、前記開口の周囲のアールが長径方向に傾いているため、吊フックの回転を促すようになっている。
請求項5の発明においては、吊具は、一対の板状部材で構成されている。そして、各々の板状部材には吊フックによるフッキング用の開口部を設け、搬送箱への取付側の先端と先端から所定長さの位置でL字形に形成したことにより、搬送中の搬送箱の姿勢を確実なものとしている。
請求項6の発明においては、もし、吊フックが収納部入口の開口でつまった時は、制御部がウインチを緩めて再度吊上げる事を繰り返して作動させ、吊フックが収納部入口の開口に入るよう導く制御を行う。こうすることによりウインチを緩めた時に吊フックの位置が少し変わるため収納部入口の開口に入りやすくなる。
同様に請求項7では、ウインチに設けた収納ケースの収納部の近似楕円形状の収納部入口の開口の短軸をまたいで始点を有する左右交互に、ウインチケース収納ケース内部に向かって、かつ短軸側から長軸側へ一定の角度をつけた溝を設けることによって、吊フックの回転を促し、その時の摩擦力を低減させることで、吊フックの収納部入口の開口に入りやすくしている。
請求項8の発明においては、前記吊フックのワイヤーの取付位置を中心から少し偏芯させている。この偏芯により、前記吊フックが収納部入口の開口に当接し、さらに引き上げ力を加えると前記吊フックが傾くことにより収納部入口の開口との接触部の位置が変わり回転を促し、近似楕円形状の収納部入口の開口に入り易くなっている。
請求項9の発明においては、前記吊フックの両側面の近似楕円形状の略長軸線を中心とした凸部を前記吊フック上部中心から左右に設ける。前記凸部は全周にわたり設けてもよいし、上部半周だけでよい。この凸部は吊フックが収納される時に吊フックの近似楕円形状の長軸と収納口の近似楕円形状の開口の短軸が特に直角方向になったときに吊フックの摩擦力を低減させることで、近似楕円形状の開口から収納ケースにスムーズに収納をすることができる。
請求項10の発明においては、前記ウインチケースの収納部入口の近似楕円形状の開口縁部に、前記近似楕円形状の開口の短軸を跨いで前記吊フックの一対の位置規制部材を前記近似楕円形状の開口の中心に点対称で設けている。吊フックの位置規制部材は一方が高く他方側に向って低く傾斜した面には少しアールをつけている。前記凸部の前記傾斜面と頂部を中心とした反対側も傾斜している。吊フックが収納される時に吊フックの近似楕円形状の長軸と収納口の近似楕円形状の開口の短軸が特に直角方向になった時に吊フックが前記位置規制部材の傾斜面に乗り上げることのより吊フックに回転を促すことで近似楕円形状の開口から収納ケースにスムーズに収納することができる。
【発明の効果】
【0006】
以上のように、本発明による飛行体による搬送物搬送装置においては、搬送物をフッキングした吊フックが収納部入口の開口を通って収納ケースに安定した状態で収納され、搬送中の搬送物の姿勢が安定をすることでマルチコプターの重心が安定して高速飛行ができる。
【図面の簡単な説明】
【0007】
吊フック 上から見た図
吊フック 正面から見た図
吊フック 側面から見た図
吊フック 吊ワイヤーを偏芯して取付けた時の図
吊金具 正面図
吊金具 側面図
ウインチケース吊フック収納部口プレート平面図(C方向から見た図)
ウインチケース吊フック収納口プレートをA-A部で山形に突出させた例の平面図(C方向から見た図)
ウインチケース吊フック収納口プレートをA-A部で山形に突出させた例のB-B断面図
ウインチケース吊フック収納口プレート平面図(C方向から見た図)(1/4楕円の比率を変えた場合)
ウインチケースの吊フック収納ケース収納口断面図(A-A断面)
溝の付いた吊フックを側面から見た図
ウインチケース吊フック収納プレートの収納口で溝付のものの平面図(C方向から見た図)
吊フックに凸部を設けた時の上から見た図
吊フックに凸部を設けた時の正面から見た図
吊フックに凸部を設けた時の側面から見た図
ウインチケース吊フック収納部口プレート平面図(C方向から見た図)
ウインチケース吊フック収納部口B-B矢視図
ウインチをドローンに取付けた例(ウインチケースに吊フックを収納)
ウインチをドローンに取付けた例(吊フックを吊下げ)
搬送箱が地面に接地し吊フックが外れた状態
【発明を実施するための形態】
【0008】
図1から図16は本発明に係る飛行体による搬送物搬送装置の実例を示す。
図1、図2、図3は吊フックの形状図である。
吊フックは、どの方向から見ても近似楕円形状又は楕円の中心水平線あたりを伸ばした形状となっている。
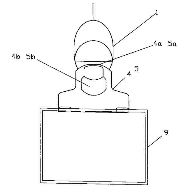
ウインチのワイヤー先端に取付ける吊フック1の形状は、上面、正面におよび両側面から見ると近似楕円形状である。この吊フック1の下部はえぐり込まれたフック形状となっており、荷物となる搬送箱(段ボール箱等)に取付けた、一対の板状部材で作られた吊金具4に引掛けて吊上げるようになっている。
吊フック下部は、埋込まれたフック形状となっており、フック1を収納する時に吊フック収納ケースと干渉しないようになっている。
図4の吊フックのワイヤー取付部は中心から偏芯させて設けてあり収納する時に回転を促すようにしている。吊金具から外れた時には傾いて巻き上げた時に吊金具に引かからないようになっている。
【0009】
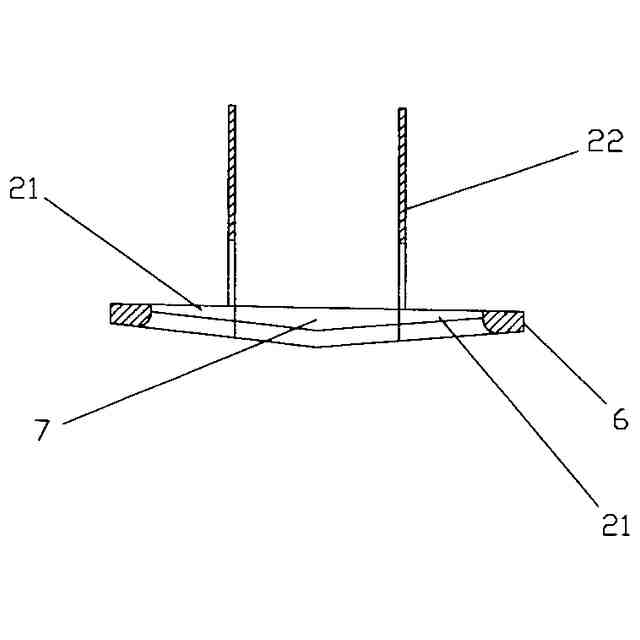
図5、図6には、段ボール箱(搬送箱)に取付けた吊金具の形状図を示す。
吊金具は、一対の板状部材(例えば、アルミ製)で作られており、吊フックでフッキングする開口を各々の板状部材の一端側に設け、他端の先端と先端から一定長の個所をL形に2回曲げられ、段ボール箱(搬送箱)の上蓋に貫通して取付けられている。前記先端のL形折り曲げ部で段ボール箱(搬送箱)上蓋を貫通することにより、外れ止めとなっている。
図7、図8、図9、図10、図11には、ウインチケース吊フック収納プレートの形状図を示す。
この形状図はウインチ吊フック収納プレートを図19に示すように下から上(C方向)に見上げた時の図である。
図7に記載のウインチケース吊フック収納プレートは、吊フックを上面から見た近似楕円形状より少し大きな、同形状の開口が開いており、その周囲はアール又はテーパーがつけてある。吊フックがアール又はテーパー部分に接触した時に吊フックの上面から見た近似楕円形状の長軸径と同形状の開口の長軸径が合う方向に回転させる役目を持っている。
図8は、ウインチケース吊フック収納プレート開口をA-A部で山形に突出させた場合の例の平面図を示す。
図9は、ウインチケース吊フック収納プレートの開口をA-A部で山形に突出させた場合の例のB-B部の長手断面図を示す。前記開口周囲のアールが長軸径方向に傾いているため、吊フックの長軸径を開口の長軸径方向に回転させるよう促す役目を持っている。
図10は、近似楕円形状の開口ではあるが、その中心線で4等分し、その1/4近似楕円は、それぞれ短軸径と長軸径の比を変えた形状となっている。吊フックの上面から見た近似楕円形状の長軸径が開口の直軸径と直角方向から入って来た時に短軸径と長軸径の比を変えた接点に生じる段差に接触し回転を促す。
図11には、図7、図10のA-A断面を示す。
図12には、吊フックの長い辺の側面に近似楕円形状の長軸線をまたいで始点を有する左右交互に下向きに一定の角度つけた溝10が彫られている。溝でウインチケース吊フック収納プレートの開口部との摩擦力を減らし、その角度で長軸径が合う方向に回転を促す役目を持っている。
図13には、ウインチケース吊フック収納プレートの近似楕円形状の開口を示している。開口の周囲にはアール又はテーパーが付けられており、近似楕円形状の開口の短軸線をまたいで始点を有する左右交互に、ウインチ収納ケース内部に向かって、かつ短軸側から長軸側へ一定の角度をつけた溝10が彫られている例を示す。溝でウインチケース吊フック収納プレートの開口部との摩擦力を減らし、その角度で長軸径が合う方向に回転を促す役目を持っている。
図19には、ウインチをドローンに取付け搬送箱を吊上げて上限に達した状態を示している。吊フック収納ケースの中に吊フックを最も上限まで収納することにより、搬送箱の方向が決まる。又ウインチケースに取付けたスプリングで半固定することができる。
【0010】
図20は、搬送箱を吊下げ途中の状態、図21は吊下げて、搬送箱が地面に接地した後の状態を示している。
搬送箱が地面に接地後、さらに吊フックを下げることにより吊金具の上部が吊フックの中央の傾斜部に当接し、傾斜部に沿って滑り落ちて自動で外れ、外れたあと吊ワイヤー取付部の偏芯により吊フックが傾き、吊上げる時に再び吊金具にかからないようになっている。
図20に示すように、搬送箱(段ボール箱等)を吊上げていくと、図19に示すように吊フック1はマルチコプター下部の吊フック収納ケース部22に収納される構造であるが、図7や図8に示すように、ウインチケース吊フック収納プレート6の収納部入口には吊フック1を上面から見た近似楕円形状と同じ形状で少し大きなウインチケース吊フック収納口7の開口が開けられている。吊フックがこの開口に収納される時に吊フックの近似楕円形状の長軸径と短軸径の形状の違いから荷物の方向を決めることができる。
吊フック1がワイヤーに吊られてウインチケース14下面のウインチケース吊フック収納プレート6に開口したウインチケース吊フック収納口7の中心から入ろうとした時には、ウインチケース吊フック収納口7の開口周囲のアール部分に吊フック1上部の近似楕円形状の長軸部分が接触する。するとウインチケース吊フック収納口7の開口の長軸部ではない場所であれば前記開口に入らないので、長軸に近い方側に回転し、前記開口に入ろうとする。吊フック1をそのまま引き上げていくと近似楕円形状の吊フック1が、近似楕円形状の前記開口に収納される。この時に回転を妨げるのは接触部の摩擦力であり、摩擦力が強いと前記開口入口で引っかかることになる。
本実施例においては、図12に示すように、前記近似楕円形状の吊フック1の長軸の側面には、近似楕円形状の長軸線をまたいで始点を有する左右交互に下向きに一定の角度をつけた溝10が彫られている事を特徴としている。
これは吊フック1が収納される時に吊フック1の近似楕円形状の長軸とウインチケース吊フック収納口7の開口の短軸が特に直角方向になったときに吊フック1が前記開口に入らなくなるので前記開口に入りやすくなるよう回転を促す役目とその時の摩擦力を低減させる役目を持たせてある。
また、本実施例においては、吊フック1が回転し収納しやすくなるようウインチケース吊フック収納口7の近似楕円形状の前記開口をその中心線で4等分し、それぞれの1/4近似楕円形状は短軸と長軸の比を変えた形状となっている。吊フック1が直角方向で前記開口に入る時に、短軸と長軸の比を変えた形状との接点部に生じる、少し段差になっている所に接触することにより、回転を促し、前記開口に入りやすくなることに加え、前記開口の近似楕円形状も大きく崩れることもなく保つことができる。
本実施例においては、図8に示すように、収納ケース22のウインチケース吊フック収納プレート6のウインチケース吊フック収納部入口7は、その長軸方向の中心線を中心として、山形に突出させた形状となっており、吊フック1が穴の短軸径と吊フックの長軸径が直角方向でウインチケース吊フック収納部入口7の開口に入る時に、前記開口部の周囲のアールが長径方向に傾いているため、吊フック1を長径方向に回転するよう促すようになっている。
本実施例においては、図5および図6に示すように、吊金具(4、5)は一対の板状部材で作られており、その一端には吊フック1をフッキングする吊金具の開口(4b、5b)を設けている。リングの左右にタブが伸びており、そのタブの下側が、吊金具の開口(4b、5b)の他端は、搬送箱(段ボール箱等)の天板を貫通したあと、他端から一定距離の箇所で水平にL字に左右に曲げられており、この部分をテープで止めて搬送箱(段ボール箱等)の荷重を受けている。又、他端の先端部分ではもう一度L字に折り曲げ、上を向けて搬送箱(段ボール箱等)蓋を貫通させて安全抜け止め対策としている。又吊金具は材質をプラスチック等に変えて4、5を1つのものとして作ることもできる。
もし吊フック1が前記開口入口でつまった時は、本実施例では、ウインチに内蔵された制御部により、吊ワイヤーを1度緩めて再度吊上げる事を繰り返して作動させ、吊フック1が前記開口に入るよう導く制御を取る。こうすることにより吊ワイヤーを緩めた時に吊フック1の位置が少し変わるため前記開口に入りやすくなる。
同様に本実施例では図13に示すように、ウインチケース吊フック収納プレート6のウインチケース吊フック収納入口7の近似楕円形状の開口の短軸またいで始点を有する左右交互にウインチケース吊フック収納プレートを取付けた状態でその開口周囲のアール部にウインチ収納ケース内部に向かって、かつ短軸側から長軸側へ一定の角度をつけた溝10が彫られている事を特徴としている。効果は吊フック1が収納される時に吊フック1の近似楕円形状の長軸とウインチケース吊フック収納口7の開口の短軸が特に直角方向になったときに吊フック1が前記開口に入らなくなるので、前記開口に入りやすくなるよう回転を促す役目とその時の摩擦力を低減させる役目を持たせてある。
本実施例においては、図4に示すように、前記吊フック1の吊ワイヤー取付部11の位置を中心から少し偏芯させて取付ける。偏芯させると吊フック1がウインチケース吊フック収納入口7の開口に収納される時に吊フック1の長軸径が先に前記開の周囲のアール部に当るわけであるが、当って引き上げても引っかかって動かない時にさらに荷重が加わったまま引き上げると吊フック1が傾くように力がかかり、傾くことにより接触部の位置が変わり回転を促し、近似楕円形状の前記開口に入りやすくなる。又、吊下げ時は搬送箱(段ボール箱等)が接地し、吊フック1の吊ワイヤーが緩んだ時に吊フック1の自重で吊フック1中央の吊フック傾斜部1aが吊金具の上部(4a、5a)に当接することで吊金具(4、5)の吊金具の開口(4b、5b)から滑り落ち、自動的に吊フック1が傾くことにより、再び吊フック1が吊金具(4、5)に引っかからないようになっている。
第二の実施例においては、
図14、15、16は、吊フックの両側面の近似楕円形状の略長軸を中心とした凸部を中心上部から左右に中心軸近くまで設けている。吊フックが収納口に入る時に先に凸部が開口周囲に接触するため摩擦力が小さく、回転を促しやすくなっている。そして、図17、図18に示すように、前記ウインチケースの収納部入口の近似楕円形状の開口縁部に、前記近似楕円形状の開口の短軸を跨いで前記吊フックの一対の位置規制部材を前記近似楕円形状の開口の中心に点対称で設けている。吊フックの位置規制部材は一方が高く他方側に向って傾斜し、前記傾斜した面には少しアールをつけている。前記凸部の前記傾斜面と頂部を中心とした反対側も傾斜している。
吊フックが収納される時に吊フックの近似楕円形状の長軸と収納口の近似楕円形状の開口の短軸が特に直角方向になった時に吊フックが前記位置規制部材の傾斜面に乗り上げることにより吊フックに回転を促すことで近似楕円形状の開口から収納ケースにスムーズに収納することができる。
【符号の説明】
(【0011】以降は省略されています)
この特許をJ-PlatPat(特許庁公式サイト)で参照する
関連特許
ライセン株式会社
飛行体用ウインチ吊フック
今日
個人
自走手摺
4か月前
個人
転落防止階段
28日前
個人
小型クレーン
22日前
ユニパルス株式会社
吊具
5か月前
個人
海上コンテナ昇降装置
11か月前
ユニパルス株式会社
荷役装置
10か月前
株式会社いうら
車椅子用昇降機
4か月前
株式会社豊田自動織機
産業車両
2か月前
株式会社豊田自動織機
荷役車両
11か月前
株式会社豊田自動織機
荷役車両
10か月前
水戸工業株式会社
吊り具
7か月前
ユニパルス株式会社
リフト装置
6か月前
株式会社大林組
安全支援システム
3か月前
個人
垂直自動搬送機
2か月前
株式会社伊藤
滑り止め装置
3か月前
白山工業株式会社
バランサ
8か月前
愛知製鋼株式会社
受け架台
3か月前
ユニパルス株式会社
荷役助力装置
4か月前
ユニパルス株式会社
荷役助力装置
7か月前
個人
エアバック式レスキュー用品
1か月前
ユニパルス株式会社
荷役助力装置
5か月前
岐阜工業株式会社
運搬台車
29日前
大栄産業株式会社
クランプ
6か月前
個人
アウトリガー用転倒防止ベース
21日前
株式会社キトー
タイヤ用吊具
7か月前
株式会社ユピテル
システム等
7か月前
株式会社豊田自動織機
フォークリフト
2か月前
株式会社豊田自動織機
フォークリフト
9か月前
中国計量大学
電子安全クランプ
1か月前
大和ハウス工業株式会社
吊上具
3か月前
フジテック株式会社
エレベータ
10か月前
株式会社キトー
コンテナ吊り具
1日前
新英運輸株式会社
自動車用台車
7か月前
株式会社五十鈴製作所
搬送装置
5か月前
山崎産業株式会社
手摺り拭用器具
2か月前
続きを見る
他の特許を見る