TOP
|
特許
|
意匠
|
商標
特許ウォッチ
Twitter
他の特許を見る
10個以上の画像は省略されています。
公開番号
2025171411
公報種別
公開特許公報(A)
公開日
2025-11-20
出願番号
2024076734
出願日
2024-05-09
発明の名称
ハッカーの外れ止め装置およびハッカー
出願人
イーグルクランプ株式会社
代理人
個人
主分類
B66C
1/14 20060101AFI20251113BHJP(巻上装置;揚重装置;牽引装置)
要約
【課題】ハッカーの玉掛部に通した吊り材が不慮に外れることを防止する外れ止め装置を提供する。
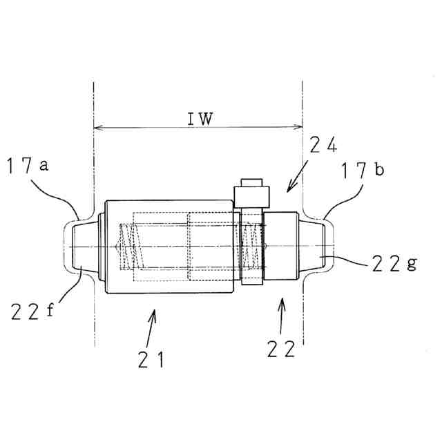
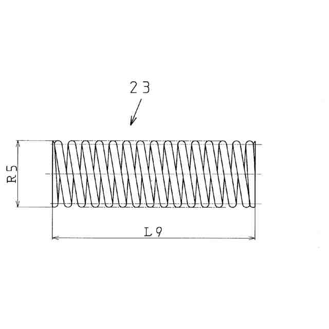
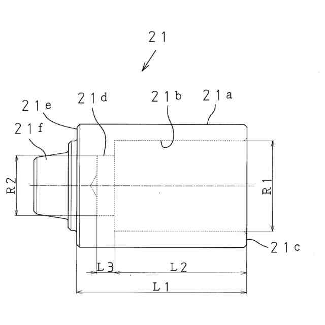
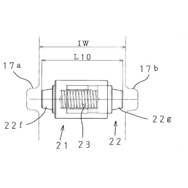
【解決手段】外筒体21と外筒体22と圧縮バネ23と結束バンド24とからなるハッカー10の外れ止め装置20。外筒体は、一方のフック内面凹部17aに嵌入可能な外筒突起21fと、内筒体を収容可能な外筒内径空間21bを有する。内筒体は、他方のフック内面凹部17bに嵌入可能な内筒突起22gと、結束バンドを係止可能な環状溝22eと、圧縮バネを収容可能な内筒内径空間22bを有する。圧縮バネを収縮させて軸長をハッカー内幅IWより小さくした状態で外筒突起と内筒突起をフック内面凹部に嵌入させた装着状態が得られ、環状溝に係止した結束バンドによって保持される。
【選択図】図6
特許請求の範囲
【請求項1】
一対のフック部の上端同士が玉掛部で連結されて閉止されてなるハッカーにおいて、一対のフック部の間に架け渡すように装着および取り外し可能に設けられる外れ止め装置であって、外筒体と、内筒体と、圧縮バネと、保持部材とから構成され、
外筒体には、一方のフック部の内面に形成された凹部に嵌入可能な外筒突起がその外側端から突出して設けられると共に、内筒体を収容可能な外筒内径空間が形成され、
内筒体には、他方のフック部の内面に形成された凹部に嵌入可能な内筒突起がその外側端から突出して設けられると共に、所定の軸方向位置に保持部材を係止可能な係止部が形成され、且つ、圧縮バネを収容可能な内筒内径空間が形成され、
圧縮バネが内筒内径空間に収容され且つ内筒体が外筒内径空間に収容された状態において、圧縮バネがそのバネ力に抗して縮小したときに、外筒突起の外端から内筒突起の外端までの軸長がハッカー内幅より小さくなって装着可能状態となり、この装着可能状態から圧縮バネがそのバネ力で復元して伸長したときに、外筒突起が前記一方のフック部内面の凹部に嵌入されると共に内筒突起が前記他方のフック部内面の凹部に嵌入された装着状態となり、この装着状態が、内筒体の係止部に係止された保持部材によって保持されることを特徴とする、ハッカーの外れ止め装置。
続きを表示(約 350 文字)
【請求項2】
内筒内径空間は圧縮バネの外径と略同一の内径を有し、外筒体の内径空間は内筒体の外形と略同一の内径を有することを特徴とする、請求項1記載のハッカーの外れ止め装置。
【請求項3】
外筒体内径空間の奥方に連続して、圧縮バネの外形と略同一の内径を有するバネ先端収容部が形成されることを特徴とする、請求項2記載のハッカーの外れ止め装置。
【請求項4】
内筒体の前記係止部は、内筒体の所定軸方向位置に形成された環状溝であり、前記位置保持部材は、この環状溝に係止可能な結束バンドであることを特徴とする、請求項1ないし3のいずれか記載のハッカーの外れ止め装置。
【請求項5】
請求項1ないし3のいずれか記載の外れ止め装置を備えたハッカー。
発明の詳細な説明
【技術分野】
【0001】
本発明は、ワーク(鋼板、形鋼、鋼管などの吊荷)を吊り上げ・運搬するために用いられるハッカーに関し、より詳しくは、玉掛部からワイヤーやスリングなどの吊材の脱落を防止する外れ止め装置およびハッカーに関する。
続きを表示(約 2,300 文字)
【背景技術】
【0002】
ワークを吊り上げ・運搬するためにハッカーと呼ばれる吊り具が用いられている(特許文献1参照)。特許文献1に記載されるハッカー(図1)は、キルド鋼を熱間または冷間で鍛造・曲げ加工することにより成形された2本爪タイプであり、正面視略逆U字形に形成された玉掛部の両端に一対のフック部が所定の間隔をおいて互いに略平行に延長するように設けられ、各フック部の先端は所定角度(たとえば約90度)で折曲して爪部を形成している。
【0003】
特許文献1の図2には、このハッカーを対で用いて角鋼管(コラム)を吊り上げるときの用例が示されている。クレーンに吊り下げられた吊環にカップリングを介して連結したスリングチェーンやワイヤロープなどの吊り材をハッカーの玉掛部に通し、これらハッカーの爪部を角鋼管の両端から内径空間に奥深くまで挿入した状態でクレーンで吊り上げることにより、ハッカーの爪部上面を角鋼管の上内面に係止させて、角鋼管Wを吊り上げ・運搬することができる。
【0004】
クレーンを巻き下げて所定場所にワーク(この例では角鋼管)を吊り下ろした後にハッカーをワークから取り外す際に吊り材が緩んでいるときや、保管時などに、玉掛部に係止されていた吊り材が一対のフック部間を通り抜けて、ハッカーから外れてしまうことがあるため、このハッカーには外れ止め1が着脱可能に架け渡されている。
【0005】
特許文献1記載のハッカーに設けられる外れ止めについて図9(特許文献1の図8と実質同一内容)を参照して説明すると、この外れ止め1は、外れ止めボルト2と、外れ止めボルト2を進退自在に螺着する外れ止めナット3と、外れ止めボルト2と外れ止めボルト3との間で進退自在に外れ止めボルト2に螺着される移動ナット4とを有する。外れ止めボルト2の外面には丸ワッシャー5が固着され、外れ止めボルト2の外側端軸部2aは丸ワッシャー6aを超えてその外側に突出している。同様に、外れ止めナット3の外面には丸ワッシャー6が固着され、外れ止めナット3の外側端軸部3aは丸ワッシャー6を超えてその外側に突出している。外れ止めボルト2の内方に突出延長する主軸部2bは、外れ止めナット3の雌ネジ部3bに入り込んで螺合している。
【0006】
この外れ止め1は、移動ナット4を間に密着させて外れ止めボルト2を外れ止めナット3の最奥までねじ込んだとき(図9(a))に最も短い軸長を有することになり、このときの外れ止め1の軸長は、ハッカーのフック内面7a,7b間の間隔(ハッカー内幅)より若干短くなる。これにより、外れ止め1はハッカーに対して着脱可能になるので、外れ止め1を外した状態で、ワークの吊り上げに際してワイヤーやスリングなどの吊材を玉掛部に係止する作業、および、ワークを所定場所に吊り下ろした後に吊材を玉掛部から外す作業を容易に行うことができる。
【0007】
この状態から、外れ止めナット3を外れ止めボルト2に対して緩める方向に回転させると、外れ止めボルト2と外れ止めナット3が互いに離れる方向に移動して徐々に軸長が長くなり、図9(b)に示すように、外れ止めボルト2の外側端軸部2aが一方のフック内面7aに形成した凹部8aに入り込むと共に、外れ止めナット3の外側端軸部3bが他方のフック内面7bに形成した凹部8bに入り込む。このとき、外れ止め5の両端に設けられた丸ワッシャー5,6は、両フック内面7a,7bに密接する。
【0008】
この状態から、移動ナット4を外れ止めボルト2の主軸部2bに沿って移動させて外れ止めナット3に密接するまで締め上げることにより、外れ止めナット3が緩む方向に回転することが防止され、外れ止め1がフック内面7a,7b間に固定される(図9(c))。これにより、ハッカーを用いてワークを吊り上げ・運搬した後にワークを着地させて無負荷状態としたときに、玉掛部に掛けたスリングチェーンやワイヤロープなどの吊材がハッカーから不慮に外れることを防止することができる。
【先行技術文献】
【特許文献】
【0009】
特開2015-098387号公報
【発明の概要】
【発明が解決しようとする課題】
【0010】
本出願人は、上記構成の外れ止めを採用したハッカーを長年に亘って製造販売しており、良好な外れ止め効果が得られることが確認できたものの、なお改良の余地があることを知見した。上記構成の外れ止めは、外れ止めナット3を外れ止めボルト2から離れる方向に移動させて、これらの外面に固着した丸ワッシャー5,6をフック内面7a,7bに密着させ、この位置関係を移動ナット4で維持しようとするものであるが、外れ止めナット3を強く回しすぎると丸ワッシャー5,6aがフック内面7a,7bを強い力で押圧してフック内面7a,7b同士の間隔(ハッカー内幅)を拡げる方向にハッカーを変形させてしまうことがあった。反対に、外れ止めナット3の回転が不十分であると、丸ワッシャー5,6とフック内面7a,7bの間に隙間が生じ、吊り上げ・運搬作業中にガタついて大きな騒音が発生する。これらの不都合が生じないようにするためには、外れ止めナット3を回す際に適正にトルク管理する必要があるが、作業現場では困難を伴う作業であった。
(【0011】以降は省略されています)
この特許をJ-PlatPat(特許庁公式サイト)で参照する
関連特許
個人
自走手摺
4か月前
個人
転落防止階段
29日前
個人
小型クレーン
23日前
ユニパルス株式会社
吊具
5か月前
個人
海上コンテナ昇降装置
11か月前
ユニパルス株式会社
荷役装置
10か月前
株式会社いうら
車椅子用昇降機
4か月前
ユニパルス株式会社
リフト装置
6か月前
株式会社豊田自動織機
産業車両
2か月前
株式会社豊田自動織機
荷役車両
11か月前
株式会社豊田自動織機
荷役車両
10か月前
水戸工業株式会社
吊り具
7か月前
愛知製鋼株式会社
受け架台
3か月前
ユニパルス株式会社
荷役助力装置
7か月前
個人
エアバック式レスキュー用品
1か月前
ユニパルス株式会社
荷役助力装置
4か月前
白山工業株式会社
バランサ
8か月前
個人
垂直自動搬送機
2か月前
大栄産業株式会社
クランプ
6か月前
株式会社大林組
安全支援システム
3か月前
株式会社伊藤
滑り止め装置
3か月前
ユニパルス株式会社
荷役助力装置
5か月前
岐阜工業株式会社
運搬台車
1か月前
個人
アウトリガー用転倒防止ベース
22日前
株式会社キトー
タイヤ用吊具
7か月前
株式会社ユピテル
システム等
7か月前
株式会社キトー
コンテナ吊り具
2日前
新英運輸株式会社
自動車用台車
7か月前
株式会社豊田自動織機
フォークリフト
2か月前
株式会社五十鈴製作所
搬送装置
5か月前
フジテック株式会社
エレベータ
10か月前
中国計量大学
電子安全クランプ
2か月前
株式会社豊田自動織機
フォークリフト
9か月前
大和ハウス工業株式会社
吊上具
3か月前
山崎産業株式会社
手摺り拭用器具
2か月前
中坪造園有限会社
吊り荷降ろし具
6か月前
続きを見る
他の特許を見る